公布日:2023.09.01
申請日:2023.07.17
分類號:B01D29/56(2006.01)I;B01D29/82(2006.01)I;B01D29/96(2006.01)I;B01D29/94(2006.01)I
摘要
本發明涉及一種造紙廢水處理回收裝置及回收方法,屬于污水處理技術領域,包括多個污泥過濾網、多個扇形側面封閉外殼、旋轉聯動結構、多個環形陣列式部件卡槽以及彈性供壓結構。該造紙廢水處理回收裝置及回收方法,利用驅動電機的動力,使得造紙廢水中的纖維能夠從廢水中以擠壓的形式分離,分離效果明顯,從而提高了纖維的資源回收利用率,而且能對廢水進行過濾,增加水源的重復利用次數,提高了對纖維和水的循環利用率,此外,由于其利用同一個驅動電機的動能,能夠實現對廢水的定向驅動、對廢水中纖維的分離以及對纖維的定向排放,從而降低操作步驟以及使用成本,對于動力利用率比較高。

權利要求書
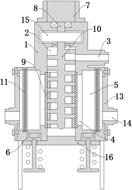
1.一種造紙廢水處理回收裝置,包括底部外圍安裝有支腿的立式筒體(1)、縱向設置于立式筒體(1)中心且底端開口的廢水注入腔(2)、沿水平方向向廢水注入腔(2)頂部區域注入廢水混合物的物料注入口(3)、呈環形陣列式設置于廢水注入腔(2)圓周面外圍的扇形流動腔(4)、每個扇形流動腔(4)和廢水注入腔(2)在交匯處均安放有纖維過濾網(9),每個扇形流動腔(4)的外圍均設置有一個連通立式筒體(1)對應外圓周側面的扇形過濾腔(5)、倒置式固定安裝于立式筒體(1)頂端的驅動電機(7)以及安放于廢水注入腔(2)內部且隨驅動電機(7)的轉子(8)轉動的螺旋葉輪(10),其特征在于:還包括多個污泥過濾網(11),每個污泥過濾網(11)對應從立式筒體(1)頂端插入于一個扇形過濾腔(5)的內部并將扇形過濾腔(5)分為內、外兩層;多個扇形側面封閉外殼(13),每個扇形側面封閉外殼(13)對應通過螺栓安裝于立式筒體(1)的側面缺口處,且每個扇形側面封閉外殼(13)的底部區域均設置有用于排放扇形過濾腔(5)內部污水的排水口(14);旋轉聯動結構(15),可旋轉式安裝于轉子(8)和螺旋葉輪(10)之間,其內部設置有可控制提供旋轉聯動所需摩擦力的主螺旋彈簧(155);多個環形陣列式部件卡槽(6)以及彈性供壓結構(16),彈性供壓結構(16)中設置有對來自螺旋葉輪(10)旋轉產生的纖維堆積形成底部擠壓,從而防止污水沿堆積的纖維外泄的抵觸擠壓板(161)。
2.根據權利要求1所述的一種造紙廢水處理回收裝置,其特征在于:所述纖維過濾網(9)為扇形狀的板體、且該板體的表面設置有可防止纖維穿過的濾孔。
3.根據權利要求2所述的一種造紙廢水處理回收裝置,其特征在于:所述污泥過濾網(11)為扇形狀的板體、板體的中部區域為通槽結構、且該通槽結構內部嵌入有可防止污泥穿過的海綿過濾芯。
4.根據權利要求3所述的一種造紙廢水處理回收裝置,其特征在于:所述螺旋葉輪(10)隨轉子(8)轉動時,由于其自身螺旋方向產生的驅動輸出方向向下。
5.根據權利要求4所述的一種造紙廢水處理回收裝置,其特征在于:所述旋轉聯動結構(15)包括可隨轉子(8)轉動的柱形殼體(151)以及轉動式安裝于柱形殼體(151)一端面內部且可帶動所述螺旋葉輪(10)轉動的內轉動柱(152),所述內轉動柱(152)圓周面中部設置一表面經過粗糙處理形成的環形摩擦面(153),柱形殼體(151)的內部設置有多個環形陣列且可沿其指向柱形殼體(151)中心線的軸向活動的主板(154),每個主板(154)的一端面均安放一處于壓縮狀態且對主板(154)起到向柱形殼體(151)中心線方向壓力的主螺旋彈簧(155),所述主板(154)的另一端安裝有貫通柱形殼體(151)內部結構、且端部抵觸在環形摩擦面(153)上的主桿(156)。
6.根據權利要求5所述的一種造紙廢水處理回收裝置,其特征在于:所述主桿(156)的端面主于內轉動柱(152)的圓周面時,主板(154)在靠近內轉動柱(152)的端面和用于放置主板(154)空腔在靠近內轉動柱(152)的端面之間存在一定間隙。
7.根據權利要求6所述的一種造紙廢水處理回收裝置,其特征在于:所述彈性供壓結構(16)包括抵觸擠壓板(161)和多個對應插入至部件卡槽(6)內部的柱形插入塊(164),抵觸擠壓板(161)的上端面中心設置有可無縫插入至廢水注入腔(2)底部區域的柱形凸起結構(162),每個柱形插入塊(164)的底端中心均安裝有貫通抵觸擠壓板(161)對應板體且可沿貫通部位(163)滑動的限位桿(166),柱形插入塊(164)的內部嵌入有可吸附在鐵制立式筒體(1)底部的永磁體(165),每個限位桿(166)的底端均安裝有一個限位板體(167),限位桿(166)的桿體外圍套放有對抵觸擠壓板(161)產生向上壓力的副螺旋彈簧(168)。
8.根據權利要求7所述的一種造紙廢水處理回收裝置,其特征在于:所述永磁體(165)與立式筒體(1)對應端面之間的吸力大于主螺旋彈簧(155)在初始狀態下的彈性強度。
9.根據權利要求8所述的一種造紙廢水處理回收裝置,其特征在于:所述主螺旋彈簧(155)在初始狀態下的彈性強度大于副螺旋彈簧(168)在完全被壓縮時的彈性強度。
10.根據權利要求1-9任意一項所述的一種造紙廢水處理回收裝置的一種回收方法,其特征在于:包括以下步驟:S1:將物料注入口(3)通過管道與排放造紙污水池的排放口通過管道對接,再將排水口(14)與用于儲存過濾后污水的儲存池的進水口通過管道對接;S2:啟動驅動電機(7),螺旋葉輪(10)隨轉子(8)快速轉動,螺旋葉輪(10)可帶動位于廢水注入腔(2)的廢水混合物產生向下流動的狀態,由于廢水注入腔(2)的底部被堵塞,因此,纖維會堆積在廢水注入腔(2)的底部區域,而污水能夠通過纖維過濾網(9)流向扇形過濾腔(5)內部,最后污水中的污泥能夠被污泥過濾網(11)有效阻擋,而過濾后的污水能夠沿排水口(14)流向儲存過濾后污水的儲存池內部,實現水源的回收;S3:由于纖維的不斷堆積,會使得副螺旋彈簧(168)被壓縮,而抵觸擠壓板(161)向下運動,位于柱形凸起結構(162)和螺旋葉輪(10)底部之間的纖維由于處于擠壓狀態,能夠防止污水沿纖維體之間的縫隙泄露,因此,纖維會不斷向下移動堆積,直至副螺旋彈簧(168)完全被壓縮;S4:當驅動電機(7)的轉子無法使得螺旋葉輪(10)繼續隨之轉動時,關閉驅動電機(7)以及停止向物料注入口(3)內部注入污水混合物;S5:向下踩踏抵觸擠壓板(161)的邊緣結構,當踩踏力度大于永磁體(165)與立式筒體(1)對應端面之間的吸力時,彈性供壓結構(16)便能夠脫落,從而取出被擠出的纖維,實現對纖維的回收。
發明內容
解決的技術問題:針對現有技術的不足,本發明提供了一種造紙廢水處理回收裝置及回收方法,利用驅動電機的動力,使得造紙廢水中的纖維能夠從廢水中以擠壓的形式分離,分離效果明顯,從而提高了纖維的資源回收利用率,而且能對廢水進行過濾,增加水源的重復利用次數,提高了對纖維和水的循環利用率,此外,由于其利用同一個驅動電機的動能,能夠實現對廢水的定向驅動、對廢水中纖維的分離以及對纖維的定向排放,從而降低操作步驟以及使用成本,對于動力利用率比較高,解決了上述技術問題。
技術方案:為實現上述目的,本發明提供如下技術方案:一種造紙廢水處理回收裝置,包括底部外圍安裝有支腿的立式筒體、縱向設置于立式筒體中心且底端開口的廢水注入腔、沿水平方向向廢水注入腔頂部區域注入廢水混合物的物料注入口、呈環形陣列式設置于廢水注入腔圓周面外圍的扇形流動腔、每個扇形流動腔和廢水注入腔在交匯處均安放有纖維過濾網,每個扇形流動腔的外圍均設置有一個連通立式筒體對應外圓周側面的扇形過濾腔、倒置式固定安裝于立式筒體頂端的驅動電機以及安放于廢水注入腔內部且隨驅動電機的轉子轉動的螺旋葉輪,還包括多個污泥過濾網,每個污泥過濾網對應從立式筒體頂端插入于一個扇形過濾腔的內部并將扇形過濾腔分為內、外兩層;多個扇形側面封閉外殼,每個扇形側面封閉外殼對應通過螺栓安裝于立式筒體的側面缺口處,且每個扇形側面封閉外殼的底部區域均設置有用于排放扇形過濾腔內部污水的排水口,當卸下扇形側面封閉外殼后,能夠對位于排放扇形過濾腔的污泥進行清理,從而便于下次過濾;旋轉聯動結構,可旋轉式安裝于轉子和螺旋葉輪之間,其內部設置有可控制提供旋轉聯動所需摩擦力的主螺旋彈簧;多個環形陣列式部件卡槽以及彈性供壓結構,彈性供壓結構中設置有對來自螺旋葉輪旋轉產生的纖維堆積形成底部擠壓,從而防止污水沿堆積的纖維外泄的抵觸擠壓板。
通過上述技術方案:利用驅動電機的動力,使得造紙廢水中的纖維能夠從廢水中以擠壓的形式分離,分離效果明顯,從而提高了纖維的資源回收利用率,而且能對廢水進行過濾,增加水源的重復利用次數,提高了對纖維和水的循環利用率,此外,由于其利用同一個驅動電機的動能,能夠實現對廢水的定向驅動、對廢水中纖維的分離以及對纖維的定向排放,從而降低操作步驟以及使用成本,對于動力利用率比較高。
優選的,所述纖維過濾網為扇形狀的板體、且該板體的表面設置有可防止纖維穿過的濾孔。
通過上述技術方案:纖維過濾網能夠使得纖維無法通過,從而引導纖維向下流動,進而形成堆積現象,而污水以及顆粒較小的污泥能夠通過纖維過濾網進入至扇形過濾腔內部,從而實現對纖維的過濾回收效果。
優選的,所述污泥過濾網為扇形狀的板體、板體的中部區域為通槽結構、且該通槽結構內部嵌入有可防止污泥穿過的海綿過濾芯。
通過上述技術方案:污泥過濾網能夠使得污泥無法通過,從而引導污泥形成堆積留在扇形過濾腔內部,進而形成堆積現象,而污水能夠通過排水口向外排放,從而實現對水源的過濾回收效果,通過向上拔出污泥過濾網可對其進行清洗,清洗后的污泥過濾網可再次插入至工作部位。
優選的,所述螺旋葉輪隨轉子轉動時,由于其自身螺旋方向產生的驅動輸出方向向下。
通過上述技術方案:當螺旋葉輪轉動時,能夠對位于其周圍的物質產生向下運動的趨勢,從而實現對污水的定向驅動以及對固體物質的定向壓縮功能。
優選的,所述旋轉聯動結構包括可隨轉子轉動的柱形殼體以及轉動式安裝于柱形殼體一端面內部且可帶動所述螺旋葉輪轉動的內轉動柱,所述內轉動柱圓周面中部設置一表面經過粗糙處理形成的環形摩擦面,柱形殼體的內部設置有多個環形陣列且可沿其指向柱形殼體中心線的軸向活動的主板,每個主板的一端面均安放一處于壓縮狀態且對主板起到向柱形殼體中心線方向壓力的主螺旋彈簧,所述主板的另一端安裝有貫通柱形殼體內部結構、且端部抵觸在環形摩擦面上的主桿,所述主桿的端面主于內轉動柱的圓周面時,主板在靠近內轉動柱的端面和用于放置主板空腔在靠近內轉動柱的端面之間存在一定間隙。
通過上述技術方案:一旦主螺紋桿在旋轉時的扭矩阻力大于主螺旋彈簧的彈性強度時,在繼續的轉動下,主螺旋彈簧無法對主桿形成足夠的壓力,因此,主桿和內轉動柱出現相對轉動現象,從而使得主螺紋桿無法進一步轉動,從而控制對纖維的最大擠壓力度,換而言之,纖維能夠以一定擠壓力度存在,不會導致設備突然脫落,從而保持穩定的工作能力,同時,能夠起到警示作用,一旦纖維無法繼續產生向下移動的趨勢,即可證明此時單次纖維回收量達到設備最大運行范圍,可對纖維進行排放。
優選的,所述彈性供壓結構包括抵觸擠壓板和多個對應插入至部件卡槽內部的柱形插入塊,抵觸擠壓板的上端面中心設置有可無縫插入至廢水注入腔底部區域的柱形凸起結構,每個柱形插入塊的底端中心均安裝有貫通抵觸擠壓板對應板體且可沿貫通部位滑動的限位桿,柱形插入塊的內部嵌入有可吸附在鐵制立式筒體底部的永磁體,每個限位桿的底端均安裝有一個限位板體,限位桿的桿體外圍套放有對抵觸擠壓板產生向上壓力的副螺旋彈簧,所述永磁體與立式筒體對應端面之間的吸力大于主螺旋彈簧在初始狀態下的彈性強度,所述主螺旋彈簧在初始狀態下的彈性強度大于副螺旋彈簧在完全被壓縮時的彈性強度。
通過上述技術方案:被過濾的纖維能夠堆積在柱形凸起結構上端面,由于纖維的不斷堆積,會使得副螺旋彈簧被壓縮,而抵觸擠壓板向下運動,位于柱形凸起結構和螺旋葉輪底部之間的纖維由于處于擠壓狀態,能夠防止污水沿纖維體之間的縫隙泄露,從而既能夠實現纖維的堆積,又不會影響持續的回收工作,使得造紙廢水中的纖維能夠從廢水中以擠壓的形式分離,分離效果明顯,此外,由于其利用同一個驅動電機的動能,能夠實現對廢水的定向驅動、對廢水中纖維的分離以及對纖維的定向排放,從而降低操作步驟以及使用成本,對于動力利用率比較高。
作為本發明的優選的實施方式,S1:將物料注入口通過管道與排放造紙污水池的排放口通過管道對接,再將排水口與用于儲存過濾后污水的儲存池的進水口通過管道對接;S2:啟動驅動電機,螺旋葉輪隨轉子快速轉動,螺旋葉輪可帶動位于廢水注入腔的廢水混合物產生向下流動的狀態,由于廢水注入腔的底部被堵塞,因此,纖維會堆積在廢水注入腔的底部區域,而污水能夠通過纖維過濾網流向扇形過濾腔內部,最后污水中的污泥能夠被污泥過濾網有效阻擋,而過濾后的污水能夠沿排水口流向儲存過濾后污水的儲存池內部,實現水源的回收;S3:由于纖維的不斷堆積,會使得副螺旋彈簧被壓縮,而抵觸擠壓板向下運動,位于柱形凸起結構和螺旋葉輪底部之間的纖維由于處于擠壓狀態,能夠防止污水沿纖維體之間的縫隙泄露,因此,纖維會不斷向下移動堆積,直至副螺旋彈簧完全被壓縮;S4:當驅動電機的轉子無法使得螺旋葉輪繼續隨之轉動時,關閉驅動電機以及停止向物料注入口內部注入污水混合物;S5:向下踩踏抵觸擠壓板的邊緣結構,當踩踏力度大于永磁體與立式筒體對應端面之間的吸力時,彈性供壓結構便能夠脫落,從而取出被擠出的纖維,實現對纖維的回收。
與現有技術相比,本發明提供了一種造紙廢水處理回收裝置及回收方法,具備以下有益效果:該造紙廢水處理回收裝置及回收方法,利用驅動電機的動力,使得造紙廢水中的纖維能夠從廢水中以擠壓的形式分離,分離效果明顯,從而提高了纖維的資源回收利用率,而且能對廢水進行過濾,增加水源的重復利用次數,提高了對纖維和水的循環利用率,此外,由于其利用同一個驅動電機的動能,能夠實現對廢水的定向驅動、對廢水中纖維的分離以及對纖維的定向排放,從而降低操作步驟以及使用成本,對于動力利用率比較高。
(發明人:茆冬生;張立雙;楊偉)






