申請日2016.05.11
公開(公告)日2016.07.20
IPC分類號C02F9/06
摘要
本發明公開了一種高頻脈沖電化學廢水處理系統,包括:第一沉淀池和污水導入管,所述高頻脈沖電化學廢水處理系統還包括第一電化學處理箱體、第二電化學處理箱體、混凝箱體、第二沉淀池、砂濾罐、碳濾罐和第三沉淀池,所述第二電化學處理箱體上部與混凝箱體頂部之間設置有第一管道相連接,所所述砂濾罐設置在第二沉淀池和碳濾罐之間。通過上述方式,本發明所述的高頻脈沖電化學廢水處理系統,污水中絮凝出的顆粒物沉淀下去或者被過濾,得到上清液,適合涂料生產的二次利用,提升了廢水的利用率,過濾和沉淀得到的污染物進行脫水后集中處理,避免了環境污染,整個系統的能耗小,工作效率高。
權利要求書
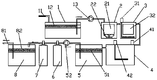
1.一種高頻脈沖電化學廢水處理系統,包括:第一沉淀池和污水導入管,所述污水導入管的末端設置在第一沉淀池的頂部,其特征在于,所述高頻脈沖電化學廢水處理系統還包括第一電化學處理箱體、第二電化學處理箱體、混凝箱體、第二沉淀池、砂濾罐、碳濾罐和第三沉淀池,所述第一電化學處理箱體設置在第一沉淀池和第二電化學處理箱體之間,所述第二電化學處理箱體上部與混凝箱體頂部之間設置有第一管道相連接,所述第一電化學處理箱體內設置有第一高頻脈沖電解絮凝反應器,所述第二電化學處理箱體內設置有第二高頻脈沖電解絮凝反應器,所述混凝箱體和第二沉淀池的上部采用第二管道相連接,所述砂濾罐設置在第二沉淀池和碳濾罐之間,所述碳濾罐和第三沉淀池之間設置有第三管道相連接。
2.根據權利要求1所述的高頻脈沖電化學廢水處理系統,其特征在于,所述第一電化學處理箱體內設置有位于第一高頻脈沖電解絮凝反應器下方的電動波輪。
3.根據權利要求1所述的高頻脈沖電化學廢水處理系統,其特征在于,所述第二電化學處理箱體上設置有第一供氣裝置,所述第一供氣裝置的出氣端設置有延伸至第二高頻脈沖電解絮凝反應器下方的第一排氣管,所述第一排氣管上密布有微孔。
4.根據權利要求1所述的高頻脈沖電化學廢水處理系統,其特征在于,所述第一沉淀池內設置有第一過濾網,所述第二沉淀池內設置有第二過濾網,所述第三沉淀池內設置有第三過濾網。
5.根據權利要求1所述的高頻脈沖電化學廢水處理系統,其特征在于,所述第一電化學處理箱體與第一沉淀池之間設置有第一水泵相連接,所述砂濾罐和第二沉淀池之間設置有第二水泵相連接。
6.根據權利要求1所述的高頻脈沖電化學廢水處理系統,其特征在于,所述第一電化學處理箱體和第二電化學處理箱體的上部采用第四管道相連接。
7.根據權利要求1所述的高頻脈沖電化學廢水處理系統,其特征在于,所述砂濾罐和碳濾罐之間設置有第五管道相連接。
8.根據權利要求1所述的高頻脈沖電化學廢水處理系統,其特征在于,所述混凝箱體上設置有第二供氣裝置,所述第二供氣裝置的出氣端設置有延伸至混凝箱體底部的第二排氣管,所述第二排氣管上密布有微孔。
9.根據權利要求1所述的高頻脈沖電化學廢水處理系統,其特征在于,所述混凝箱體上方設置有助凝劑滴加罐。
10.根據權利要求1所述的高頻脈沖電化學廢水處理系統,其特征在于,所述第三沉淀池中設置有延伸至外部的清液抽取管道。
說明書
一種高頻脈沖電化學廢水處理系統
技術領域
本發明涉及廢水處理領域,特別是涉及一種高頻脈沖電化學廢水處理系統。
背景技術
水性涂料是指用水作溶劑或分散介質的涂料,具有防護性好和耐腐蝕性好等優點,而且與油性涂料相比,水性涂料的生產可以節省資源,生產和使用過程中的污染小,因此應用越來越廣泛。
在涂料的生產過程中,不可避免的要產生部分廢水,廢水中含有污染物,涂料對水質的要求高,無法重復利用,浪費嚴重,而且污水容易對生態環境造成破壞,不能直接排放,需要處理后再排放。
發明內容
本發明主要解決的技術問題是提供一種高頻脈沖電化學廢水處理系統,對廢水進行凈化處理,提升再利用效率,減少環境污染。
為解決上述技術問題,本發明采用的一個技術方案是:提供一種高頻脈沖電化學廢水處理系統,包括:第一沉淀池和污水導入管,所述污水導入管的末端設置在第一沉淀池的頂部,所述高頻脈沖電化學廢水處理系統還包括第一電化學處理箱體、第二電化學處理箱體、混凝箱體、第二沉淀池、砂濾罐、碳濾罐和第三沉淀池,所述第一電化學處理箱體設置在第一沉淀池和第二電化學處理箱體之間,所述第二電化學處理箱體上部與混凝箱體頂部之間設置有第一管道相連接,所述第一電化學處理箱體內設置有第一高頻脈沖電解絮凝反應器,所述第二電化學處理箱體內設置有第二高頻脈沖電解絮凝反應器,所述混凝箱體和第二沉淀池的上部采用第二管道相連接,所述砂濾罐設置在第二沉淀池和碳濾罐之間,所述碳濾罐和第三沉淀池之間設置有第三管道相連接。
在本發明一個較佳實施例中,所述第一電化學處理箱體內設置有位于第一高頻脈沖電解絮凝反應器下方的電動波輪。
在本發明一個較佳實施例中,所述第二電化學處理箱體上設置有第一供氣裝置,所述第一供氣裝置的出氣端設置有延伸至第二高頻脈沖電解絮凝反應器下方的第一排氣管,所述第一排氣管上密布有微孔。
在本發明一個較佳實施例中,所述第一沉淀池內設置有第一過濾網,所述第二沉淀池內設置有第二過濾網,所述第三沉淀池內設置有第三過濾網。
在本發明一個較佳實施例中,所述第一電化學處理箱體與第一沉淀池之間設置有第一水泵相連接,所述砂濾罐和第二沉淀池之間設置有第二水泵相連接。
在本發明一個較佳實施例中,所述第一電化學處理箱體和第二電化學處理箱體的上部采用第四管道相連接。
在本發明一個較佳實施例中,所述砂濾罐和碳濾罐之間設置有第五管道相連接。
在本發明一個較佳實施例中,所述混凝箱體上設置有第二供氣裝置,所述第二供氣裝置的出氣端設置有延伸至混凝箱體底部的第二排氣管,所述第二排氣管上密布有微孔。
在本發明一個較佳實施例中,所述混凝箱體上方設置有助凝劑滴加罐。
在本發明一個較佳實施例中,所述第三沉淀池中設置有延伸至外部的清液抽取管道。
本發明的有益效果是:本發明指出的一種高頻脈沖電化學廢水處理系統,廢水經第一沉淀池的沉淀后,再依次進入第一電化學處理箱體和第二電化學處理箱體進行電解絮凝,使得污染物從水中沉淀出來,然后經過混凝箱體實現化學沉淀,再經過第二沉淀池進行物理沉淀,使得污水中的顆粒物沉淀下去,上部清液再經過砂濾罐、碳濾罐和第三沉淀池的處理,更加純凈,適合涂料生產的二次利用,提升了廢水的利用率,過濾和沉淀得到的污染物進行脫水后集中處理,避免了環境污染,整個系統的能耗小,工作效率高。



