申請日2016.05.27
公開(公告)日2016.12.07
IPC分類號C02F9/02
摘要
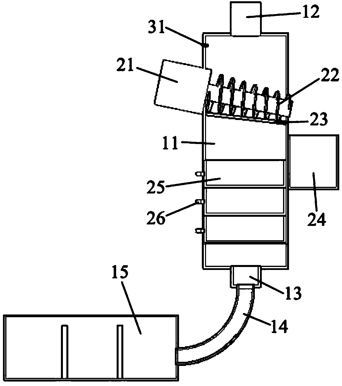
本實用新型提供了一種簡易生活污水處理裝置,包括過濾桶、過水管道、沉淀箱;所述過濾桶頂部設置有進水口、底部設置有出水口,出水口通過過水管道連通至沉淀箱下部;所述過濾桶內上部傾斜向下設置有推送器,推送器為前小后大的螺旋葉軸,推送器后端固定在電機的動力輸出軸上、前端伸出出水口外,出水口外側于電機端部下方位置設置有可拆卸的廢料桶;出水口內于推送器下方位置固定有過濾網;所述出水口中下部設置有多層過濾箱。本實用新型通過推送器的設置,能有效解決生活污水中大體積物體的處理問題,從而提高處理效率、降低處理成本。
摘要附圖
權利要求書
1.一種簡易生活污水處理裝置,包括過濾桶(11)、過水管道(14)、沉淀箱(15),其特征在于:所述過濾桶(11)頂部設置有進水口(12)、底部設置有出水口(13),出水口(13)通過過水管道(14)連通至沉淀箱(15)下部;所述過濾桶(11)內上部傾斜向下設置有推送器(22),推送器(22)為前小后大的螺旋葉軸,推送器(22)后端固定在電機(21)的動力輸出軸上、前端伸出出水口(13)外,出水口(13)外側于電機(21)端部下方位置設置有可拆卸的廢料桶(24);出水口(13)內于推送器(22)下方位置固定有過濾網(23);所述出水口(13)中下部設置有多層過濾箱(25);所述過濾桶(11)內于進水口(12)下方位置設置有光感傳感器(31),光感傳感器(31)正對進水口(12)位置,并通過串聯延時繼電器控制電機(21)啟停。
2.如權利要求1所述的簡易生活污水處理裝置,其特征在于:所述過濾箱(25)中填裝有濾料,且多層過濾箱(25)由上至下濾料更細。
3.如權利要求1所述的簡易生活污水處理裝置,其特征在于:所述過濾箱(25)層數為三層。
4.如權利要求1所述的簡易生活污水處理裝置,其特征在于:所述沉淀箱(15)為三級沉淀。
5.如權利要求1所述的簡易生活污水處理裝置,其特征在于:所述過濾箱(25)外側面上設置有把手(26)。
說明書
一種簡易生活污水處理裝置
技術領域
本實用新型涉及一種簡易生活污水處理裝置。
背景技術
現有技術中對于生活污水的處理,大多僅在于過濾和沉淀,這種方式對于生活污水中體積較大的物體難以進行有效處理,為此往往需要耗費較高的成本以較低的效率。
實用新型內容
為解決上述技術問題,本實用新型提供了一種簡易生活污水處理裝置,該簡易生活污水處理裝置通過推送器的設置,能有效解決生活污水中大體積物體的處理問題,從而提高處理效率、降低處理成本。
本實用新型通過以下技術方案得以實現。
本實用新型提供的一種簡易生活污水處理裝置,包括過濾桶、過水管道、沉淀箱;所述過濾桶頂部設置有進水口、底部設置有出水口,出水口通過過水管道連通至沉淀箱下部;所述過濾桶內上部傾斜向下設置有推送器,推送器為前小后大的螺旋葉軸,推送器后端固定在電機的動力輸出軸上、前端伸出出水口外,出水口外側于電機端部下方位置設置有可拆卸的廢料桶;出水口內于推送器下方位置固定有過濾網;所述出水口中下部設置有多層過濾箱;所述過濾桶內于進水口下方位置設置有光感傳感器,光感傳感器正對進水口位置,并通過串聯延時繼電器控制電機啟停。
所述過濾箱中填裝有濾料,且多層過濾箱由上至下濾料更細。
所述過濾箱層數為三層。
所述沉淀箱為三級沉淀。
所述過濾箱外側面上設置有把手。
本實用新型的有益效果在于:通過推送器的設置,能有效解決生活污水中大體積物體的處理問題,從而提高處理效率、降低處理成本。


