申請日2016.05.27
公開(公告)日2016.12.07
IPC分類號C02F9/14
摘要
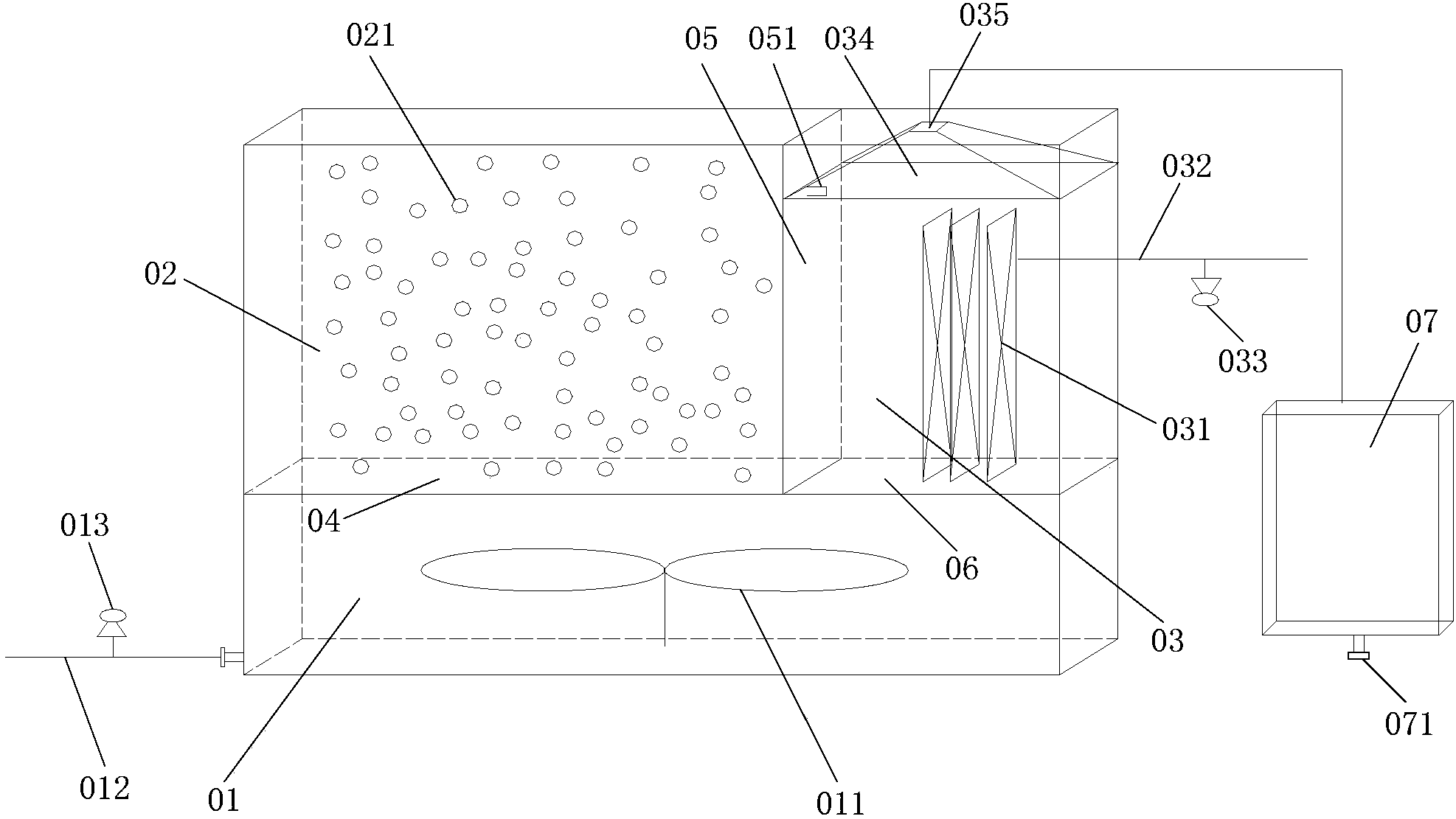
本實用新型實施例公開了一種污水生化處理裝置,包括:進水室、厭氧反應室及MBR膜系統間,厭氧反應室及MBR膜系統間設置于進水室上方,厭氧反應室與進水室由第一網板隔開,MBR膜系統間與厭氧反應室及進水室分別由第一隔板、第二隔板隔開,第一隔板上部設置有氣水出口,進水室內部設置有攪拌器,底部設置有污水進水口,厭氧反應室中裝填有固定化厭氧菌顆粒,MBR膜系統間內部設置有MBR膜組件,MBR膜系統間上部設置有氣水分離器,氣水分離器頂部設置有出氣口,底部設置有出水口。采用本方案可以大大減少MBR膜組件的膜負荷和膜污染,進而提高污水處理效率,降低處理成本。
摘要附圖
權利要求書
1.一種污水生化處理裝置,其特征在于,包括:進水室、厭氧反應室及MBR膜系統間,其中,
所述厭氧反應室及MBR膜系統間設置于所述進水室上方,所述厭氧反應室與所述進水室由第一網板隔開,所述MBR膜系統間與所述厭氧反應室及所述進水室分別由第一隔板、第二隔板隔開,所述第一隔板上部設置有氣水出口,所述氣水出口以第二網板覆蓋;
所述進水室內部設置有攪拌器,底部設置有污水進水口,連接有污水進水管,所述污水進水管上設置有進水水泵;
所述厭氧反應室中裝填有固定化厭氧菌顆粒;
所述MBR膜系統間內部設置有MBR膜組件,所述MBR膜組件與穿過裝置側壁進入MBR膜系統間的污水出水管相連,所述污水出水管上設置有出水水泵,所述MBR膜系統間上部設置有氣水分離器,所述氣水分離器與所述氣水出口相連通,所述氣水分離器頂部設置有出氣口,底部設置有出水口。
2.如權利要求1所述的裝置,其特征在于,所述進水室與所述厭氧反應室的高度比為1:(1-2)。
3.如權利要求1所述的裝置,其特征在于,所述第一網板及第二網板的材料為合金材料、有機高分子復合材料或陶瓷材料。
4.如權利要求1所述的裝置,其特征在于,所述第一網板及第二網板的網孔孔徑小于3毫米。
5.如權利要求1所述的裝置,其特征在于,所述攪拌器的葉輪設置在所述進水室高度的1/4-3/4處。
6.如權利要求1所述的裝置,其特征在于,所述的攪拌器的葉輪為:螺帶式、螺桿式、錨式、框式、螺旋槳式、渦輪式、槳式、磁力式、折葉式、變頻雙層式、側入式、推進式或鋸齒式。
7.如權利要求1所述的裝置,其特征在于,所述固定化厭氧菌顆粒的形狀為:片狀、球型、方型、柱型或不規則型。
8.如權利要求1所述的裝置,其特征在于,所述固定化厭氧菌顆粒的粒徑為3-6毫米。
9.如權利要求1所述的裝置,其特征在于,所述MBR膜組件的膜材料為有機過濾膜或無機過濾膜;
所述MBR膜組件的膜型為:平板型、管型、螺旋型或中空纖維型。
10.如權利要求1-9任一項所述的裝置,其特征在于,所述裝置還包括:氣體收集罐,所述氣體收集罐通過管道與所述氣水分離器頂部的出氣口相連。
說明書
一種污水生化處理裝置
技術領域
本實用新型涉及污水處理領域,特別涉及一種污水生化處理裝置。
背景技術
目前,在污水的生化處理技術中,A/O(厭氧-好氧)工藝和MBR(膜生物反應器)膜處理技術被廣泛應用。傳統A/O工藝中的厭氧反應池是開放式的,厭氧反應池中裝填有厭氧活性污泥,利用厭氧活性污泥中含有的厭氧菌對污水進行生化處理。雖然傳統A/O工藝中的厭氧反應池處理污水的能耗低、產出高,但是,由于厭氧活性污泥隨水體流失和傳質性能較差等原因,導致其存在處理效果不理想、污泥產量大、厭氧菌使用壽命短等缺點。
采用MBR膜處理技術與傳統A/O工藝中的厭氧反應池結合的技術,將MBR膜設置在厭氧反應池中,可以高效的進行固液分離,減少厭氧活性污泥隨水體的流失,污泥產量小,過濾效果優于傳統A/O工藝中的二沉池及其他活性污泥法中的過濾裝置。
但是,活性污泥容易造成MBR膜的堵塞現象,大大增加了膜負荷和膜污染,使處理效率降低,處理成本提高。
實用新型內容
本實用新型實施例的目的在于提供一種污水生化處理裝置,用于解決現有的污水生化處理裝置中MBR膜易污染,厭氧菌使用壽命短造成的處理效率低及處理成本高的問題。技術方案如下:
一種污水生化處理裝置,包括:進水室、厭氧反應室及MBR膜系統間,其中,
所述厭氧反應室及MBR膜系統間設置于所述進水室上方,所述厭氧反應室與所述進水室由第一網板隔開,所述MBR膜系統間與所述厭氧反應室及所述進水室分別由第一隔板、第二隔板隔開,所述第一隔板上部設置有氣水出口,所述氣水出口以第二網板覆蓋;
所述進水室內部設置有攪拌器,底部設置有污水進水口,連接有污水進水管,所述污水進水管上設置有進水水泵;
所述厭氧反應室中裝填有固定化厭氧菌顆粒;
所述MBR膜系統間內部設置有MBR膜組件,所述MBR膜組件與穿過裝置側壁進入MBR膜系統間的污水出水管相連,所述污水出水管上設置有出水水泵,所述MBR膜系統間上部設置有氣水分離器,所述氣水分離器與所述氣水出口相連通,所述氣水分離器頂部設置有出氣口,底部設置有出水口。
其中,所述進水室與所述厭氧反應室的高度比為1:(1-2)。
其中,所述第一網板及第二網板的材料為合金材料、有機高分子復合材料或陶瓷材料。
其中,所述第一網板及第二網板的網孔孔徑小于3毫米。
其中,所述攪拌器的葉輪設置在所述進水室高度的1/4-3/4處。
其中,所述的攪拌器的葉輪為:螺帶式、螺桿式、錨式、框式、螺旋槳式、渦輪式、槳式、磁力式、折葉式、變頻雙層式、側入式、推進式或鋸齒式。
其中,所述固定化厭氧菌顆粒的形狀為:片狀、球型、方型、柱型或不規則型。
在本實用新型的一種實施方式中,所述固定化厭氧菌顆粒的粒徑為3-6毫米。
在本實用新型的一種實施方式中,所述MBR膜組件的膜材料為有機過濾膜或無機過濾膜;
所述MBR膜組件的膜型為:平板型、管型、螺旋型或中空纖維型。
在本實用新型的一種實施方式中,所述裝置還包括:氣體收集罐,所述氣體收集罐通過管道與所述氣水分離器頂部的出氣口相連。
本實用新型的技術方案中,將進水室、厭氧反應室及MBR膜系統間設置為一體化的封閉裝置,通過進水室中攪拌器的攪拌作用,使污水進入厭氧反應室中與固定化厭氧菌顆粒進行生化反應,反應后的污水以及反應產生的氣體通過第一隔板上部的氣水出口進入氣水分離器內,經氣水分離器分離后的液體通過氣水分離器底部的出水口進入MBR膜系統間,通過MBR膜組件的過濾后排出,經分離后的氣體通過氣水分離器頂部的出氣口排出。本實用新型的技術方案中,生化處理裝置占地面積小、出水水質高,由于采用了固定化厭氧菌顆粒,不產生剩余污泥,提高了單位體積內的微生物濃度,大大減少了MBR膜組件的膜負荷和膜污染,進而提高了污水處理效率,延長了厭氧菌的使用壽命,降低了處理成本。


