公布日:2023.10.10
申請日:2023.05.24
分類號:C02F1/04(2023.01)I;C02F1/00(2023.01)I
摘要
本發明公開了一種用于廢水處理的智能一體化MVR蒸發器,包括底座,所述置物臺的頂部安裝有蒸汽壓縮機,所述蒸汽壓縮機的輸出端安裝有輸氣管一,所述槽口的內部嵌合安裝有連接塊一,所述連接塊一的內表面安裝有套筒,所述套筒的內壁安裝有電加熱板一和對稱布置的蓄熱陶瓷,所述電加熱板一位于兩組蓄熱陶瓷的中間,所述連接塊一的外表面安裝有密封墊,所述套筒的內壁安裝有置物板,所述置物板的一側外壁安裝有溫度傳感器。本發明通過設置有底座、蒸汽壓縮機、蓄熱陶瓷、電加熱板一和溫度傳感器,通過溫度傳感器檢測進入連接管一的蒸汽溫度,并在溫度較低時啟動電加熱板一,對蒸汽進行加溫操作,蓄熱陶瓷能夠保存多余的熱量,從而能夠降低能源消耗。

權利要求書
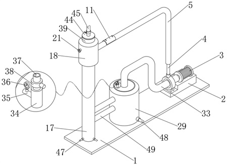
1.一種用于廢水處理的智能一體化MVR蒸發器,包括底座(1),其特征在于:所述底座(1)的頂部安裝有置物臺(2),所述置物臺(2)的頂部安裝有蒸汽壓縮機(3),所述蒸汽壓縮機(3)的輸出端安裝有輸氣管一(4),所述輸氣管一(4)的頂端安裝有連接管一(5),所述連接管一(5)的內部安裝有蓄熱模塊,所述蓄熱模塊包括貫穿設置在連接管一(5)外表面上的槽口(6);所述槽口(6)的內部嵌合安裝有連接塊一(9),所述連接塊一(9)的內表面安裝有套筒(10),所述套筒(10)的內壁安裝有電加熱板一(13)和對稱布置的蓄熱陶瓷(12),所述電加熱板一(13)位于兩組蓄熱陶瓷(12)的中間,所述連接塊一(9)的外表面安裝有密封墊(11),所述套筒(10)的內壁安裝有置物板(14),且置物板(14)位于其中一組蓄熱陶瓷(12)的一側;所述置物板(14)的一側外壁安裝有溫度傳感器(15),所述密封墊(11)的外表面安裝有對稱布置的拉環(16);所述底座(1)的頂部安裝有蒸發模塊,蒸發模塊包括固定在底座(1)頂部的蒸發器主體(17),蒸發器主體(17)的頂部安裝有連接箱(18),連接箱(18)的內壁安裝有承載板(19),且承載板(19)呈“C”字形結構,承載板(19)的頂部安裝有儲水箱(20),連接箱(18)的外表面安裝有進水管(21),且進水管(21)的一端延伸進儲水箱(20)的內部,儲水箱(20)的底壁安裝有電加熱板二(23),儲水箱(20)的頂部內嵌安裝有透氣網板(22),連接箱(18)的內壁安裝有支撐板一(24),支撐板一(24)的內表面焊接有安裝塊(25),且安裝塊(25)的一端延伸進蒸發器主體(17)的內部,蒸發器主體(17)的內壁安裝有支撐板二(27),且支撐板二(27)的內表面與安裝塊(25)的外表面相連接,支撐板二(27)為多孔結構,且支撐板一(24)和支撐板二(27)均呈圓環結構,蒸發器主體(17)的內壁安裝有陶瓷蓄熱體一(28),且陶瓷蓄熱體一(28)位于支撐板二(27)的上方,底座(1)的頂部安裝有二次蒸發箱(29),且二次蒸發箱(29)位于置物臺(2)和蒸發器主體(17)的中間;所述蒸發器主體(17)的外表面安裝有對稱布置的輸料管一(47),其中一組輸料管一(47)用于將污水循環輸送至進料管(45)內,另一組輸料管一(47)用于將蒸發器主體(17)底部的污水送出,二次蒸發箱(29)的外表面安裝有輸料管二(48),輸料管二(48)用于將二次蒸發箱(29)底部的水送出,二次蒸發箱(29)的外表面安裝有上下布置的輸氣管二(49),且兩組輸氣管二(49)的一端均與蒸發器主體(17)的外表面相連接,輸氣管二(49)用于將蒸發器主體(17)內的蒸汽送入二次蒸發箱(29)內,輸氣管二(49)位于輸料管一(47)和輸料管二(48)的側上方。
2.根據權利要求1所述的一種用于廢水處理的智能一體化MVR蒸發器,其特征在于:所述二次蒸發箱(29)的頂部安裝有壓力檢測模塊,壓力檢測模塊包括安裝在二次蒸發箱(29)頂部的支管一(34),支管一(34)的外表面安裝有支管二(35),支管二(35)的頂部安裝有壓力檢測儀(36),支管一(34)的頂部安裝有泄壓管(37),泄壓管(37)的外表面安裝有泄壓閥(38)。
3.根據權利要求2所述的一種用于廢水處理的智能一體化MVR蒸發器,其特征在于:所述連接箱(18)的頂部安裝有銜接管(39),銜接管(39)的內部設置有過濾清理模塊,過濾清理模塊包括放置在銜接管(39)頂部的銜接板(40),銜接板(40)的內表面安裝有網篩(41),銜接板(40)和銜接管(39)的頂部均設置有插孔(42),插孔(42)的內部嵌合安裝有插桿(43),插桿(43)的頂部安裝有頂蓋(44),頂蓋(44)的頂部安裝有進料管(45),進料管(45)的外表面安裝有電子閥門(46)。
4.根據權利要求3所述的一種用于廢水處理的智能一體化MVR蒸發器,其特征在于:所述蓄熱模塊用于收集蒸汽的熱量,套筒(10)的外直徑與連接管一(5)的內直徑相等,密封墊(11)的尺寸大于槽口(6)的尺寸,密封墊(11)用于提高連接塊一(9)與槽口(6)之間的連接密封性,密封墊(11)的內表面與連接管一(5)的外表面相貼合,槽口(6)呈半圓結構;蒸發模塊用于蒸發掉污水中含帶的水分,進水管(21)用于將水輸送進儲水箱(20)內,電加熱板二(23)用于將儲水箱(20)內的水加熱產生蒸汽對安裝塊(25)進行加熱操作,連接管一(5)的一端與連接箱(18)的外表面相連接,連接管一(5)用于將蒸汽壓縮機(3)壓縮后的蒸汽通過連接管一(5)輸送進連接箱(18)的內部;壓力檢測模塊用于檢測二次蒸發箱(29)內蒸汽壓力大小,壓力檢測儀(36)與泄壓閥(38)電性連接;過濾清理模塊用于過濾從進料管(45)內進入的污水,網篩(41)位于安裝塊(25)的上方,網篩(41)與銜接管(39)相嵌合,網篩(41)與銜接板(40)組合在一起的截面呈“凹”字形結構。
5.根據權利要求1所述的一種用于廢水處理的智能一體化MVR蒸發器,其特征在于:所述槽口(6)的底壁設置有對稱布置的卡槽(7),兩組卡槽(7)的內部均嵌合安裝有密封塊(8),且密封塊(8)的頂部與連接塊一(9)的底部相連接。
6.根據權利要求2所述的一種用于廢水處理的智能一體化MVR蒸發器,其特征在于:所述二次蒸發箱(29)的內壁安裝有陶瓷蓄熱體二(30)和電加熱板三(31),且電加熱板三(31)位于陶瓷蓄熱體二(30)的上方,電加熱板三(31)的內表面安裝有多孔鐵網(32),二次蒸發箱(29)的頂部安裝有連接管二(33),且連接管二(33)位于支管一(34)的一側,連接管二(33)的一端與蒸汽壓縮機(3)的輸入端相連接。
7.根據權利要求1-6任意一項所述的一種用于廢水處理的智能一體化MVR蒸發器的使用方法,其特征在于,該MVR蒸發器的使用方法如下:S1、在使用該智能一體化MVR蒸發器前,首先將銜接板(40)放置在銜接管(39)的頂部,使得網篩(41)能夠與銜接管(39)嵌合,接著將頂蓋(44)放置在銜接管(39)的頂部,并通過插桿(43)和插孔(42)的嵌合來將頂蓋(44)固定在銜接管(39)的上方;S2、在污水進入連接箱(18)內前,通過進水管(21)往儲水箱(20)內輸送水,接著啟動電加熱板二(23),使得電加熱板二(23)能夠對儲水箱(20)內的水進行加熱操作,接著就能夠使加熱產生的水汽透過透氣網板(22)從儲水箱(20)內飄進蒸發器主體(17)內,使得高溫蒸汽能夠包裹在安裝塊(25)的表面;S3、接著根據使用需要啟動置物臺(2)上的蒸汽壓縮機(3),使得蒸發器主體(17)內的蒸汽能夠通過輸氣管二(49)被抽進二次蒸發箱(29)的內部,接著啟動電加熱板三(31),使得電加熱板三(31)能夠對二次蒸發箱(29)進行預熱操作,并通過陶瓷蓄熱體二(30)來降低二次蒸發箱(29)內熱量流失的速度,然后就能夠通過二次蒸發箱(29)來對進入的蒸汽進行二次蒸發操作,使得蒸汽中攜帶的污水水汽能夠落在二次蒸發箱(29)內,起到濃縮污水的作用;S4、進入到二次蒸發箱(29)內的蒸汽會在蒸汽壓縮機(3)的作用下通過連接管二(33)進入蒸汽壓縮機(3)的內部,并在壓縮升溫后通過輸氣管一(4)進入連接管一(5)的內部,隨著蒸汽在連接管一(5)內移動,置物板(14)上的溫度傳感器(15)能夠檢測到進入的蒸汽溫度,當蒸汽溫度較低時,啟動套筒(10)內的電加熱板一(13),從而對蒸汽進行加溫操作,使得蒸汽在經過前后兩組蓄熱陶瓷(12)后再次進入連接箱(18)內,循此往復,起到節能的作用,降低污水蒸發濃縮時的能源消耗。
8.根據權利要求7所述的一種用于廢水處理的智能一體化MVR蒸發器的使用方法,其特征在于,在所述步驟S1中,還包括如下步驟:S11、接著打開電子閥門(46),使得污水能夠通過進料管(45)被輸送進銜接管(39)內,使得污水在經過網篩(41)過濾后進入到連接箱(18)的內部,接著污水就能夠通過安裝塊(25)上的進液管(26)進入蒸發器主體(17)中;在所述步驟S2中,還包括如下步驟:S21、在蒸汽進入蒸發器主體(17)內時,通過陶瓷蓄熱體一(28)來儲存蒸汽中的熱量,從而使蒸發器主體(17)內的溫度能夠保持穩定,提高進液管(26)內污水的蒸發效率;在所述步驟S3中,還包括如下步驟:S31、在蒸汽進入二次蒸發箱(29)內后,隨著蒸汽的不斷進入,其中一部分蒸汽會進入到支管一(34)的內部,并進入支管二(35)中,使得壓力檢測儀(36)能夠檢測支管二(35)中的壓力,當壓力檢測儀(36)檢測到的壓力指數過大時,泄壓閥(38)開啟,蒸汽會從泄壓管(37)內排出,從而能夠降低二次蒸發箱(29)內的蒸汽壓力,降低因蒸汽過多堆積而爆炸的概率,提高該智能一體化MVR蒸發器的使用時的安全性;在所述步驟S4中,還包括如下步驟:S41、當需要更換檢修套筒(10)內的溫度傳感器(15)時,首先向上拉動拉環(16),接著就能夠將密封塊(8)從卡槽(7)內拉出,使得密封墊(11)不再與連接管一(5)貼合,接著就能夠將連接塊一(9)從槽口(6)中拉出,使得套筒(10)不再與槽口(6)以及連接管一(5)嵌合,從而在一定程度上能夠提高檢修的便捷性。
發明內容
本發明的目的在于提供一種用于廢水處理的智能一體化MVR蒸發器,以解決上述背景技術中提出的問題。
為實現上述目的,本發明提供如下技術方案:一種用于廢水處理的智能一體化MVR蒸發器,包括底座,所述底座的頂部安裝有置物臺,所述置物臺的頂部安裝有蒸汽壓縮機,所述蒸汽壓縮機的輸出端安裝有輸氣管一,所述輸氣管一的頂端安裝有連接管一,所述連接管一的內部安裝有蓄熱模塊,所述蓄熱模塊包括貫穿設置在連接管一外表面上的槽口;
所述槽口的內部嵌合安裝有連接塊一,所述連接塊一的內表面安裝有套筒,所述套筒的內壁安裝有電加熱板一和對稱布置的蓄熱陶瓷,所述電加熱板一位于兩組蓄熱陶瓷的中間,所述連接塊一的外表面安裝有密封墊,所述套筒的內壁安裝有置物板,且置物板位于其中一組蓄熱陶瓷的一側;
所述置物板的一側外壁安裝有溫度傳感器,所述密封墊的外表面安裝有對稱布置的拉環。
優選的,所述底座的頂部安裝有蒸發模塊,蒸發模塊包括固定在底座頂部的蒸發器主體,蒸發器主體的頂部安裝有連接箱,連接箱的內壁安裝有承載板,且承載板呈“C”字形結構,承載板的頂部安裝有儲水箱,連接箱的外表面安裝有進水管,且進水管的一端延伸進儲水箱的內部,儲水箱的底壁安裝有電加熱板二,儲水箱的頂部內嵌安裝有透氣網板,連接箱的內壁安裝有支撐板一,支撐板一的內表面焊接有安裝塊,且安裝塊的一端延伸進蒸發器主體的內部,蒸發器主體的內壁安裝有支撐板二,且支撐板二的內表面與安裝塊的外表面相連接,支撐板二為多孔結構,且支撐板一和支撐板二均呈圓環結構,蒸發器主體的內壁安裝有陶瓷蓄熱體一,且陶瓷蓄熱體一位于支撐板二的上方,底座的頂部安裝有二次蒸發箱,且二次蒸發箱位于置物臺和蒸發器主體的中間。
優選的,所述二次蒸發箱的頂部安裝有壓力檢測模塊,壓力檢測模塊包括安裝在二次蒸發箱頂部的支管一,支管一的外表面安裝有支管二,支管二的頂部安裝有壓力檢測儀,支管一的頂部安裝有泄壓管,泄壓管的外表面安裝有泄壓閥。
優選的,所述連接箱的頂部安裝有銜接管,銜接管的內部設置有過濾清理模塊,過濾清理模塊包括放置在銜接管頂部的銜接板,銜接板的內表面安裝有網篩,銜接板和銜接管的頂部均設置有插孔,插孔的內部嵌合安裝有插桿,插桿的頂部安裝有頂蓋,頂蓋的頂部安裝有進料管,進料管的外表面安裝有電子閥門。
優選的,所述蓄熱模塊用于收集蒸汽的熱量,套筒的外直徑與連接管一的內直徑相等,密封墊的尺寸大于槽口的尺寸,密封墊用于提高連接塊一與槽口之間的連接密封性,密封墊的內表面與連接管一的外表面相貼合,槽口呈半圓結構;
蒸發模塊用于蒸發掉污水中含帶的水分,進水管用于將水輸送進儲水箱內,電加熱板二用于將儲水箱內的水加熱產生蒸汽對安裝塊進行加熱操作,連接管一的一端與連接箱的外表面相連接,連接管一用于將蒸汽壓縮機壓縮后的蒸汽通過連接管一輸送進連接箱的內部;
壓力檢測模塊用于檢測二次蒸發箱內蒸汽壓力大小,壓力檢測儀與泄壓閥電性連接;
過濾清理模塊用于過濾從進料管內進入的污水,網篩位于安裝塊的上方,網篩與銜接管相嵌合,網篩與銜接板組合在一起的截面呈“凹”字形結構。
優選的,所述槽口的底壁設置有對稱布置的卡槽,兩組卡槽的內部均嵌合安裝有密封塊,且密封塊的頂部與連接塊一的底部相連接。
優選的,所述二次蒸發箱的內壁安裝有陶瓷蓄熱體二和電加熱板三,且電加熱板三位于陶瓷蓄熱體二的上方,電加熱板三的內表面安裝有多孔鐵網,二次蒸發箱的頂部安裝有連接管二,且連接管二位于支管一的一側,連接管二的一端與蒸汽壓縮機的輸入端相連接。
優選的,所述蒸發器主體的外表面安裝有對稱布置的輸料管一,其中一組輸料管一用于將污水循環輸送至進料管內,另一組輸料管一用于將蒸發器主體底部的污水送出,二次蒸發箱的外表面安裝有輸料管二,輸料管二用于將二次蒸發箱底部的水送出,二次蒸發箱的外表面安裝有上下布置的輸氣管二,且兩組輸氣管二的一端均與蒸發器主體的外表面相連接,輸氣管二用于將蒸發器主體內的蒸汽送入二次蒸發箱內,輸氣管二位于輸料管一和輸料管二的側上方。
優選的,該MVR蒸發器的使用方法如下:
S1、在使用該智能一體化MVR蒸發器前,首先將銜接板放置在銜接管的頂部,使得網篩能夠與銜接管嵌合,接著將頂蓋放置在銜接管的頂部,并通過插桿和插孔的嵌合來將頂蓋固定在銜接管的上方;
S2、在污水進入連接箱內前,通過進水管往儲水箱內輸送水,接著啟動電加熱板二,使得電加熱板二能夠對儲水箱內的水進行加熱操作,接著就能夠使加熱產生的水汽透過透氣網板從儲水箱內飄進蒸發器主體內,使得高溫蒸汽能夠包裹在安裝塊的表面;
S3、接著根據使用需要啟動置物臺上的蒸汽壓縮機,使得蒸發器主體內的蒸汽能夠通過輸氣管二被抽進二次蒸發箱的內部,接著啟動電加熱板三,使得電加熱板三能夠對二次蒸發箱進行預熱操作,并通過陶瓷蓄熱體二來降低二次蒸發箱內熱量流失的速度,然后就能夠通過二次蒸發箱來對進入的蒸汽進行二次蒸發操作,使得蒸汽中攜帶的污水水汽能夠落在二次蒸發箱內,起到濃縮污水的作用;
S4、進入到二次蒸發箱內的蒸汽會在蒸汽壓縮機的作用下通過連接管二進入蒸汽壓縮機的內部,并在壓縮升溫后通過輸氣管一進入連接管一的內部,隨著蒸汽在連接管一內移動,置物板上的溫度傳感器能夠檢測到進入的蒸汽溫度,當蒸汽溫度較低時,啟動套筒內的電加熱板一,從而對蒸汽進行加溫操作,使得蒸汽在經過前后兩組蓄熱陶瓷后再次進入連接箱內,循此往復,起到節能的作用,降低污水蒸發濃縮時的能源消耗。
優選的,在所述步驟S1中,還包括如下步驟:
S11、接著打開電子閥門,使得污水能夠通過進料管被輸送進銜接管內,使得污水在經過網篩過濾后進入到連接箱的內部,接著污水就能夠通過安裝塊上的進液管進入蒸發器主體中;
在所述步驟S2中,還包括如下步驟:
S21、在蒸汽進入蒸發器主體內時,通過陶瓷蓄熱體一來儲存蒸汽中的熱量,從而使蒸發器主體內的溫度能夠保持穩定,提高進液管內污水的蒸發效率;
在所述步驟S3中,還包括如下步驟:
S31、在蒸汽進入二次蒸發箱內后,隨著蒸汽的不斷進入,其中一部分蒸汽會進入到支管一的內部,并進入支管二中,使得壓力檢測儀能夠檢測支管二中的壓力,當壓力檢測儀檢測到的壓力指數過大時,泄壓閥開啟,蒸汽會從泄壓管內排出,從而能夠降低二次蒸發箱內的蒸汽壓力,降低因蒸汽過多堆積而爆炸的概率,提高該智能一體化MVR蒸發器的使用時的安全性;
在所述步驟S4中,還包括如下步驟:
S41、當需要更換檢修套筒內的溫度傳感器時,首先向上拉動拉環,接著就能夠將密封塊從卡槽內拉出,使得密封墊不再與連接管一貼合,接著就能夠將連接塊一從槽口中拉出,使得套筒不再與槽口以及連接管一嵌合,從而在一定程度上能夠提高檢修的便捷性。
與現有技術相比,本發明的有益效果是:
1、本發明通過安裝有底座、蒸汽壓縮機、輸氣管一、連接管一、槽口、套筒、蓄熱陶瓷、電加熱板一和溫度傳感器,在使用該智能一體化MVR蒸發器前,首先將連接塊一放入槽口的內部,使得套筒能夠與連接管一嵌合,并通過密封墊來提高連接塊一與槽口之間的密封性,且在后續使用該智能一體化MVR蒸發器時,啟動置物臺上的蒸汽壓縮機,然后就能夠將二次蒸發箱內的蒸汽通過連接管二抽進輸氣管一的內部,最后輸送進連接管一內,使得置物板上的溫度傳感器能夠檢測進入的蒸汽的溫度,并在溫度較低時啟動套筒內的電加熱板一,然后就能夠對蒸汽進行加溫操作,并通過蓄熱陶瓷將多余的熱量保存起來,最后送入連接箱的內部,從而在一定程度上能夠降低該智能一體化MVR蒸發器使用時的能源消耗。
2、本發明通過安裝有蒸發器主體、連接箱、儲水箱、進水管、透氣網板、電加熱板二、進液管、陶瓷蓄熱體一和二次蒸發箱,在使用該智能一體化MVR蒸發器前,首先通過進水管往儲水箱內輸入足量的水,并啟動電加熱板二,使得電加熱板二能夠對儲水箱內的水進行加熱操作,使得加熱過程中產生的水汽能夠從透氣網板飄進連接箱的內部,最后包裹在安裝塊的表面,然后就可以通過高溫蒸汽來對安裝塊內進液管中的污水進行蒸發濃縮操作,且通過陶瓷蓄熱體一來吸收蒸發器主體內的溫度,從而降低蒸發器主體內溫度流失的速率,進而在一定程度上能夠提高蒸發器主體內污水的蒸發濃縮效率。
3、本發明通過安裝有支管一、支管二、壓力檢測儀、泄壓管和泄壓閥,當蒸發器主體內的蒸汽進入二次蒸發箱的內部后,蒸汽會順著支管一進入支管二的內部,然后就能夠通過壓力檢測儀來對支管二內的壓力進行檢測,當壓力檢測儀檢測到二次蒸發箱內的氣壓指數過大時,泄壓閥開始,蒸汽會從泄壓管內排出,從而在一定程度上能夠提高該智能一體化MVR蒸發器使用時的安全性。
4、本發明通過安裝有銜接管、銜接板、網篩、插孔、插桿、頂蓋、進料管和電子閥門,在使用該智能一體化MVR蒸發器前,首先將網篩放入銜接管的內部,使得網篩能夠與銜接管嵌合,接著就可以將銜接板放置在銜接管的頂部,然后通過插桿和插孔的嵌合來將頂蓋固定在銜接管上,在后續的使用過程中,打開電子閥門,然后就可以通過進料管將污水輸送進銜接管內,并在經由網篩過濾后進入連接箱中。
(發明人:徐慶惠;陳香)






