公布日:2023.10.24
申請日:2023.05.11
分類號:B01D46/30(2006.01)I;B01D46/79(2022.01)I;C02F1/66(2023.01)I;C02F1/00(2023.01)I;C02F101/20(2006.01)N;C02F103/18(2006.01)N
摘要
本發明提供一種燃煤煙氣和脫硫廢水處理裝置,涉及環保技術領域。所述燃煤煙氣和脫硫廢水處理裝置包括:處理箱,具有煙氣進口、煙氣出口以及污水出口;多層凈化組件,分層設置在所述處理箱內,凈化組件用于過濾自所述煙氣進口進入所述處理箱內的燃煤煙氣中的重金屬與顆粒物;噴淋組件,設置在所述處理箱內,用于向凈化組件噴淋脫硫廢水以沖洗凈化組件過濾出的重金屬與顆粒物;其中,所述多層凈化組件還能夠中和脫硫廢水的酸堿度。本發明提供的燃煤煙氣和脫硫廢水處理裝置,解決了現有技術中不能同時處理燃煤電廠發電過程中產生的燃煤煙氣以及燃煤煙氣脫硫后產生的脫硫廢水的問題,使得廢物得到再次利用,降低了燃煤煙氣和脫硫廢水的處理成本。

權利要求書
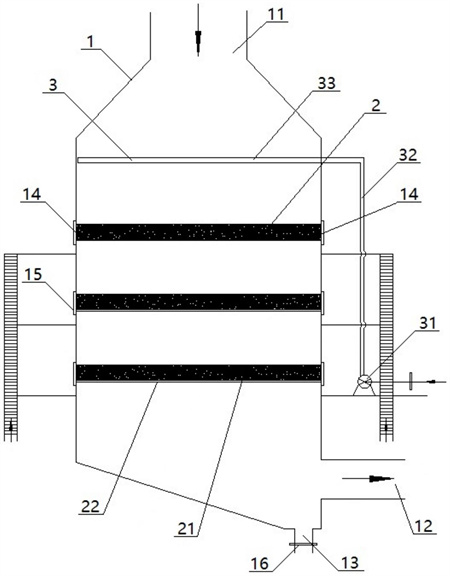
1.一種燃煤煙氣和脫硫廢水處理裝置,其特征在于,所述燃煤煙氣和脫硫廢水處理裝置包括:處理箱(1),具有煙氣進口(11)、煙氣出口(12)以及污水出口(13);多層凈化組件(2),分層設置在所述處理箱(1)內,且每一凈化組件(2)與所述煙氣進口(11)的延伸方向互相垂直,凈化組件(2)用于過濾自所述煙氣進口(11)進入所述處理箱(1)內的燃煤煙氣中的重金屬與顆粒物;噴淋組件(3),設置在所述處理箱(1)內,用于向凈化組件(2)噴淋脫硫廢水以沖洗凈化組件(2)過濾出的重金屬與顆粒物;其中,所述多層凈化組件(2)還能夠中和脫硫廢水的酸堿度;每一凈化組件(2)包括:一對凈化托盤(21)和凈化支架(22);所述凈化支架(22)設置在所述處理箱(1)內,與所述處理箱(1)的箱壁固定;一對凈化托盤(21)活動設置在所述凈化支架(22)上,每一凈化托盤(21)內鋪設有用于過濾燃煤煙氣中重金屬和顆粒物的過濾顆粒的濾材,所述濾材為鋼渣,每一凈化托盤(21)的底部為網狀結構;每一凈化托盤(21)的底部設置有滾輪,所述凈化支架(22)上設置有與滾輪適配的導向軌道(221),每一凈化托盤(21)通過滾輪活動設置在所述凈化支架(22)的導向軌道(221)上;所述處理箱(1)上還具有多對與凈化支架(22)數量對應的托盤進出口(14),每一對托盤進出口(14)對稱開設在凈化支架(22)兩側的處理箱(1)的箱壁上,每一凈化托盤(21)通過對應的托盤進出口(14)進出所述處理箱(1)。
2.根據權利要求1所述的燃煤煙氣和脫硫廢水處理裝置,其特征在于,每一凈化組件(2)還包括:多塊分隔板(23),每一凈化托盤(21)內交叉設置有多個分隔板(23)以將凈化托盤(21)內分隔成多個格柵槽,濾材鋪設在每一格柵槽內。
3.根據權利要求1所述的燃煤煙氣和脫硫廢水處理裝置,其特征在于,所述噴淋組件(3)包括:噴淋泵(31)、主管(32)和多根支管(33);多根支管(33)互相平行設置在所述處理箱(1)內煙氣進口(11)的下方,沿每一支管(33)的延伸方向開設有多個出水口,每一支管(33)與所述主管(32)連通,所述噴淋泵(31)通過所述主管(32)以及每一支管(33)向所述凈化組件(2)噴淋脫硫廢水。
4.根據權利要求1所述的燃煤煙氣和脫硫廢水處理裝置,其特征在于,所述燃煤煙氣和脫硫廢水處理裝置還包括:煙氣濃度檢測器,設置在所述煙氣出口(12),用于檢測過濾后燃煤煙氣的濃度。
5.根據權利要求4所述的燃煤煙氣和脫硫廢水處理裝置,其特征在于,所述燃煤煙氣和脫硫廢水處理裝置還包括:報警器,設置在所述處理箱(1)上,與所述煙氣濃度檢測器電連接,用于根據過濾后燃煤煙氣的濃度發出對應的預警提示。
6.根據權利要求1所述的燃煤煙氣和脫硫廢水處理裝置,其特征在于,所述燃煤煙氣和脫硫廢水處理裝置還包括酸堿度測試儀,設置在所述污水出口(13)處,用于檢測經凈化組件(2)中和后的脫硫廢水的PH值。
發明內容
本發明實施例的目的是提供一種燃煤煙氣和脫硫廢水處理裝置,用于解決現有技術中不能同時處理燃煤電廠發電過程中產生的燃煤煙氣以及燃煤煙氣脫硫后產生的脫硫廢水的問題。
為了實現上述目的,本發明提供一種燃煤煙氣和脫硫廢水處理裝置,所述燃煤煙氣和脫硫廢水處理裝置包括:
處理箱,具有煙氣進口、煙氣出口以及污水出口;
多層凈化組件,分層設置在所述處理箱內,且每一凈化組件與所述煙氣進口的延伸方向互相垂直,凈化組件用于過濾自所述煙氣進口進入所述處理箱內的燃煤煙氣中的重金屬與顆粒物;
噴淋組件,設置在所述處理箱內,用于向凈化組件噴淋脫硫廢水以沖洗凈化組件過濾出的重金屬與顆粒物;
其中,所述多層凈化組件還能夠中和脫硫廢水的酸堿度。
具體地,每一凈化組件包括:一對凈化托盤和凈化支架;
所述凈化支架設置在所述處理箱內,與所述處理箱的箱壁固定;
一對凈化托盤活動設置在所述凈化支架上,每一凈化托盤內鋪設有用于過濾燃煤煙氣中重金屬和顆粒物的過濾顆粒的濾材,每一凈化托盤的底部為網狀結構。
具體地,所述濾材為鋼渣。
具體地,每一凈化組件還包括:多塊分隔板,每一凈化托盤內交叉設置有多個分隔板以將凈化托盤內分隔成多個格柵槽,濾材鋪設在每一格柵槽內。
具體地,每一凈化托盤的底部設置有滾輪,所述凈化支架上設置有與滾輪適配的導向軌道,每一凈化托盤通過滾輪活動設置在所述凈化支架的導向軌道上。
具體地,所述處理箱上還具有多對與凈化支架數量對應的托盤進出口,每一對托盤進出口對稱開設在凈化支架兩側的處理箱的箱壁上,每一凈化托盤通過對應的托盤進出口進出所述處理箱。
具體地,所述噴淋組件包括:噴淋泵、主管和多根支管;
多根支管互相平行設置在所述處理箱內煙氣進口的下方,沿每一支管的延伸方向開設有多個出水口,每一支管與所述主管連通,所述噴淋泵通過所述主管以及每一支管向所述凈化組件噴淋脫硫廢水。
具體地,所述燃煤煙氣和脫硫廢水處理裝置還包括:煙氣濃度檢測器,設置在所述煙氣出口,用于檢測過濾后燃煤煙氣的濃度。
具體地,所述燃煤煙氣和脫硫廢水處理裝置還包括:報警器,設置在所述處理箱上,與所述煙氣濃度檢測器電連接,用于根據過濾后燃煤煙氣的濃度發出對應的預警提示。
具體地,所述燃煤煙氣和脫硫廢水處理裝置還包括:酸堿度測試儀,設置在所述污水出口處,用于檢測經凈化組件中和后的脫硫廢水的PH值。
本發明提供的燃煤煙氣和脫硫廢水處理裝置,在處理箱內設置多層凈化組件,以通過凈化組件過濾自煙氣進口進入處理箱內的燃煤煙氣中的重金屬和顆粒物,為了提高凈化組件的過濾效果,在凈化組件過濾一段時間后,通過噴淋組件向凈化組件上噴淋脫硫廢水,以通過脫硫廢水沖洗凈化組件過濾出的重金屬和顆粒物,確保燃煤煙氣的過濾效果,脫硫廢水在沖洗凈化組件的過程中,凈化組件還能夠中和脫硫廢水的酸堿度以及過濾脫硫廢水中的重金屬,從而完成對燃煤煙氣的過濾處理以及對脫硫廢水酸堿度的中和處理和過濾處理,這樣,不僅過濾了燃煤煙氣中的重金屬和顆粒物,還使得脫硫廢水廢物利用的同時過濾、中和了脫硫廢水,本發明提供的燃煤煙氣和脫硫廢水處理裝置,解決了現有技術中不能同時處理燃煤電廠發電過程中產生的燃煤煙氣以及燃煤煙氣脫硫后產生的脫硫廢水的問題,使得廢物得到再次利用,降低了燃煤煙氣和脫硫廢水的處理成本。
(發明人:周凱;潘楊;夏遠芬;劉晶瑩;石葉佳;楊蓉)






