公布日:2024.04.12
申請日:2024.03.11
分類號:C02F3/30(2023.01)I;B08B9/087(2006.01)I
摘要
本申請涉及污水處理的技術領域,尤其是涉及一種AAO污水處理工藝及其處理設備,包括污泥池,所述污泥池的端部轉動設置有安裝板,所述安裝板上設置有安裝桿,所述安裝桿設置在污泥池內,所述安裝桿繞污泥池的中心設置有多個,所述安裝桿靠近污泥池的一側設置有清理板,所述清理板和污泥池內壁滑動抵接,所述清理板和多個安裝桿對應設置有多組,每組所述清理板在安裝桿上間隔設置,所述清理板在污泥池內傾斜設置,所述清理板的端部與相鄰安裝桿上的兩個相鄰清理板之間的間隙處對應,所述污泥池上設置有驅動組件,所述驅動組件和安裝板連接用于帶動安裝板轉動。本申請具有提升對污泥的清理效率的效果。

權利要求書
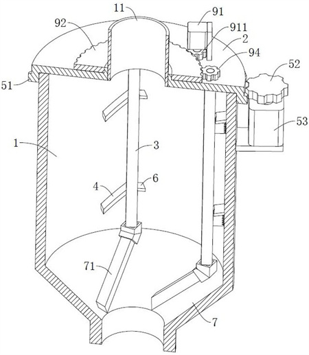
1.一種AAO污水處理設備,包括污泥池(1),其特征在于:所述污泥池(1)的端部轉動設置有安裝板(2),所述安裝板(2)上設置有安裝桿(3),所述安裝桿(3)設置在污泥池(1)內,所述安裝桿(3)繞污泥池(1)的中心設置有多個,所述安裝桿(3)靠近污泥池(1)的一側設置有清理板(4),所述清理板(4)和污泥池(1)內壁滑動抵接,所述清理板(4)和多個安裝桿(3)對應設置有多組,每組所述清理板(4)在安裝桿(3)上間隔設置,所述清理板(4)在污泥池(1)內傾斜設置,所述清理板(4)的端部與相鄰安裝桿(3)上的兩個相鄰清理板(4)之間的間隙處對應,所述污泥池(1)上設置有驅動組件(5),所述驅動組件(5)和安裝板(2)連接用于帶動安裝板(2)轉動,所述安裝板(2)上設置有刮板(8),所述刮板(8)和清理板(4)間隔設置,所述刮板(8)在污泥池(1)內沿豎直方向設置,所述刮板(8)的側面和污泥池(1)側壁滑動抵接,所述刮板(8)在安裝桿(3)上沿豎直方向滑動設置,所述安裝板(2)上設置有用于調節刮板(8)位置的動力組件(9),所述安裝桿(3)內開設有安裝槽(31),所述動力組件(9)包括動力件(91)、中間齒盤(92)、中間桿(93)和中間齒輪(94),所述中間齒盤(92)在安裝板(2)上轉動設置,所述中間桿(93)在安裝槽(31)內轉動設置,所述中間桿(93)的端部延伸至安裝槽(31)的外部和中間齒輪(94)同軸連接,所述中間齒盤(92)和中間齒輪(94)嚙合,所述動力件(91)設置在安裝板(2)上,所述動力件(91)的輸出端設置有和中間齒盤(92)嚙合的動力齒輪(911),所述中間桿(93)上開設有引導槽(931),所述刮板(8)靠近安裝桿(3)的一側設置有引導桿(81),所述引導桿(81)安裝槽(31)內引導槽(931)配合,所述引導槽(931)內不同的位置和引導桿(81)配合用于調節刮板(8)的位置。
2.根據權利要求1所述的AAO污水處理設備,其特征在于:所述引導槽(931)繞中間桿(93)設置呈波紋狀,所述引導桿(81)在引導槽(931)內滑動設置。
3.根據權利要求2所述的AAO污水處理設備,其特征在于:所述刮板(8)和多個清理板(4)對應設置有多組,每兩個刮板(8)為一組,所述引導槽(931)和每組刮板(8)對應設置有兩個,兩個所述引導槽(931)沿中間桿(93)的長度方向間隔設置,所述引導槽(931)的波峰和相鄰引導槽(931)的波谷對應。
4.根據權利要求3所述的AAO污水處理設備,其特征在于:所述刮板(8)靠近污泥池(1)的一側沿豎直方向開設有多個刮槽(82)。
5.根據權利要求4所述的AAO污水處理設備,其特征在于:所述污泥池(1)的底端設置有輸出部(7),所述輸出部(7)外側設置呈兩端呈不同大小端面的圓臺狀,所述輸出部(7)端口大的一端和污泥池(1)連接,小的一端和污泥泵(12)連接。
6.根據權利要求5所述的AAO污水處理設備,其特征在于:所述清理板(4)背離污泥池(1)底部的一端設置有擋板(6),所述擋板(6)沿清理板(4)的轉動方向設置。
7.根據權利要求6所述的AAO污水處理設備,其特征在于:所述驅動組件(5)包括驅動齒圈(51)、驅動齒輪(52)和驅動件(53),所述驅動齒圈(51)套設在安裝板(2)的外部,所述驅動件(53)設置在污泥池(1)的外部,所述驅動齒輪(52)設置在驅動件(53)的輸出端,所述驅動齒輪(52)和驅動齒圈(51)嚙合。
8.一種AAO污水處理工藝,采用如權利要求7所述的AAO污水處理設備,其特征在于,包括如下步驟:污水依次經過厭氧池、缺氧池、好氧池處理后通入至沉淀池內進行沉淀;將沉淀池內的污泥輸送至污泥池(1)內;通過污泥泵(12)將污泥池(1)內的污泥抽出外運處理;驅動件(53)通過安裝板(2)帶動安裝桿(3)和清理板(4)轉動將污泥池(1)內壁上污泥刮除;多個清理板(4)通過其傾斜面依次將刮除后的污泥推送至污泥池(1)的底部,最后通過污泥泵(12)排出。
發明內容
為了提升對污泥的清理效率,本申請提供一種AAO污水處理工藝及其處理設備。
第一方面,本申請提供一種AAO污水處理設備。
采用如下的技術方案:
一種AAO污水處理設備,包括污泥池,所述污泥池的端部轉動設置有安裝板,所述安裝板上設置有安裝桿,所述安裝桿設置在污泥池內,所述安裝桿繞污泥池的中心設置有多個,所述安裝桿靠近污泥池的一側設置有清理板,所述清理板和污泥池內壁滑動抵接,所述清理板和多個安裝桿對應設置有多組,每組所述清理板在安裝桿上間隔設置,所述清理板在污泥池內傾斜設置,所述清理板的端部與相鄰安裝桿上的兩個相鄰清理板之間的間隙處對應,所述污泥池上設置有驅動組件,所述驅動組件和安裝板連接用于帶動安裝板轉動。
通過采用上述技術方案,驅動組件帶動安裝板轉動,安裝板轉動帶動安裝桿和清理板轉動,清理板轉動將污泥池上的污泥刮除同時在其傾斜面的作用下帶動污泥沿朝向污泥池的底部推送,然后在多個清理板的作用下逐漸將污泥全部推送至污泥池的底部,然后通過污泥泵排出,提升對污泥的清理效率。
可選的,所述安裝板上設置有刮板,所述刮板和清理板間隔設置,所述刮板在污泥池內沿豎直方向設置,所述刮板的側面和污泥池側壁滑動抵接,所述刮板在安裝桿上沿豎直方向滑動設置,所述安裝板上設置有用于調節刮板位置的動力組件。
通過采用上述技術方案,在清理板轉動的同時動力組件帶動刮板移動,刮板移動將污泥池上粘附的不易清理的污泥刮除,然后再配合清理板進行清理,提升對污泥的清理效果。
可選的,所述安裝桿內開設有安裝槽,所述動力組件包括動力件、中間齒盤、中間桿和中間齒輪,所述中間齒盤在安裝板上轉動設置,所述中間桿在安裝槽內轉動設置,所述中間桿的端部延伸至安裝槽的外部和中間齒輪同軸連接,所述中間齒盤和中間齒輪嚙合,所述動力件設置在安裝板上,所述動力件的輸出端設置有和中間齒盤嚙合的動力齒輪,所述中間桿上開設有引導槽,所述刮板靠近安裝桿的一側設置有引導桿,所述引導桿安裝槽內引導槽配合,所述引導槽內不同的位置和引導桿配合用于調節刮板的位置。
通過采用上述技術方案,動力件帶動中間齒盤旋轉,中間齒盤旋轉帶動中間桿轉動,中間桿轉動帶動中間槽內不同的位置和引導桿配合,對引導桿的位置進行調節,進而對刮板的位置進行調節。
可選的,所述引導槽繞中間桿設置呈波紋狀,所述引導桿在引導槽內滑動設置。
通過采用上述技術方案,引導槽設置呈波紋狀,在中間桿旋轉時,帶動引導槽內不同的位置和引導桿配合,通過引導桿帶動刮板沿豎直方向做往復滑動運動,以便將污泥池上的污泥刮除。
可選的,所述刮板和多個清理板對應設置有多組,每兩個刮板為一組,所述引導槽和每組刮板對應設置有兩個,兩個所述引導槽沿中間桿的長度方向間隔設置,所述引導槽的波峰和相鄰引導槽的波谷對應。
通過采用上述技術方案,設置兩個引導槽和兩個刮板,在中間桿轉動時同時帶動兩個刮板移動,并且設置引導槽波峰和相鄰引導槽的波谷對應使得兩個刮板沿相反的方向移動,進一步提升污泥池上污泥的刮除效果。
可選的,所述刮板靠近污泥池的一側沿豎直方向開設有多個刮槽。
通過采用上述技術方案,在刮板上開設刮槽,通過刮板以便在其移動時將污泥刮起和污泥池內壁分離,對污泥進行清理。
可選的,所述污泥池的底端設置有輸出部,所述輸出部外側設置呈兩端呈不同大小端面的圓臺狀,所述輸出部端口大的一端和污泥池連接,小的一端和污泥泵連接。
通過采用上述技術方案,設置圓臺狀的輸出部,以便將污泥集中推送至污泥泵處進行集中清理。
可選的,所述清理板背離污泥池底部的一端設置有擋板,所述擋板沿清理板的轉動方向設置。
通過采用上述技術方案,在清理板上設置擋板,在清理板推送擋板移動時,減少在污泥過多時導致部分污泥出現反向移動的現象,提升對污泥的處理效果。
可選的,所述驅動組件包括驅動齒圈、驅動齒輪和驅動件,所述驅動齒圈套設在安裝板的外部,所述驅動件設置在污泥池的外部,所述驅動齒輪設置在驅動件的輸出端,所述驅動齒輪和驅動齒圈嚙合。
通過采用上述技術方案,驅動件通過驅動齒輪旋轉,驅動齒輪帶動驅動齒圈旋轉,驅動齒圈旋轉帶動安裝桿轉動進而帶動清理板旋轉,對污泥進行清理。
第二方面,本申請提供一種AAO污水處理工藝。
采用如下技術方案:
一種AAO污水處理工藝,采用上述AAO污水處理設備,具體包括如下步驟:
污水依次經過厭氧池、缺氧池、好氧池處理后通入至沉淀池內進行沉淀;
將沉淀池內的污泥輸送至污泥池內;
通過污泥泵將污泥池內的污泥抽出外運處理;
驅動件通過安裝板帶動安裝桿和清理板轉動將污泥池內壁上污泥刮除;
多個清理板通過其傾斜面依次將刮除后的污泥推送至污泥池的底部,最后通過污泥泵排出。
(發明人:羅豐;胡志武;吉強;雷明坤;唐偉華;周嫻;周期望)






