公布日:2023.09.22
申請日:2023.07.07
分類號:C02F9/00(2023.01)I;C02F103/36(2006.01)N;C02F1/38(2023.01)N;C02F1/40(2023.01)N;C02F1/00(2023.01)N;C02F11/13(2019.01)N
摘要
酸性水無動力除油除雜裝置及其方法,涉及石油化工技術領域,包括分離器和過濾器,所述分離器通過管線與過濾器連接,所述分離器上通過管線分別連接有酸性污水罐、輕污油收集罐和酸性水罐,所述過濾器上設有純水注入線和氮氣注入線,所述過濾器內部設有過濾袋,所述過濾袋下方設有蒸汽盤管,所述過濾器底部通過管線與酸性水罐連接,所述過濾器頂部通過管線與酸性水罐連接,本裝置工作過程中全程利用外來酸性水輸入的壓力進行工作,沒有使用其他的動力裝置,不消耗電能,在節能降耗方面具有較大優勢,同時本裝置相比其他處理裝置而言產出的污泥為干污泥,可直接裝袋處理,大大降低了處理難度與處理費用。

權利要求書
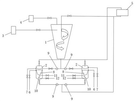
1.一種酸性水無動力除油除雜裝置,包括分離器(1)和過濾器(2),所述分離器(1)通過管線與過濾器(2)連接,其特征在于,所述分離器(1)上通過管線分別連接有酸性污水罐(3)、輕污油收集罐(4)和酸性水罐(5),所述酸性污水罐(3)與分離器(1)連接的管線側向橫切進入分離器(1)內且使得酸性污水罐(3)內的酸性污水進入分離器(1)內部形成漩渦,所述輕污油收集罐(4)和酸性水罐(5)與分離器(1)連接的管線均設在分離器(1)頂部;所述過濾器(2)上設有純水注入線(6)和氮氣注入線(7),所述過濾器(2)內部設有過濾袋(8),所述過濾器(2)底部通過管線與酸性水罐(5)連接,所述過濾器(2)頂部通過管線與酸性水罐(5)連接。
2.如權利要求1所述一種酸性水無動力除油除雜裝置,其特征在于,所述酸性水罐(5)與分離器(1)連接的管線延伸至分離器(1)內中部。
3.如權利要求1所述一種酸性水無動力除油除雜裝置,其特征在于,所述過濾器(2)的數量為兩個,兩個所述過濾器(2)并列設置在分離器(1)底部。
4.如權利要求1所述一種酸性水無動力除油除雜裝置,其特征在于,所述過濾袋(8)下方設有蒸汽盤管(10),所述蒸汽盤管(10)上連接有蒸汽注入管線(11)和凝結水出水管線(12),所述蒸汽注入管線(11)和凝結水出水管線(12)均延伸至過濾器(2)外部。
5.如權利要求1所述一種酸性水無動力除油除雜裝置,其特征在于,所述分離器(1)頂部通過管線與酸性水罐(5)底部連接,所述過濾器(2)底部通過管線與分離器(1)頂部連接酸性水罐(5)的管線連通,所述過濾器(2)頂部通過管線與酸性水罐(5)頂部連接。
6.如權利要求3所述一種酸性水無動力除油除雜裝置,其特征在于,所述過濾器(2)的入口管線和出口管線上均設有壓差監控儀表(9)。
7.一種采用如權利要求16任一所述裝置的除油除雜方法,其特征在于,包括以下步驟:S1:酸性污水罐(3)輸送過來的酸性污水首先進入分離器(1)中,在設備首次投用時,需要打開頂部的污油排放閥排氣至輕污油收集罐(4)內,讓液體將整個分離器(1)全部充滿;S2:酸性污水沿設備橫切線進入,在分離器(1)內形成旋轉流動狀態,在流動過程中,固體雜質由于離心力作用運動到分離器(1)內壁上,沿分離器(1)內壁匯聚到分離器(1)底部,輕污油由于比重較輕,移動至分離器(1)頂部,待運行一段時間后,打開頂部排油閥門,利用設備內部壓力將頂部收集的輕污油排出至輕污油收集罐(4),然后與其他污油一起外送;S3:分離出的固體雜質隨小部分酸性水從分離器(1)底部管線進入過濾器(2)對固體雜質進行過濾;S4:分離器(1)分離完成的酸性水由延伸至分離器(1)內中部位置的管線輸送,與過濾器(2)底部過濾后的酸性水匯合外送至酸性水罐(5);S5:當一臺過濾器(2)的壓差較大時,關閉酸性水進此臺過濾器(2)的閥門,打開酸性水進入另一臺過濾器(2)的閥門,投用另一臺過濾器(2);S6:打開過濾器(2)上的純水注入線(6),置換過濾器(2)內的酸性水;S7:待置換完成后,打開氮氣閥門,關閉純水閥門,將過濾器(2)內的液體全部壓出后關閉過濾器(2)出口閥門;S8:打開蒸汽盤管(10)蒸汽進口閥門與凝結水出口閥門,對過濾器(2)進行加熱;S9:打開過濾器(2)頂部氣體排出閥門,稍開氮氣閥門,維持過濾器(2)內壓力,溫度升高后持續進行45小時干燥處理;S10:干燥處理完成后,關閉蒸汽盤管(10),利用氮氣吹掃對過濾器(2)降溫;S11:溫度下降后,關閉氮氣,過濾器(2)內壓力下降至與酸性水罐(5)內的壓力平衡后,關閉過濾器(2)頂部氣體排出閥門;S12:拆開過濾器(2)頂蓋,拆出過濾袋(8),將過濾袋(8)內的干燥污泥雜質裝袋處理,然后清洗過濾袋(8),將清洗過后的過濾袋(8)重新安裝入過濾器(2)中,蓋合過濾器(2)頂蓋;S13:若另一臺過濾器(2)前后壓差較大需要清理時,重復S5S12步驟。
8.如權利要求7所述的除油除雜方法,其特征在于,所述蒸汽盤管(10)的加熱溫度為80100℃。
發明內容
針對以上現有技術的不足,本發明的目的在于提供一種酸性水無動力除油除雜裝置及其方法,能夠解決以上技術問題。
為了實現上述目的,本發明提供如下技術方案:一種酸性水無動力除油除雜裝置,包括分離器和過濾器,所述分離器通過管線與過濾器連接,所述分離器上通過管線分別連接有酸性污水罐、輕污油收集罐和酸性水罐,所述酸性污水罐與分離器連接的管線側向橫切進入分離器內且使得酸性污水罐內的酸性污水進入分離器內部形成漩渦,所述輕污油收集罐和酸性水罐與分離器連接的管線均設在分離器頂部;所述過濾器上設有純水注入線和氮氣注入線,所述過濾器內部設有過濾袋,所述過濾器底部通過管線與酸性水罐連接,所述過濾器頂部通過管線與酸性水罐連接。
優選地,所述酸性水罐與分離器連接的管線延伸至分離器內中部。
優選地,所述過濾器的數量為兩個,兩個所述過濾器并列設置在分離器底部。
優選地,所述過濾袋下方設有蒸汽盤管,所述蒸汽盤管上連接有蒸汽注入管線和凝結水出水管線,所述蒸汽注入管線和凝結水出水管線均延伸至過濾器外部。
優選地,所述分離器頂部通過管線與酸性水罐底部連接,所述過濾器底部通過管線與分離器頂部連接酸性水罐的管線連通,所述過濾器頂部通過管線與酸性水罐頂部連接。
優選地,所述過濾器的入口管線和出口管線上均設有壓差監控儀表。
一種酸性水無動力除油除雜方法,包括以下步驟:S1:酸性污水罐輸送過來的酸性污水首先進入分離器中,在設備首次投用時,需要打開頂部的污油排放閥排氣至輕污油收集罐內,讓液體將整個分離器全部充滿;S2:酸性污水沿設備橫切線進入,在分離器內形成旋轉流動狀態,在流動過程中,固體雜質由于離心力作用運動到分離器內壁上,沿分離器內壁匯聚到分離器底部,輕污油由于比重較輕,移動至分離器頂部,待運行一段時間后,打開頂部排油閥門,利用設備內部壓力將頂部收集的輕污油排出至輕污油收集罐,然后與其他污油一起外送;S3:分離出的固體雜質隨小部分酸性水從分離器底部管線進入過濾器對固體雜質進行過濾;S4:分離器分離完成的酸性水由延伸至分離器內中部位置的管線輸送,與過濾器底部過濾后的酸性水匯合外送至酸性水罐;S5:當一臺過濾器的壓差較大時,關閉酸性水進此臺過濾器的閥門,打開酸性水進入另一臺過濾器的閥門,投用另一臺過濾器;S6:打開過濾器上的純水注入線,置換過濾器內的酸性水;S7:待置換完成后,打開氮氣閥門,關閉純水閥門,將過濾器內的液體全部壓出后關閉過濾器出口閥門;S8:打開蒸汽盤管蒸汽進口閥門與凝結水出口閥門,對過濾器進行加熱;S9:打開過濾器頂部氣體排出閥門,稍開氮氣閥門,維持過濾器內壓力,溫度升高后持續進行45小時干燥處理;S10:干燥處理完成后,關閉蒸汽盤管,利用氮氣吹掃對過濾器降溫;S11:溫度下降后,關閉氮氣,過濾器內壓力下降至與酸性水罐內的壓力平衡后,關閉過濾器頂部氣體排出閥門;S12:拆開過濾器頂蓋,拆出過濾袋,將過濾袋內的干燥污泥雜質裝袋處理,然后清洗過濾袋,將清洗過后的過濾袋重新安裝入過濾器中,蓋合過濾器頂蓋;S13:若另一臺過濾器前后壓差較大需要清理時,重復S5S12步驟。
優選地,所述蒸汽盤管的加熱溫度為80100℃。
與現有技術相比,本發明的有益效果為:1、本發明的技術方案相比于現有其他的除雜質與除輕污油需要多套設備協同處理的情況,本裝置分離器同時具備了去除酸性水中輕污油與固體雜質的功能,設備占地小,操作簡單。
2、本裝置工作過程中全程利用外來酸性水輸入的壓力進行工作,沒有使用其他的動力裝置,不消耗電能,在節能降耗方面具有較大優勢。
3、本裝置整個運行過程中,少量有害氣體直接進入酸性水罐內,沒有新的外排污水產生,不產生額外的處理難度,在環保方面具有巨大的優勢。
4、對于企業來說,含水分的濕污泥比干燥的污泥處理難度要大得多,濕污泥處理費用也要比干污泥大得多,本裝置相比其他處理裝置而言產出的污泥為干污泥,可直接裝袋處理,大大降低了處理難度與處理費用。
(發明人:劉允鵬;呂爍;初杰;王敏;王玉燕;王佳武)






