公布日:2024.04.12
申請日:2024.03.11
分類號:C02F1/52(2023.01)I;C02F1/38(2023.01)I
摘要
本發明涉及污水絮凝技術領域,具體為一種高效的污水絮凝處理裝置,包括有底座,底座頂部轉動設有絮凝筒,絮凝筒的內部設有投放部,底座的頂部設有提水部。通過旋轉的絮凝筒帶動污水同向旋轉產生漩渦,利用漩渦旋轉產生的吸附力將絮凝劑與污水反應產生的絮凝物進行聚集,通過設置在反應部偏心處進行圓周運動的投放部,來定時定量的對絮凝劑進行投放,且投放的過程中持續流動的污水會擴散絮凝劑的投放面積,從而提高裝置的凈化效率,通過提水板向上移動,此時兩個水密板受到水的重力作用向下翻轉閉合,將絮凝后的水向上刮動,水受到提升后通過多個排水槽流入集水槽的內部,緊接著通過排水管排入外部收集裝置內部,從而快速將絮凝物和污水分離。

權利要求書
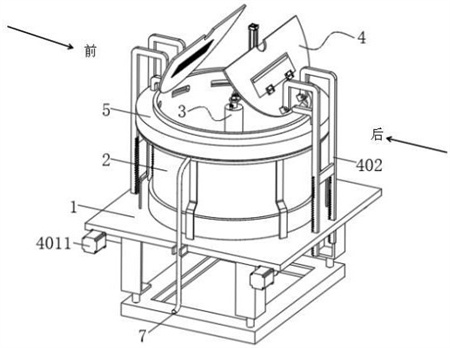
1.一種高效的污水絮凝處理裝置,其特征在于:包括有:底座(1);絮凝筒(2),所述底座(1)頂部轉動設有絮凝筒(2);投放部(3),所述絮凝筒(2)的內部設有投放部(3),所述投放部(3)用于絮凝劑的釋放,所述投放部(3)包括有匡扶架(301),所述匡扶架(301)固定連接在底座(1)的頂部右端,所述匡扶架(301)呈L形設置,所述匡扶架(301)頂壁上固定連接有第一氣缸(302),所述第一氣缸(302)的輸出軸底端固定連接有第二氣缸(303),所述第二氣缸(303)的輸出軸端部固定連接有載板(304),所述載板(304)的頂部固定連接有投放電機(305),所述投放電機(305)的輸出軸活動貫穿載板(304),并延伸至其底部,所述投放電機(305)輸出軸底端固定連接有旋壁(306),所述旋壁(306)底部固定連接有投放筒(307),所述投放筒(307)的外壁上貫穿開設有伸縮槽(308),所述伸縮槽(308)的內部滑動連接有擋板(309),所述擋板(309)的外圍面上開設有多個上下分布的分水孔(3010),所述擋板(309)的頂部開設有布水道(3011),所述布水道(3011)與多個分水孔(3010)相連通,所述投放筒(307)的內壁上部固定連接有漏斗(3015),所述漏斗(3015)的底部出口處固定連接有絮凝閥腔(3016),所述絮凝閥腔(3016)的內部滑動連接有滑閥桿(3017),所述滑閥桿(3017)的外壁上固定連接有一個第一閥塊(3018)以及一個第二閥塊(3019),所述絮凝閥腔(3016)的外壁下部貫穿開設有出水孔(3020),所述出水孔(3020)固定連接有釋放軟管(3021),所述釋放軟管(3021)的另一端與布水道(3011)的頂部連接,所述旋壁(306)的頂部固定連接有壓縮氣筒(3022),所述壓縮氣筒(3022)的左端固定連接有壓縮管(3023),所述壓縮管(3023)遠離壓縮氣筒(3022)的一端固定連接有止逆閥(3024),所述止逆閥(3024)固定連接在投放筒(307)的頂部入口端,所述壓縮氣筒(3022)的外壁上開設有多個吸氣口(3025),所述壓縮氣筒(3022)的內壁上滑動連接有活塞(3026),所述活塞(3026)的右端固定連接有頂桿(3027),所述活塞(3026)的左端固定連接有第二彈簧(3028),所述第二彈簧(3028)的左端與壓縮氣筒(3022)的左壁固定連接,所述載板(304)的底部固定連接有固定套(3029),所述固定套(3029)位于投放電機(305)輸出軸的外圍,所述固定套(3029)的外壁底部固定連接有凸輪塊(3030),所述凸輪塊(3030)的外緣與頂桿(3027)的端部抵接;提水部(4),所述底座(1)的頂部設有提水部(4),所述提水部(4)用于凈水的提取;所述擋板(309)內側面上固定連接有多個第一彈簧(3012),多個所述第一彈簧(3012)遠離擋板(309)的一端共同連接有一個限位板(3013),所述限位板(3013)固定連接在投放筒(307)的內壁上,所述擋板(309)靠近限位板(3013)的一側面固定連接有凸輪座(3014),所述凸輪座(3014)的頂部與滑閥桿(3017)的底部抵接;所述底座(1)的底部固定連接有第一伺服電機(9),所述第一伺服電機(9)的輸出軸活動貫穿底座(1),并延伸至其頂部,所述第一伺服電機(9)的輸出軸頂端與絮凝筒(2)的底部固定連接。
2.根據權利要求1所述的一種高效的污水絮凝處理裝置,其特征在于:所述提水部(4)包括有導向孔(401),所述導向孔(401)數量為四個,四個所述導向孔(401)開設在底座(1)上,所述導向孔(401)的內部均滑動連接有支撐架(402),所述支撐架(402)的頂端鉸接有提水板(404),所述提水板(404)數量為兩個,兩個所述提水板(404)呈前后分布,所述提水板(404)呈半圓形設置,且所述提水板(404)的直徑與絮凝筒(2)的內徑相同,所述提水板(404)的圓心處貫穿開設有弧形凹口(405),所述弧形凹口(405)的直徑與投放筒(307)的外徑相同,所述提水板(404)的頂部開設有讓位槽(406),所述讓位槽(406)的底壁上貫穿開設有過水槽(407),所述提水板(404)的頂部鉸接有水密板(408),所述水密板(408)位于讓位槽(406)的頂部。
3.根據權利要求2所述的一種高效的污水絮凝處理裝置,其特征在于:所述過水槽(407)的內壁上固定連接有濾網(409)。
4.根據權利要求2所述的一種高效的污水絮凝處理裝置,其特征在于:所述提水部(4)還包括有兩個前后分布的第二伺服電機(4011),兩個所述第二伺服電機(4011)固定安裝在底座(1)的側面下部,且兩個所述第二伺服電機(4011)的輸出軸端部均固定連接有扭轉桿(4012),兩個所述扭轉桿(4012)的輸出軸上均固定連接有兩個左右分布的齒輪(4013),所述齒輪(4013)的外圍均嚙合有齒塊(4010),所述齒塊(4010)固定連接在支撐架(402)的內側面上,所述扭轉桿(4012)的外壁上轉動連接有兩個轉動座(4014),兩個所述轉動座(4014)固定連接在底座(1)的表部。
5.根據權利要求1所述的一種高效的污水絮凝處理裝置,其特征在于:所述絮凝筒(2)的外壁上部貫穿開設有多個排水槽(201),多個所述排水槽(201)呈圓周陣列分布,所述絮凝筒(2)的外壁上套設有集水槽(5),所述集水槽(5)位于多個排水槽(201)的外圍,所述集水槽(5)的底部固定連接有多個支撐柱(8),多個所述支撐柱(8)呈圓周陣列分布,且多個所述支撐柱(8)的底部均與底座(1)的頂部固定連接,所述集水槽(5)的外壁上固定連接有排水管(7),所述排水管(7)與集水槽(5)的內部相連通。
6.根據權利要求5所述的一種高效的污水絮凝處理裝置,其特征在于:所述集水槽(5)的頂部固定連接有兩個前后分布的擋塊(6),兩個所述擋塊(6)位于兩個提水板(404)的外圍,且兩個所述擋塊(6)均呈L形設置。
發明內容
為此,本發明提供一種高效的污水絮凝處理裝置,以解決上述的問題。
本發明提供如下技術方案:一種高效的污水絮凝處理裝置,包括有:
底座;
絮凝筒,所述底座頂部轉動設有絮凝筒;
投放部,所述絮凝筒的內部設有投放部,所述投放部用于絮凝劑的釋放,所述投放部包括有匡扶架,所述匡扶架固定連接在底座的頂部右端,所述匡扶架呈L形設置,所述匡扶架頂壁上固定連接有第一氣缸,所述第一氣缸的輸出軸底端固定連接有第二氣缸,所述第二氣缸的輸出軸端部固定連接有載板,所述載板的頂部固定連接有投放電機,所述投放電機的輸出軸活動貫穿載板,并延伸至其底部,所述投放電機輸出軸底端固定連接有旋壁,所述旋壁底部固定連接有投放筒,所述投放筒的外壁上貫穿開設有伸縮槽,所述伸縮槽的內部滑動連接有擋板,所述擋板的外圍面上開設有多個上下分布的分水孔,所述擋板的頂部開設有布水道,所述布水道與多個分水孔相連通,所述投放筒的內壁上部固定連接有漏斗,所述漏斗的底部出口處固定連接有絮凝閥腔,所述絮凝閥腔的內部滑動連接有滑閥桿,所述滑閥桿的外壁上固定連接有一個第一閥塊以及一個第二閥塊,所述絮凝閥腔的外壁下部貫穿開設有出水孔,所述出水孔固定連接有釋放軟管,所述釋放軟管的另一端與布水道的頂部連接,所述旋壁的頂部固定連接有壓縮氣筒,所述壓縮氣筒的左端固定連接有壓縮管,所述壓縮管遠離壓縮氣筒的一端固定連接有止逆閥,所述止逆閥固定連接在投放筒的頂部入口端,所述壓縮氣筒的外壁上開設有多個吸氣口,所述壓縮氣筒的內壁上滑動連接有活塞,所述活塞的右端固定連接有頂桿,所述活塞的左端固定連接有第二彈簧,所述第二彈簧的左端與壓縮氣筒的左壁固定連接,所述載板的底部固定連接有固定套,所述固定套位于投放電機輸出軸的外圍,所述固定套的外壁底部固定連接有凸輪塊,所述凸輪塊的外緣與頂桿的端部抵接;
提水部,所述底座的頂部設有提水部,所述提水部用于凈水的提取。
作為本發明優選的方案,所述擋板內側面上固定連接有多個第一彈簧,多個所述第一彈簧遠離擋板的一端共同連接有一個限位板,所述限位板固定連接在投放筒的內壁上,所述擋板靠近限位板的一側面固定連接有凸輪座,所述凸輪座的頂部與滑閥桿的底部抵接。
作為本發明優選的方案,所述提水部包括有導向孔,所述導向孔數量為四個,四個所述導向孔開設在底座上,所述導向孔的內部均滑動連接有支撐架,所述支撐架的頂端鉸接有提水板,所述提水板數量為兩個,兩個所述提水板呈前后分布,所述提水板呈半圓形設置,且所述提水板的直徑與絮凝筒的內徑相同,所述提水板的圓心處貫穿開設有弧形凹口,所述弧形凹口的直徑與投放筒的外徑相同,所述提水板的頂部開設有讓位槽,所述讓位槽的底壁上貫穿開設有過水槽,所述提水板的頂部鉸接有水密板,所述水密板位于讓位槽的頂部。
作為本發明優選的方案,所述過水槽的內壁上固定連接有濾網。
作為本發明優選的方案,所述提水部還包括有兩個前后分布的第二伺服電機,兩個所述第二伺服電機固定安裝在底座的側面下部,且兩個所述第二伺服電機的輸出軸端部均固定連接有扭轉桿,兩個所述扭轉桿的輸出軸上均固定連接有兩個左右分布的齒輪,所述齒輪的外圍均嚙合有齒塊,所述齒塊固定連接在支撐架的內側面上,所述扭轉桿的外壁上轉動連接有兩個轉動座,兩個所述轉動座固定連接在底座的表部。
作為本發明優選的方案,所述絮凝筒的外壁上部貫穿開設有多個排水槽,多個所述排水槽呈圓周陣列分布,所述絮凝筒的外壁上套設有集水槽,所述集水槽位于多個排水槽的外圍,所述集水槽的底部固定連接有多個支撐柱,多個所述支撐柱呈圓周陣列分布,且多個所述支撐柱的底部均與底座的頂部固定連接,所述集水槽的外壁上固定連接有排水管,所述排水管與集水槽的內部相連通。
作為本發明優選的方案,所述集水槽的頂部固定連接有兩個前后分布的擋塊,兩個所述擋塊位于兩個提水板的外圍,且兩個所述擋塊均呈L形設置。
作為本發明優選的方案,所述底座的底部固定連接有第一伺服電機,所述第一伺服電機的輸出軸活動貫穿底座,并延伸至其頂部,所述第一伺服電機的輸出軸頂端與絮凝筒的底部固定連接。
與現有技術相比,本發明的有益效果是:
1、本發明中,通過設置持續旋轉的絮凝筒,使絮凝筒內的污水同向旋轉產生漩渦,利用漩渦旋轉產生的吸附力將絮凝劑與污水反應產生的絮凝物進行聚集,通過設置在反應部偏心處進行圓周運動的投放部,來定時定量的對絮凝劑進行投放,且投放的過程中持續流動的污水會擴散絮凝劑的投放面積,從而提高裝置的凈化效率。
2、本發明中,通過投放電機驅動旋壁旋轉期間,會帶動壓縮氣筒一同旋轉,使得頂桿沿著固定套的徑向同步轉動,使得在凸輪塊以及第二彈簧的共同配合下推動活塞在壓縮氣筒內部左右擺動,當活塞擺動至右止點時,空氣通過多個吸氣口進入壓縮氣筒的內腔中,隨著活塞的左移,則向左壓縮空氣,將壓縮的空氣通過壓縮管壓入止逆閥內部使得空氣通過止逆閥的輸出端進入投放筒的內部,對投放筒內部進行增壓,從而加快絮凝劑釋放時的排出壓力,從而提高絮凝劑釋放速度。
3、本發明中,通過提水板向上移動,此時兩個水密板受到水的重力作用向下翻轉閉合,兩個提水板將絮凝后的水向上刮動,水受到提升后通過多個排水槽流入集水槽的內部,緊接著通過排水管排入外部收集裝置內部,從而快速將絮凝物和污水分離,隨著提水板的繼續上移,兩個擋塊對抵在提水板的邊緣部位,兩個提水板向上翻轉,便于后續對絮凝筒的內部進行清理。
(發明人:鐘宇翔;燕亞平;張驚宇;汪波;趙杰;孫軼男)






