公布日:2023.11.10
申請日:2023.09.06
分類號:C02F1/00(2023.01)I;B01F27/90(2022.01)I;B01F35/32(2022.01)I;B01D25/12(2006.01)I;C02F103/30(2006.01)N
摘要
本發明涉及紡織設備領域,具體為一種噴水織機廢水收集裝置及其使用方法,包括用于支撐的壓濾裝置,所述壓濾裝置的上端面中心處固定安裝有用于封閉的封蓋卡板,且位于所述封蓋卡板的上端面四角均設置有用于限位的型材支柱。本發明通過設置壓濾裝置,在對噴水織機的廢水進行壓濾時,伺服電機能通過主動同步帶輪和弧形齒同步帶帶動同步帶輪進行轉動,使得同步帶輪能通過連接轉盤和固定卡軸循環的帶動導向裝置在固定箱體內部進行循環的位移,從而配合限位單向閥對固定箱體內部廢水的單向導流,進而對導入至固定箱體內部的廢水進行循環的壓濾,有效提高了設備對廢水進行壓濾處理的效率。

權利要求書
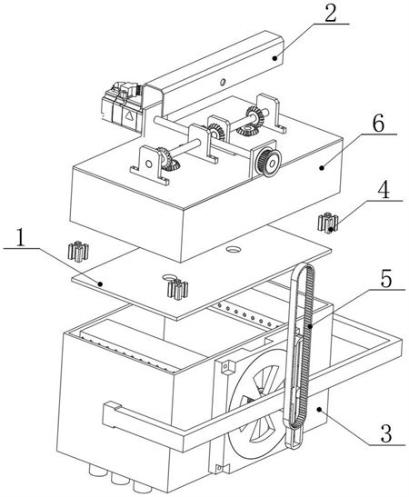
1.一種噴水織機廢水收集裝置,包括用于支撐的壓濾裝置(3),所述壓濾裝置(3)的上端面中心處固定安裝有用于封閉的封蓋卡板(1),且位于所述封蓋卡板(1)的上端面四角均設置有用于限位的型材支柱(4),其特征在于:四組所述型材支柱(4)的上端面中心處固定安裝有混合裝置(6),且位于所述混合裝置(6)的上端面固定設置有用于防護的防護卡罩(2),所述混合裝置(6)與所述壓濾裝置(3)之間通過弧形齒同步帶(5)進行嚙合連接。
2.根據權利要求1所述的一種噴水織機廢水收集裝置,其特征在于:所述壓濾裝置(3)包括用于支撐的固定箱體(38),所述固定箱體(38)的下端面對稱設置有三組用于導液的限位單向閥(37),位于所述固定箱體(38)的前端面中心處固定安裝有限位卡座(36),且位于所述限位卡座(36)的內端面轉動卡接有連接轉盤(33),位于所述連接轉盤(33)的外端面靠近邊緣處設置有固定卡軸(34),且位于所述連接轉盤(33)的內端面中心處固定安裝有同步帶輪(35),所述固定箱體(38)的內端面對稱設置有用于壓濾的過濾擋板(31),且位于所述固定箱體(38)的內端面密封滑動卡接有導向裝置(32)。
3.根據權利要求2所述的一種噴水織機廢水收集裝置,其特征在于:所述導向裝置(32)包括用于壓縮的壓縮導板(323),所述壓縮導板(323)的側端面中心處對稱設置有密封滑軸(322),且位于所述密封滑軸(322)的外端面固定安裝有用于導向的導向滑板(321),位于所述導向滑板(321)的內端面中心處固定設置有限位滑軌(324)。
4.根據權利要求3所述的一種噴水織機廢水收集裝置,其特征在于:所述混合裝置(6)包括用于支撐的混合箱體(612),所述混合箱體(612)的上端面中心處固定設置有密封卡板(610),位于所述密封卡板(610)的內端面對稱轉動卡接有混合葉板(61),且位于所述混合葉板(61)的上端面固定安裝有第一錐形齒輪(62),所述密封卡板(610)的上端面對稱設置有用于限位的固定卡座(69),位于一側的兩組所述固定卡座(69)之間轉動卡接有限位轉軸(68),且位于所述限位轉軸(68)的側端面端頭處設置有第三錐形齒輪(66),位于所述限位轉軸(68)的外端面靠近所述第一錐形齒輪(62)處設置有第二錐形齒輪(63),所述混合箱體(612)的側端面中心處轉動卡接有傳動導軸(65),位于所述傳動導軸(65)的外端面靠近所述第四錐形齒輪(67)處設置有第三錐形齒輪(66),且位于所述傳動導軸(65)的側端面端頭處設置有主動同步帶輪(611),所述混合箱體(612)的后端面正對于所述傳動導軸(65)處設置有伺服電機(64)。
5.根據權利要求3所述的一種噴水織機廢水收集裝置,其特征在于:所述同步帶輪(35)通過所述弧形齒同步帶(5)與所述主動同步帶輪(611)進行嚙合連接,所述第一錐形齒輪(62)與所述第二錐形齒輪(63)進行嚙合連接,且所述第三錐形齒輪(66)與所述第四錐形齒輪(67)進行嚙合連接。
6.根據權利要求3所述的一種噴水織機廢水收集裝置,其特征在于:所述限位滑軌(324)與所述固定卡軸(34)相適配,且所述連接轉盤(33)通過所述限位滑軌(324)與所述固定卡軸(34)相適配進而與所述導向滑板(321)進行滑動卡接,所述混合箱體(612)的底部對稱設置有導液單向閥。
7.根據權利要求3所述的一種噴水織機廢水收集裝置,其特征在于:所述壓縮導板(323)與所述固定箱體(38)的內壁進行密封貼合滑動連接,且所述密封滑軸(322)與所述固定箱體(38)進行密封滑動卡接。
8.根據權利要求1-7任意一項所述的一種噴水織機廢水收集裝置的使用方法,其特征在于:包括以下步驟:S1:對設備進行預裝,使用者可將外部廢水供應管道與混合箱體(612)后部進行對位連接,隨后將藥劑的混合物進行快速導入;S2:在對廢水和藥劑進行混合時,伺服電機(64)能通過第三錐形齒輪(66)帶動第四錐形齒輪(67)和限位轉軸(68)進行轉動,使得限位轉軸(68)能通過第二錐形齒輪(63)帶動第一錐形齒輪(62)進行嚙合連接,進而使得第一錐形齒輪(62)能帶動底部的混合葉板(61)對混合箱體(612)內部的混合液進行混合;S3:在對噴水織機的廢水進行壓濾時,主動同步帶輪(611)能通過弧形齒同步帶(5)帶動同步帶輪(35)進行轉動,同步帶輪(35)則能通過連接轉盤(33)和固定卡軸(34)循環的帶動導向裝置(32)在固定箱體(38)內部進行循環的位移,壓縮導板(323)位移至一側時,另一側處于負壓狀態,此時該側導液單向閥將液體導入至固定箱體(38)內部,隨后壓縮導板(323)則能將該處的液體通過過濾擋板(31)進行壓濾,此時限位單向閥(37)則將壓濾后的液體導出。
發明內容
本發明的目的在于提供一種噴水織機廢水收集裝置及其使用方法,以解決上述背景技術中提出的問題。
為實現上述目的,本發明提供如下技術方案:一種噴水織機廢水收集裝置,包括用于支撐的壓濾裝置,所述壓濾裝置的上端面中心處固定安裝有用于封閉的封蓋卡板,且位于所述封蓋卡板的上端面四角均設置有用于限位的型材支柱,四組所述型材支柱的上端面中心處固定安裝有混合裝置,且位于所述混合裝置的上端面固定設置有用于防護的防護卡罩,所述混合裝置與所述壓濾裝置之間通過弧形齒同步帶進行嚙合連接。
優選的,所述壓濾裝置包括用于支撐的固定箱體,所述固定箱體的下端面對稱設置有三組用于導液的限位單向閥,位于所述固定箱體的前端面中心處固定安裝有限位卡座,且位于所述限位卡座的內端面轉動卡接有連接轉盤,位于所述連接轉盤的外端面靠近邊緣處設置有固定卡軸,且位于所述連接轉盤的內端面中心處固定安裝有同步帶輪,所述固定箱體的內端面對稱設置有用于壓濾的過濾擋板,且位于所述固定箱體的內端面密封滑動卡接有導向裝置。
優選的,所述導向裝置包括用于壓縮的壓縮導板,所述壓縮導板的側端面中心處對稱設置有密封滑軸,且位于所述密封滑軸的外端面固定安裝有用于導向的導向滑板,位于所述導向滑板的內端面中心處固定設置有限位滑軌。
優選的,所述混合裝置包括用于支撐的混合箱體,所述混合箱體的上端面中心處固定設置有密封卡板,位于所述密封卡板的內端面對稱轉動卡接有混合葉板,且位于所述混合葉板的上端面固定安裝有第一錐形齒輪,所述密封卡板的上端面對稱設置有用于限位的固定卡座,位于一側的兩組所述固定卡座之間轉動卡接有限位轉軸,且位于所述限位轉軸的側端面端頭處設置有第三錐形齒輪,位于所述限位轉軸的外端面靠近所述第一錐形齒輪處設置有第二錐形齒輪,所述混合箱體的側端面中心處轉動卡接有傳動導軸,位于所述傳動導軸的外端面靠近所述第四錐形齒輪處設置有第三錐形齒輪,且位于所述傳動導軸的側端面端頭處設置有主動同步帶輪,所述混合箱體的后端面正對于所述傳動導軸處設置有伺服電機。
優選的,所述同步帶輪通過所述弧形齒同步帶與所述主動同步帶輪進行嚙合連接,所述第一錐形齒輪與所述第二錐形齒輪進行嚙合連接,且所述第三錐形齒輪與所述第四錐形齒輪進行嚙合連接,能有效提高設備傳動的穩定性。
優選的,所述限位滑軌與所述固定卡軸相適配,且所述連接轉盤通過所述限位滑軌與所述固定卡軸相適配進而與所述導向滑板進行滑動卡接,所述混合箱體的底部對稱設置有導液單向閥,導液單向閥能防止在進行壓濾時,液體發生回流,導流至混合箱體內部,降低壓濾效率。
優選的,所述壓縮導板與所述固定箱體的內壁進行密封貼合滑動連接,且所述密封滑軸與所述固定箱體進行密封滑動卡接,能有效提高后續設備進行壓濾的效率和穩定性。
一種噴水織機廢水收集裝置的使用方法,包括以下步驟:
S1:對設備進行預裝,使用者可將外部廢水供應管道與混合箱體后部進行對位連接,隨后將藥劑的混合物進行快速導入;
S2:在對廢水和藥劑進行混合時,伺服電機能通過第三錐形齒輪帶動第四錐形齒輪和限位轉軸進行轉動,使得限位轉軸能通過第二錐形齒輪帶動第一錐形齒輪進行嚙合連接,進而使得第一錐形齒輪能帶動底部的混合葉板對混合箱體內部的混合液進行混合;
S3:在對噴水織機的廢水進行壓濾時,主動同步帶輪能通過弧形齒同步帶帶動同步帶輪進行轉動,同步帶輪則能通過連接轉盤和固定卡軸循環的帶動導向裝置在固定箱體內部進行循環的位移,壓縮導板位移至一側時,另一側處于負壓狀態,此時該側導液單向閥將液體導入至固定箱體內部,隨后壓縮導板則能將該處的液體通過過濾擋板進行壓濾,此時限位單向閥則將壓濾后的液體導出。
與現有技術相比,本發明的有益效果如下:
1.本發明通過設置壓濾裝置,在對噴水織機的廢水進行壓濾時,伺服電機能通過主動同步帶輪和弧形齒同步帶帶動同步帶輪進行轉動,使得同步帶輪能通過連接轉盤和固定卡軸循環的帶動導向裝置在固定箱體內部進行循環的位移,從而配合限位單向閥對固定箱體內部廢水的單向導流,進而對導入至固定箱體內部的廢水進行循環的壓濾,有效提高了設備對廢水進行壓濾處理的效率。
2.本發明通過設置混合裝置,在設備進行傳動時,伺服電機能通過傳動導軸同步帶動第三錐形齒輪和主動同步帶輪進行轉動,第三錐形齒輪能通過第三錐形齒輪和第二錐形齒輪為混合葉板提供動力,從而對混合箱體內部的廢水和藥劑進行混合,同時主動同步帶輪能同步為壓濾裝置提供動力,使得壓濾裝置能同步對廢水進行壓濾,有效提高了設備對廢水處理的效率,同時也提高設備對動力的利用效率。
(發明人:楊春紅)






