公布日:2023.10.31
申請日:2023.08.14
分類號:C02F1/52(2023.01)I
摘要
本發明公開了一種飛灰水洗液凈化系統,包括沉淀箱,所述沉淀箱的上端固定嵌裝有布水盒,所述布水盒的兩側壁上均固定連接有殼體,所述布水盒的頂部貫穿設有與其固定連接的進水管,所述布水盒的內側設有葉輪,所述葉輪的中心處固定插裝有轉軸,所述轉軸的兩端均貫穿布水盒、殼體并轉動連接在殼體的內側壁上,所述布水盒的下端連接有對稱的兩個布水機構。本發明利用水洗液的沖擊力驅動葉輪轉動,無需設置額外的驅動源,更加節能,并且能夠在均勻布水的同時,對實現布水管的擺動和泵氣,能夠使得水洗液中新的污泥與舊的污泥進行混合,利于形成更大的污泥絮體,有利于水洗液中的污泥進行沉降。

權利要求書
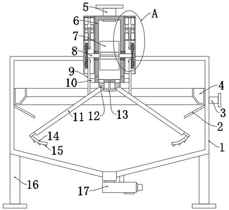
1.一種飛灰水洗液凈化系統,包括沉淀箱(1),其特征在于,所述沉淀箱(1)的上端固定嵌裝有布水盒(6),所述布水盒(6)的兩側壁上均固定連接有殼體(18),所述布水盒(6)的頂部貫穿設有與其固定連接的進水管(5),所述布水盒(6)的內側設有葉輪(7),所述葉輪(7)的中心處固定插裝有轉軸(8),所述轉軸(8)的兩端均貫穿布水盒(6)、殼體(18)并轉動連接在殼體(18)的內側壁上,所述布水盒(6)的下端連接有對稱的兩個布水機構,所述布水盒(6)的側壁上設有與布水機構連接的擺動機構,所述殼體(18)的內壁上設有與布氣機構連接的泵氣機構,所述沉淀箱(1)的側壁上固定連接有清水自流盒(4),所述沉淀箱(1)的側壁上連接有與清水自流盒(4)連通的清水管(3)。
2.根據權利要求1所述的一種飛灰水洗液凈化系統,其特征在于,所述布水機構包括連接在布水盒(6)下端的軟管(12),所述軟管(12)遠離布水盒(6)的一端固定連接有布水管(11),所述布水管(11)的內部穿設有充氣管(14)。
3.根據權利要求2所述的一種飛灰水洗液凈化系統,其特征在于,所述擺動機構包括固定連接在布水盒(6)側壁上的固定軸(10),所述固定軸(10)的端部轉動套接有擺桿(9),所述擺桿(9)的下端固定連接在布水管(11)的側壁上,所述擺桿(9)靠近上端的側壁上貫穿設有條形槽(28),所述殼體(18)的內側壁上轉動連接有第三齒輪(26),所述第三齒輪(26)的側壁邊緣處固定連接有滑桿(27),所述滑桿(27)滑動連接在條形槽(28)的內側,所述轉軸(8)上固定套接有第二齒輪(25),所述第三齒輪(26)嚙合在第二齒輪(25)的下側。
4.根據權利要求3所述的一種飛灰水洗液凈化系統,其特征在于,所述泵氣機構包括轉動連接在殼體(18)內側壁上的第一齒輪(23),所述第一齒輪(23)的側壁邊緣處轉動連接有固定桿(24),所述固定桿(24)上轉動套接有連桿(22),所述連桿(22)遠離固定桿(24)的一端轉動套接有移動桿(21),所述殼體(18)的內側壁上設有兩組泵氣結構,兩組泵氣結構分別連接在移動桿(21)的上下兩側,所述泵氣結構包括固定連接在殼體(18)內側壁上的兩個固定筒(19),所述固定筒(19)的內部滑動插裝有活動桿(20),所述活動桿(20)遠離固定筒(19)的一端固定連接在移動桿(21)上,所述固定筒(19)的內部設有伸縮氣囊(29),所述伸縮氣囊(29)的一端固定連接在活動桿(20)上,所述伸縮氣囊(29)的另一端固定連接在固定筒(19)的內壁上,所述伸縮氣囊(29)的側壁上連接有吸氣管(30)、出氣管(31),所述出氣管(31)上連接有輸氣管(13),所述輸氣管(13)與充氣管(14)連接。
5.根據權利要求2所述的一種飛灰水洗液凈化系統,其特征在于,所述充氣管(14)延伸出布水管(11)下端的部分為弧形部,所述弧形部的下側壁設有出氣孔(15)。
6.根據權利要求1所述的一種飛灰水洗液凈化系統,其特征在于,所述沉淀箱(1)的內底壁為向中心處向下傾斜的斜面結構,所述沉淀箱(1)的外底部安裝有污泥泵(17)。
7.根據權利要求2所述的一種飛灰水洗液凈化系統,其特征在于,所述沉淀箱(1)的側壁上對稱設有兩個填料斜板(2),兩個所述填料斜板(2)分別位于兩個布水管(11)的上方。
8.根據權利要求1所述的一種飛灰水洗液凈化系統,其特征在于,所述沉淀箱(1)的底部固定連接有四個支腿(16),四個所述支腿(16)呈矩形分布在沉淀箱(1)的下端。
發明內容
本發明的目的是為了解決現有技術中存在的缺點,而提出的一種飛灰水洗液凈化系統。
為了實現上述目的,本發明采用了如下技術方案:一種飛灰水洗液凈化系統,包括沉淀箱,所述沉淀箱的上端固定嵌裝有布水盒,所述布水盒的兩側壁上均固定連接有殼體,所述布水盒的頂部貫穿設有與其固定連接的進水管,所述布水盒的內側設有葉輪,所述葉輪的中心處固定插裝有轉軸,所述轉軸的兩端均貫穿布水盒、殼體并轉動連接在殼體的內側壁上,所述布水盒的下端連接有對稱的兩個布水機構,所述布水盒的側壁上設有與布水機構連接的擺動機構,所述殼體的內壁上設有與布氣機構連接的泵氣機構,所述沉淀箱的側壁上固定連接有清水自流盒,所述沉淀箱的側壁上連接有與清水自流盒連通的清水管。
作為本發明的進一步改進,所述布水機構包括連接在布水盒下端的軟管,所述軟管遠離布水盒的一端固定連接有布水管,所述布水管的內部穿設有充氣管。
作為本發明的進一步改進,所述擺動機構包括固定連接在布水盒側壁上的固定軸,所述固定軸的端部轉動套接有擺桿,所述擺桿的下端固定連接在布水管的側壁上,所述擺桿靠近上端的側壁上貫穿設有條形槽,所述殼體的內側壁上轉動連接有第三齒輪,所述第三齒輪的側壁邊緣處固定連接有滑桿,所述滑桿滑動連接在條形槽的內側,所述轉軸上固定套接有第二齒輪,所述第三齒輪嚙合在第二齒輪的下側。
作為本發明的進一步改進,所述泵氣機構包括轉動連接在殼體內側壁上的第一齒輪,所述第一齒輪的側壁邊緣處轉動連接有固定桿,所述固定桿上轉動套接有連桿,所述連桿遠離固定桿的一端轉動套接有移動桿,所述殼體的內側壁上設有兩組泵氣結構,兩組泵氣結構分別連接在移動桿的上下兩側,所述泵氣結構包括固定連接在殼體內側壁上的兩個固定筒,所述固定筒的內部滑動插裝有活動桿,所述活動桿遠離固定筒的一端固定連接在移動桿上,所述固定筒的內部設有伸縮氣囊,所述伸縮氣囊的一端固定連接在活動桿上,所述伸縮氣囊的另一端固定連接在固定筒的內壁上,所述伸縮氣囊的側壁上連接有吸氣管、出氣管,所述出氣管上連接有輸氣管,所述輸氣管與充氣管連接。
作為本發明的進一步改進,所述充氣管延伸出布水管下端的部分為弧形部,所述弧形部的下側壁設有出氣孔。
作為本發明的進一步改進,所述沉淀箱的內底壁為向中心處向下傾斜的斜面結構,所述沉淀箱的外底部安裝有污泥泵。
作為本發明的進一步改進,所述沉淀箱的側壁上對稱設有兩個填料斜板,兩個所述填料斜板分別位于兩個布水管的上方。
作為本發明的進一步改進,所述沉淀箱的底部固定連接有四個支腿,四個所述支腿呈矩形分布在沉淀箱的下端。
本發明的有益效果:通過設置進水管、葉輪、轉軸,通過進水管能夠使得水洗液沖擊葉輪,進而利用水洗液的沖擊力驅動葉輪轉動,通過葉輪帶動轉軸轉動,進而能夠驅動泵氣機構和擺動機構動作,無需設置額外的驅動源,更加節能。
通過設置布水機構,通過進水管將水洗液導入布水盒中,水洗液通過布水管能夠向下導入到沉淀箱的底部,能夠使得水洗液均勻分布到沉淀箱中,能夠利于沉淀箱中的水洗液中的污泥絮體的均勻分布。
通過設置擺動機構,擺動機構能夠驅動布水管轉動,通過布水管的擺動,能夠增大布水的面積,并且能夠對水洗液進行擾動,使得絮凝體能夠充分絮凝吸附污泥。
通過設置泵氣機構,當水洗液在布水管中流動至沉淀箱的過程中,通過泵氣機構能夠向充氣管內部的充氣,進而在水洗液布水的同時,通過泵氣能夠給底部的沉積污泥一個沖擊力,帶動水洗液中新的污泥與舊的污泥進行混合,利于形成更大的污泥絮體,有利于水洗液中的污泥進行沉降。
本發明利用水洗液的沖擊力驅動葉輪轉動,無需設置額外的驅動源,更加節能,并且能夠在均勻布水的同時,對實現布水管的擺動和泵氣,能夠使得水洗液中新的污泥與舊的污泥進行混合,利于形成更大的污泥絮體,有利于水洗液中的污泥進行沉降。
(發明人:徐亞軍;王宇)






