公布日:2024.03.19
申請日:2023.12.25
分類號:C02F1/26(2023.01)I;C02F1/62(2023.01)I;C02F1/64(2023.01)I;C02F9/00(2023.01)I;C02F1/00(2023.01)N;C02F1/38(2023.01)N;C02F101/20(2006.01)N;C02F101/
22(2006.01)N;C02F103/04(2006.01)N
摘要
本發明涉及污水處理技術領域,尤其涉及一種污水萃取裝置。其技術方案包括:水旋機構,包括折疊筒、螺旋槽、污水管和二氧化碳管,所述折疊筒的內部開設螺旋槽,所述污水管貫穿折疊筒,所述污水管的端部采用螺旋狀,所述污水管貼靠在折疊筒的內壁并嵌入螺旋槽處,所述二氧化碳管設有多個且圍繞攪拌槳環形分布。本發明利用污水進入折疊筒的速度,同時配合污水管的端部螺旋狀結構和螺旋槽,使污水沿著螺旋槽的內壁進行螺旋旋轉,后續折疊筒內加入污水,后加入的污水會直接在折疊筒形成漩渦,減少污水漩渦旋轉速度與攪拌槳轉速的差值,避免轉速差值過大導致攪拌槳對污水進行拍擊使已溶入污水的二氧化碳從污水中溢出。

權利要求書
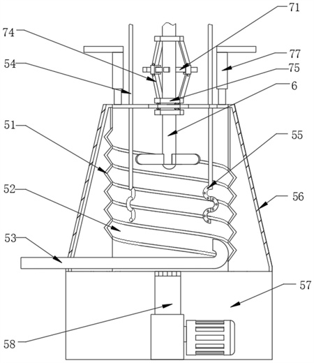
1.一種污水萃取裝置,其特征在于,包括:反應器(2),所述反應器(2)的頂部中心處轉動連接有攪拌槳(6),所述反應器(2)的頂部固定安裝有支撐攪拌槳(6)的頂架(4),所述反應器(2)的側部固定安裝有對稱設置的安裝管(3);水旋機構(5),包括折疊筒(51)、螺旋槽(52)、污水管(53)和二氧化碳管(54),所述折疊筒(51)的內部開設螺旋槽(52),所述污水管(53)貫穿折疊筒(51),所述污水管(53)的端部采用螺旋狀,所述污水管(53)貼靠在折疊筒(51)的內壁并嵌入螺旋槽(52)處,所述二氧化碳管(54)設有多個且圍繞攪拌槳(6)環形分布,所述二氧化碳管(54)內部流通二氧化碳氣體;所述折疊筒(51)圍成水合區,所述污水管(53)內流通污水,所述攪拌槳(6)位于折疊筒(51)的中心處,所述折疊筒(51)與反應器(2)之間形成分離區,所述折疊筒(51)的底部固定安裝有底臺(57),所述底臺(57)的底部與反應器(2)固定連接,所述二氧化碳管(54)的端部與反應器(2)固定連接;所述水旋機構(5)的頂部設置有折疊機構(7),所述頂架(4)的內部且位于攪拌槳(6)的側部設置有潤滑機構(8)。
2.根據權利要求1所述的一種污水萃取裝置,其特征在于:所述污水從污水管(53)內排出沿著污水管(53)形成螺旋,所述污水螺旋方向與攪拌槳(6)的旋轉方向,所述攪拌槳(6)的旋轉速度與污水從污水管(53)內流出速度相同,所述二氧化碳管(54)的端部采用波浪狀結構,所述二氧化碳管(54)的位置與攪拌槳(6)的位置錯開,所述二氧化碳管(54)上開設有多個排氣孔(55),同一個所述二氧化碳管(54)上的所有排氣孔(55)處于同一平面,所述排氣孔(55)的出口方向與污水螺旋方向相同。
3.根據權利要求1所述的一種污水萃取裝置,其特征在于:所述折疊筒(51)的頂部開口處固定安裝有套筒(56),所述套筒(56)采用中空的圓臺狀結構,所述套筒(56)的底部與底臺(57)固定連接,所述底臺(57)與反應器(2)之間形成儲蓄倉收集折疊筒(51)開口處溢出的污水。
4.根據權利要求1所述的一種污水萃取裝置,其特征在于:所述底臺(57)的內部中心處固定安裝有排出管(58),所述排出管(58)的端部固定安裝有單向閥,所述噴頭(85)的另一端固定安裝有抽濾瓶和真空泵。
5.根據權利要求1所述的一種污水萃取裝置,其特征在于:所述折疊機構(7)包括滑桿(71)、限位環(72)、滑塊(73)、聯動桿(74)、下滑環(75)和嵌板(76),所述滑桿(71)設有多個且等角度環形分布在攪拌槳(6)的軸上,在所述滑桿(71)的端部與限位環(72)固定連接,所述滑桿(71)的外壁與滑塊(73)滑動連接,所述滑塊(73)通過復位彈簧(78)與攪拌槳(6)彈性連接,所述滑塊(73)的上下兩側均與聯動桿(74)鉸接,所述滑塊(73)下側的聯動桿(74)的端部與下滑環(75)鉸接,所述嵌板(76)嵌入下滑環(75)的中部,所述嵌板(76)遠離下滑環(75)的一側與折疊筒(51)固定連接,所述螺旋槽(52)作為所述折疊筒(51)折疊紋路。
6.根據權利要求5所述的一種污水萃取裝置,其特征在于:所述下滑環(75)的中部開設有環形槽,所述嵌板(76)的底部滾動連接有滾珠,所述滾珠與下滑環(75)的環形槽內滾動,所述下滑環(75)與攪拌槳(6)同步轉動,所述下滑環(75)在攪拌槳(6)的軸上滑動。所述下滑環(75)在攪拌槳(6)的軸上滑動,所述嵌板(76)的頂部固定安裝有伸縮桿(77),所述伸縮桿(77)的端部與反應器(2)固定連接。
7.根據權利要求6所述的一種污水萃取裝置,其特征在于:所述潤滑機構(8)包括重力桿(81)、活塞(83)、注射管(84)和潤滑油箱(86),所述重力桿(81)的端部與活塞(83)固定連接,所述潤滑油箱(86)的底部與頂架(4)固定連接,所述潤滑油箱(86)的側部通過不銹鋼管與注射管(84)連通,所述活塞(83)在注射管(84)的內部滑動,所述攪拌槳(6)通過軸承(9)與頂架(4)轉動連接,所述軸承(9)位于注射管(84)的延長線上。
8.根據權利要求7所述的一種污水萃取裝置,其特征在于:所述重力桿(81)的端部滾動連接有滾珠(82),所述滑塊(73)上側的聯動桿(74)鉸接有上滑環(79),所述滾珠(82)在上滑環(79)的頂部滾動,所述注射管(84)的端部連通有噴頭(85),所述噴頭(85)的直徑與軸承(9)的直徑相同,所述噴頭(85)上開設有多個開孔,所述開孔朝向軸承(9)內部滾珠。
9.根據權利要求1所述的一種污水萃取裝置,其特征在于:所述攪拌槳(6)通過轉軸與電機固定連接,兩個所述安裝管(3)內分別固定安裝有光源和攝像頭,所述光源和攝像頭均傾斜設置,所述折疊筒(51)位于光源和攝像頭的延長線上,所述反應器(2)的底部固定安裝有安裝座(1)。
10.根據權利要求1所述的一種污水萃取裝置萃取方法,其特征在于:包括如下步驟:S1.填入污水:首先反應器(2)進行徹底地清潔與干燥,配置符合聚變堆冷卻劑活化腐蝕物濃度的污水,倒入反應器(2)中,并在溫度為溫度=288.2K下密封;S2.注入二氧化碳并增大氣壓:將二氧化碳氣體注入反應器(2)加壓至一定壓力,將反應器在密封溫度下穩定30分鐘,在該步驟中確定了注入反應器中的二氧化碳的精確量;S3.增大二氧化碳與水接觸面積:在密封溫度下,攪拌槳(6)以600rpm的速率連續攪拌穩定60分鐘,污水進入折疊筒(51)內形成的漩渦具有一定轉速,攪拌槳(6)旋轉維持漩渦的轉速,攪拌槳(6)的轉速與漩渦的轉速差值小;S4.形成水合物:通過以6.0K/h的速率將反應器(2)冷卻至溫度=275.2K來誘導二氧化碳水合物的形成,水合物的形成是通過突然的溫度形斷裂、隨后的氣壓下降,通過攝像頭觀察水合物顆粒,水合物與重金屬形成水合物沉淀并與污水產生分層,攪拌槳(6)轉速降低,折疊筒(51)進行折疊將位于上層的不含有重金屬的污水排出部分,減少抽取水合物沉淀和污水混合物的量,加快抽出速度;S5.分離水合物和污水:將反應后的水合物沉淀和未反應完的污水進行固液分離,在室溫下真空抽濾30s,得到水合物沉淀以及剩余污水,在-5℃,4000r/min的條件下對水合物沉淀進行離心,持續時間為3min進一步脫除水合物沉淀內部的鹽溶液以及殘留在水合物沉淀表面的鹽,水合物沉淀離心后放置于室溫下使其自行分解得到純水。
發明內容
本發明的目的是針對背景技術中存在污水在攪拌過程中翻涌導致溶于污水的二氧化碳溢出的問題,提出一種污水萃取裝置。
本發明的技術方案:一種污水萃取裝置,包括:
反應器,所述反應器的頂部中心處轉動連接有攪拌槳,所述反應器的頂部固定安裝有支撐攪拌槳的頂架,所述反應器的側部固定安裝有對稱設置的安裝管;
水旋機構,包括折疊筒、螺旋槽、污水管和二氧化碳管,所述折疊筒的內部開設螺旋槽,所述污水管貫穿折疊筒,所述污水管的端部采用螺旋狀,所述污水管貼靠在折疊筒的內壁并嵌入螺旋槽處,所述二氧化碳管設有多個且圍繞攪拌槳環形分布,所述二氧化碳管內部流通二氧化碳氣體;
所述折疊筒圍成水合區,所述污水管內流通污水,所述攪拌槳位于折疊筒的中心處,所述折疊筒與反應器之間形成分離區,所述折疊筒的底部固定安裝有底臺,所述底臺的底部與反應器固定連接,所述二氧化碳管的端部與反應器固定連接;
所述水旋機構的頂部設置有折疊機構,所述頂架的內部且位于攪拌槳的側部設置有潤滑機構。
可選的,所述污水從污水管內排出沿著污水管形成螺旋,所述污水螺旋方向與攪拌槳的旋轉方向,所述攪拌槳的旋轉速度與污水從污水管內流出速度相同,所述二氧化碳管的端部采用波浪狀結構,所述二氧化碳管的位置與攪拌槳的位置錯開,所述二氧化碳管上開設有多個排氣孔,同一個所述二氧化碳管上的所有排氣孔處于同一平面,所述排氣孔的出口方向與污水螺旋方向相同。
可選的,所述折疊筒的頂部開口處固定安裝有套筒,所述套筒采用中空的圓臺狀結構,所述套筒的底部與底臺固定連接,所述底臺與反應器之間形成儲蓄倉收集折疊筒開口處溢出的污水。
可選的,所述底臺的內部中心處固定安裝有排出管,所述排出管的端部固定安裝有單向閥,所述噴頭的另一端固定安裝有抽濾瓶和真空泵。
可選的,所述折疊機構包括滑桿、限位環、滑塊、聯動桿、下滑環和嵌板,所述滑桿設有多個且等角度環形分布在攪拌槳的軸上,在所述滑桿的端部與限位環固定連接,所述滑桿的外壁與滑塊滑動連接,所述滑塊通過復位彈簧與攪拌槳彈性連接,所述滑塊的上下兩側均與聯動桿鉸接,所述滑塊下側的聯動桿的端部與下滑環鉸接,所述嵌板嵌入下滑環的中部,所述嵌板遠離下滑環的一側與折疊筒固定連接,所述螺旋槽作為所述折疊筒折疊紋路。
可選的,所述下滑環的中部開設有環形槽,所述嵌板的底部滾動連接有滾珠,所述滾珠與下滑環的環形槽內滾動,所述下滑環與攪拌槳同步轉動,所述下滑環在攪拌槳的軸上滑動。所述下滑環在攪拌槳的軸上滑動,所述嵌板的頂部固定安裝有伸縮桿,所述伸縮桿的端部與反應器固定連接。
可選的,所述潤滑機構包括重力桿、活塞、注射管和潤滑油箱,所述重力桿的端部與活塞固定連接,所述潤滑油箱的底部與頂架固定連接,所述潤滑油箱的側部通過不銹鋼管與注射管連通,所述活塞在注射管的內部滑動,所述攪拌槳通過軸承與頂架轉動連接,所述軸承位于注射管的延長線上。
可選的,所述重力桿的端部滾動連接有滾珠,所述滑塊上側的聯動桿鉸接有上滑環,所述滾珠在上滑環的頂部滾動,所述注射管的端部連通有噴頭,所述噴頭的直徑與軸承的直徑相同,所述噴頭上開設有多個開孔,所述開孔朝向軸承內部滾珠。
可選的,所述攪拌槳通過轉軸與電機固定連接,兩個所述安裝管內分別固定安裝有光源和攝像頭,所述光源和攝像頭均傾斜設置,所述折疊筒位于光源和攝像頭的延長線上,所述反應器的底部固定安裝有安裝座。
一種污水萃取裝置萃取方法,包括如下步驟:
S1.填入污水:首先反應器進行徹底地清潔與干燥,配置符合聚變堆冷卻劑活化腐蝕物濃度的污水,倒入反應器中,并在溫度為溫度=288.2K下密封;
S2.注入二氧化碳并增大氣壓:將二氧化碳氣體注入反應器加壓至一定壓力,將反應器在密封溫度下穩定30分鐘,在該步驟中確定了注入反應器中的二氧化碳的精確量;
S3.增大二氧化碳與水接觸面積:在密封溫度下,攪拌槳以600rpm的速率連續攪拌穩定60分鐘,污水進入折疊筒內形成的漩渦具有一定轉速,攪拌槳旋轉維持漩渦的轉速,攪拌槳的轉速與漩渦的轉速差值小;
S4.形成水合物:通過以6.0K/h的速率將反應器冷卻至溫度=275.2K來誘導二氧化碳水合物的形成,水合物的形成是通過突然的溫度形斷裂、隨后的氣壓下降,通過攝像頭觀察水合物顆粒,水合物與重金屬形成水合物沉淀并與污水產生分層,攪拌槳轉速降低,折疊筒進行折疊將位于上層的不含有重金屬的污水排出部分,減少抽取水合物沉淀和污水混合物的量,加快抽出速度;
S5.分離水合物和污水:將反應后的水合物沉淀和未反應完的污水進行固液分離,在室溫下真空抽濾30s,得到水合物沉淀以及剩余污水,在-5℃,4000r/min的條件下對水合物沉淀進行離心,持續時間為3min進一步脫除水合物沉淀內部的鹽溶液以及殘留在水合物沉淀表面的鹽,水合物沉淀離心后放置于室溫下使其自行分解得到純水。
與現有技術相比,本發明具有如下有益的技術效果:
本發明利用污水進入折疊筒的速度,同時配合污水管的端部螺旋狀結構和螺旋槽,使污水沿著螺旋槽的內壁進行螺旋旋轉,后續折疊筒內加入污水,后加入的污水會直接在折疊筒形成漩渦,減少污水漩渦旋轉速度與攪拌槳轉速的差值,避免轉速差值過大導致攪拌槳對污水進行拍擊使已溶入污水的二氧化碳從污水中溢出。
進一步的,攪拌槳從靜止狀態轉變為轉動狀態,利用離心力使滑塊遠離攪拌槳并利用聯動桿、下滑環和嵌板提升折疊筒高度,避免污水在攪拌時液面高度升高溢出或攪拌槳拍擊污水使其濺出。
進一步的,在攪拌槳攪拌完畢后,二氧化碳溶于水萃取重金屬產生沉淀,降低折疊筒頂部高度,利用沉淀與水分層進行初步分離,水從折疊筒的頂部溢出流入分離區,并利用其自身溫度作為水浴控制折疊筒內的污水溫度,同時避免直接排出水帶走熱量以及反應器中二氧化碳,從而維持溫度和氣壓環境,以進行后續污水萃取。
進一步的,在攪拌槳長時間運作攪拌污水后進入靜止狀態時,活塞將潤滑油箱和注射管內的潤滑油擠出,噴頭擴大覆蓋范圍,以便更好的潤滑軸承,避免攪拌槳長時間運行產生磨損,攪拌槳轉動速度達不到所需要的轉速導致二氧化碳溶于污水的速度降低。
(發明人:李煒葆;楊雷;朱黎黎)






