公布日:2023.10.03
申請日:2023.08.07
分類號:B01D21/04(2006.01)I;B01D21/18(2006.01)I;B01D21/20(2006.01)I
摘要
本發明公開了一種印染廢水處理設備,涉及廢水處理領域,包括沉淀池,所述沉淀池底部設有用于排泥的凹陷部,還包括刮泥裝置,刮泥裝置包括刮板,刮板設置于沉淀池內,刮板一端連接有第一支撐部,所第一支撐部頂部連接有升降機構,升降機構上方連接有第二支撐部,第二支撐部一側連接有驅動機構;該印染廢水處理設備,通過滑塊移動帶動第一支撐部和第二支撐部以及刮板進行往復橫移,推桿帶動第二齒輪進行轉動,第二齒輪轉動帶動轉桿轉動以使刮板轉動90°,并使刮板以保持水平狀態進行移動,降低其移動時與水的阻力,避免使沉淀池內的水被較大幅度的擾動,引起沉淀的污泥受到攪動后分散到澄清的水體中。

權利要求書
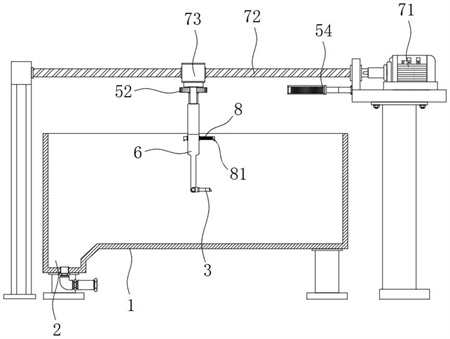
1.一種印染廢水處理設備,包括沉淀池(1),所述沉淀池(1)底部設有用于排泥的凹陷部(2),其特征在于:還包括刮泥裝置,所述刮泥裝置包括刮板(3),所述刮板(3)設置于沉淀池(1)內,所述刮板(3)一端連接有第一支撐部(4),所述第一支撐部(4)頂部連接有升降機構(5),所述升降機構(5)上方連接有第二支撐部(6),所述第二支撐部(6)一側連接有驅動機構(7),所述驅動機構(7)驅動第二支撐部(6)橫移并帶動刮板(3)在沉淀池(1)內進行橫移;且在刮板(3)移動至沉淀池(1)遠離凹陷部(2)的一側時,升降機構(5)驅動第二支撐部(6)向下移動以帶動刮板(3)沿豎直方向向下移動。
2.根據權利要求1所述的一種印染廢水處理設備,其特征在于,所述升降機構(5)包括螺紋桿(51),所述螺紋桿(51)一端與第一支撐部(4)相連接,所述螺紋桿(51)另一端與第二支撐部(6)相連接,所述螺紋桿(51)表面固定連接有第一齒輪(52)。
3.根據權利要求2所述的一種印染廢水處理設備,其特征在于,所述升降機構(5)還包括齒板(53),所述齒板(53)設置于第一齒輪(52)的移動路徑上,且齒板(53)位于遠離凹陷部(2)的一側。
4.根據權利要求3所述的一種印染廢水處理設備,其特征在于,所述齒板(53)一側滑動連接有支撐座(54),所述支撐座(54)內壁與齒板(53)一側通過若干旋轉件(55)相連接,至少一個旋轉件(55)上安裝有彈性件(56)。
5.根據權利要求1所述的一種印染廢水處理設備,其特征在于,所述驅動機構(7)包括電機(71),所述電機(71)輸出軸一端固定連接有往復絲杠(72),所述往復絲杠(72)表面螺紋連接有滑塊(73),所述滑塊(73)底部與第一支撐部(4)相連接。
6.根據權利要求1所述的一種印染廢水處理設備,其特征在于,所述第一支撐部(4)包括第一支撐板(41)和兩個導桿(42),兩個所述導桿(42)一端與第一支撐板(41)底部固定連接。
7.根據權利要求6所述的一種印染廢水處理設備,其特征在于,所述第二支撐部(6)包括第二支撐板(61),所述第二支撐板(61)內壁與兩個導桿(42)表面滑動連接,所述第二支撐板(61)上開設有多個導流通道(62)。
8.根據權利要求7所述的一種印染廢水處理設備,其特征在于,所述第二支撐板(61)底部內壁轉動連接有轉桿(63),所述轉桿(63)兩端與刮板(3)一側固定連接。
9.根據權利要求8所述的一種印染廢水處理設備,其特征在于,所述第二支撐板(61)上安裝有翻轉機構(8),所述翻轉機構(8)包括推桿(81),所述推桿(81)一側固定安裝有齒條,所述推桿(81)一端貫穿第二支撐板(61)內壁并與第二支撐板(61)內壁滑動連接。
10.根據權利要求9所述的一種印染廢水處理設備,其特征在于,所述第二支撐板(61)內壁轉動連接有傳動桿(82),所述傳動桿(82)表面固定連接有第二齒輪(83),所述第二齒輪(83)一側與推桿(81)上的齒條嚙合連接,所述傳動桿(82)一端固定連接有第一錐齒輪,所述第一錐齒輪一側嚙合連接有第二錐齒輪,所述第二錐齒輪內壁與轉桿(63)表面固定連接。
發明內容
本發明的目的是提供一種印染廢水處理設備,以解決現有技術中的上述不足之處。
為了實現上述目的,本發明提供如下技術方案:一種印染廢水處理設備,包括沉淀池,所述沉淀池底部設有用于排泥的凹陷部,還包括刮泥裝置,所述刮泥裝置包括刮板,所述刮板設置于沉淀池內,所述刮板一端連接有第一支撐部,所述第一支撐部頂部連接有升降機構,所述升降機構上方連接有第二支撐部,所述第二支撐部一側連接有驅動機構,所述驅動機構驅動第二支撐部橫移并帶動刮板在沉淀池內進行橫移;
且在刮板移動至沉淀池遠離凹陷部的一側時,升降機構驅動第二支撐部向下移動以帶動刮板沿豎直方向向下移動。
進一步地,所述升降機構包括螺紋桿,所述螺紋桿一端與第一支撐部相連接,所述螺紋桿另一端與第二支撐部相連接,所述螺紋桿表面固定連接有第一齒輪。
進一步地,所述升降機構還包括齒板,所述齒板設置于第一齒輪的移動路徑上,且齒板位于遠離凹陷部的一側。
進一步地,所述齒板一側滑動連接有支撐座,所述支撐座內壁與齒板一側通過若干旋轉件相連接,至少一個旋轉件上安裝有彈性件。
進一步地,所述驅動機構包括電機,所述電機輸出軸一端固定連接有往復絲杠,所述往復絲杠表面螺紋連接有滑塊,所述滑塊底部與第一支撐部相連接。
進一步地,所述第一支撐部包括第一支撐板和兩個導桿,兩個所述導桿一端與第一支撐板底部固定連接。
進一步地,所述第二支撐部包括第二支撐板,所述第二支撐板內壁與兩個導桿表面滑動連接,所述第二支撐板上開設有多個導流通道。
進一步地,所述第二支撐板底部內壁轉動連接有轉桿,所述轉桿兩端與刮板一側固定連接。
進一步地,所述第二支撐板上安裝有翻轉機構,所述翻轉機構包括推桿,所述推桿一側固定安裝有齒條,所述推桿一端貫穿第二支撐板內壁并與第二支撐板內壁滑動連接。
進一步地,所述第二支撐板內壁轉動連接有傳動桿,所述傳動桿表面固定連接有第二齒輪,所述第二齒輪一側與推桿上的齒條嚙合連接,所述傳動桿一端固定連接有第一錐齒輪,所述第一錐齒輪一側嚙合連接有第二錐齒輪,所述第二錐齒輪內壁與轉桿表面固定連接。
與現有技術相比,本發明提供的一種印染廢水處理設備,具有以下有益效果:
1、該印染廢水處理設備,通過電機驅動往復絲杠進行轉動以帶動滑塊沿往復絲杠軸向進行橫移,滑塊移動帶動第一支撐部和第二支撐部以及刮板進行往復橫移,當刮板向凹陷部一側移動并使第二支撐部上的推桿一端與沉淀池內壁抵接時,推桿受到沉淀池內壁的推擠沿第二支撐板內壁滑動,并帶動第二齒輪進行轉動,第二齒輪轉動帶動轉桿轉動以使刮板轉動90°,并使刮板呈水平狀,接著滑塊向遠離凹陷部一側移動,刮板以保持水平狀態進行移動,降低其移動時與水的阻力,避免使沉淀池內的水被較大幅度的擾動,引起沉淀的污泥受到攪動后分散到澄清的水體中。
2、該印染廢水處理設備,通過在推桿與遠離凹陷部一側的內壁抵接前,第一齒輪與齒板嚙合,第一齒輪自轉以帶動螺紋桿進行轉動,螺紋桿轉動使第二支撐板向下移動一定距離,進而使刮板每次在移動至遠離凹陷部的一側后向下移動一定距離,從而在刮板往復移動對沉淀池內的污泥進行刮動時,可以分層次的逐層對污泥進行刮削,以降低刮板移動時的阻力,以及降低污泥被刮板推動時的逸散程度。
(發明人:鐘艷珍;余家潘;陳長春)






