公布日:2023.10.17
申請日:2023.08.08
分類號:B01D21/18(2006.01)I
摘要
本發明公開了一種智能式單軌刮泥機及其運行方法,涉及污水處理技術領域,為解決現有的單軌式排泥機主要是將一根軌道設置在沉淀池底部,在將刮泥結構設置在軌道上并進行往返移動,來達到排泥的目的,但市面上大多數單軌式排泥機主要是以單向排泥的方式將污泥從一個方向排出,不僅浪費了返回的時間,還降低了效率的問題,包括導軌和沉淀池,所述導軌設置在沉淀池的內部底端;還包括:梯型底板,其設置在沉淀池的底端中間,梯型底板兩端均為向外傾斜設置,且導軌設置在梯型底板的上端并延伸出梯型底板的兩端,所述導軌的兩端均設置有圓形凸塊,且圓形凸塊與導軌一體成型設置,所述導軌的上端設置有小車機架,所述小車機架的兩端固定設置有固定桿。

權利要求書
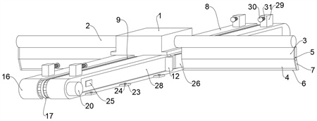
1.一種智能式單軌刮泥機,包括導軌(8)和沉淀池(36),所述導軌(8)設置在沉淀池(36)的內部底端;其特征在于:還包括:梯型底板(37),其設置在沉淀池(36)的底端中間,梯型底板(37)兩端均為向外傾斜設置,且導軌(8)設置在梯型底板(37)的上端并延伸出梯型底板(37)的兩端,所述導軌(8)的兩端均設置有圓形凸塊(16),且圓形凸塊(16)與導軌(8)一體成型設置,所述導軌(8)的上端設置有小車機架(1),所述小車機架(1)的兩端固定設置有固定桿(2),所述小車機架(1)的底端設置有底凸塊(11),且底凸塊(11)與小車機架(1)一體成型設置,所述底凸塊(11)的前后兩端均設置有固定管(14),且固定管(14)通過螺紋連接固定安裝在底凸塊(11)的前后兩端,所述固定管(14)的前端設置有套環(15),所述導軌(8)的上下兩端均設置有滑槽(9),且上端滑槽(9)與底凸塊(11)進行卡合,所述圓形凸塊(16)的一側設置有驅動電機(21),所述驅動電機(21)的一端連接設置有傳動軸(19),且傳動軸(19)延伸至圓形凸塊(16)的內部,所述圓形凸塊(16)之間設置有卡合轉軸(18),卡合轉軸(18)與傳動軸(19)的另一端連接,且卡合轉軸(18)通過驅動電機(21)進行轉動,所述導軌(8)的外部一圈設置有環形鏈(17),環形鏈(17)活動卡合在滑槽(9)內部,環形鏈(17)的兩端分別與兩端套環(15)一一對應連接,且環形鏈(17)通過卡合轉軸(18)驅動進行移動,所述沉淀池(36)的內部底端兩側均設置有集泥坑(38),所述淀池(36)的內壁兩側設置有集泥管(39),且集泥管(39)向下延伸并與集泥坑(38)連接,所述集泥管(39)的另一端設置有水泵(40)。
2.根據權利要求1所述的一種智能式單軌刮泥機,其特征在于:所述導軌(8)的兩側對稱設置有側槽(28),所述小車機架(1)的兩側底端設置有側凸塊(10),且側凸塊(10)與小車機架(1)一體成型設置,所述側凸塊(10)的底端設置有活動軸(13),所述活動軸(13)的底端設置有滑輪(12),滑輪(12)活動卡合在側槽(28)的內部,且滑輪(12)通過活動軸(13)在側槽(28)內進行轉動。
3.根據權利要求1所述的一種智能式單軌刮泥機,其特征在于:兩側所述固定桿(2)的底端均固定設置有固定板(3),所述固定板(3)的底端設置有連接軸(5),所述連接軸(5)的底端設置有刮泥板(4),且刮泥板(4)通過連接軸(5)驅動進行擺動,所述刮泥板(4)的底端設置有橡膠刮片(6),所述固定板(3)和刮泥板(4)的外側均設置有側刮片(7)。
4.根據權利要求3所述的一種智能式單軌刮泥機,其特征在于:兩側所述連接軸(5)的內端對稱設置有卡槽板(26),且卡槽板(26)與側槽(28)的內部進行活動卡合,所述卡槽板(26)的兩端均設置有圓弧角(27)。
5.根據權利要求1所述的一種智能式單軌刮泥機,其特征在于:所述導軌(8)的上端兩側均對稱設置有固定塊(29),兩側所述固定塊(29)的前端對稱設置有彈簧(31),所述彈簧(31)的前端設置有緩沖片(30)。
6.根據權利要求1所述的一種智能式單軌刮泥機,其特征在于:所述圓形凸塊(16)的右側設置有防護殼(20),防護殼(20)螺紋連接安裝在圓形凸塊(16)的右側,且防護殼(20)套設在驅動電機(21)的外部,所述防護殼(20)的外部設置有密封圈(22)。
7.根據權利要求1所述的一種智能式單軌刮泥機,其特征在于:所述導軌(8)的兩側底端設置有安裝板(23),且安裝板(23)設置有若干,所述安裝板(23)的內部設置有螺栓(24),且導軌(8)通過螺栓(24)的螺紋連接固定在梯型底板(37)的上端。8.根據權利要求1所述的一種智能式單軌刮泥機,其特征在于:所述集泥管(39)的表面設置有若干進泥口(42),所述進泥口(42)的外部設置有濾網(41)。
9.根據權利要求2所述的一種智能式單軌刮泥機,其特征在于:所述側槽(28)的內部兩側對稱設置有往返信號接收片(25),所述小車機架(1)的內部設置有遠程信號接收模塊(33)和報警保護裝置(34),所述驅動電機(21)的內部設置有延時模塊(32),所述驅動電機(21)和連接軸(5)的內部均設置有電氣驅動控制模塊(35),且延時模塊(32)、往返信號接收片(25)和報警保護裝置(34)的輸出端與電氣驅動控制模塊(35)的輸入端電性連接。
10.一種智能式單軌刮泥機的使用方法,基于權利要求9所述的一種智能式單軌刮泥機實現,其特征在于,包括以下步驟:步驟一:將污水排入沉淀池(36)加入藥劑使污水里的污泥與清水進行分離,從而使污泥沉淀在沉淀池(36)的底端,同時啟動水泵(40)將部分集泥坑(38)里的污泥從集泥管(39)進行抽離,集泥管(39)底部設置多層進泥口(42),可以提高對污泥的吸收效率,并且在進泥口(42)的表面設置濾網(41),以便于攔截大顆粒雜質;步驟二:隨后啟動驅動電機(21),帶動卡合轉軸(18)進行轉動,環形鏈(17)通過與卡合轉軸(18)的連接驅動進行移動,而環形鏈(17)通過與套環(15)的連接固定在小車機架(1)的前后兩端,環形鏈(17)移動帶動小車機架(1)進行移動,從而使小車機架(1)能夠在導軌(8)上進行移動;步驟三:小車機架(1)的兩側設置可進行調節的刮泥板(4),當小車機架(1)進行移動時帶動刮泥板(4)進行移動,而刮泥板(4)的底端和外側均設置有橡膠材質的刮片,用于對底部污泥刮向兩側的集泥坑(38)內;步驟四:當小車機架(1)移動至導軌(8)的一端邊緣時,滑輪(12)與往返信號接收片(25)接觸,并將信號反饋至電氣驅動控制模塊(35),使驅動電機(21)停止轉動并向反方向進行轉動,使小車機架(1)向反方向進行移動,導軌(8)上端兩側的緩沖片(30)和固定塊(29)可以防止小車機架(1)超出移動范圍;步驟五:同時電氣驅動控制模塊(35)驅動連接軸(5)將刮泥板(4)擺動至另一側,從而方便對刮泥板(4)的方位進行控制,同時卡槽板(26)跟隨小車機架(1)一起移動,從而將側槽(28)內殘留的污泥排出;步驟六:小車機架(1)的內部設置有遠程信號接收模塊(33),可通過遠程操控對小車機架(1)進行啟動和暫停,同時設置延時模塊(32)可將小車機架(1)移動至一端后,暫停一端時間隨后向另一端進行移動,可通過遠程操控對延時模塊(32)的延時時間進行設置,同時小車機架(1)的內部設置有報警保護裝置(34),一但檢測到過載等風險會及時切斷電源,并通過遠程信號接收模塊(33)對工作人員進行提醒。
發明內容
本發明的目的在于提供一種智能式單軌刮泥機及其運行方法,以解決上述背景技術中提出的現有的單軌式排泥機主要是將一根軌道設置在沉淀池底部,在將刮泥結構設置在軌道上并進行往返移動,來達到排泥的目的,但市面上大多數單軌式排泥機主要是以單向排泥的方式將污泥從一個方向排出,不僅浪費了返回的時間,還降低了效率的問題。
為實現上述目的,本發明提供如下技術方案:一種智能式單軌刮泥機,包括導軌和沉淀池,所述導軌設置在沉淀池的內部底端;
還包括:
梯型底板,其設置在沉淀池的底端中間,梯型底板兩端均為向外傾斜設置,且導軌設置在梯型底板的上端并延伸出梯型底板的兩端,所述導軌的兩端均設置有圓形凸塊,且圓形凸塊與導軌一體成型設置,所述導軌的上端設置有小車機架,所述小車機架的兩端固定設置有固定桿,所述小車機架的底端設置有底凸塊,且底凸塊與小車機架一體成型設置,所述底凸塊的前后兩端均設置有固定管,且固定管通過螺紋連接固定安裝在底凸塊的前后兩端,所述固定管的前端設置有套環,所述導軌的上下兩端均設置有滑槽,且上端滑槽與凸塊進行卡合,所述圓形凸塊的一側設置有驅動電機,所述驅動電機的一端連接設置有傳動軸,且傳動軸延伸至圓形凸塊的內部,所述圓形凸塊之間設置有卡合轉軸,卡合轉軸與傳動軸的另一端連接,且卡合轉軸通過驅動電機進行轉動,所述導軌的外部一圈設置有環形鏈,環形鏈活動卡合在滑槽內部,環形鏈的兩端分別與兩端套環一一對應連接,且環形鏈通過卡合轉軸驅動進行移動,所述沉淀池的內部底端兩側均設置有集泥坑,所述淀池的內壁兩側設置有集泥管,且集泥管向下延伸并與集泥坑連接,所述集泥管的另一端設置有水泵。
優選的,所述導軌的兩側對稱設置有側槽,所述小車機架的兩側底端設置有側凸塊,且側凸塊與小車機架一體成型設置,所述側凸塊的底端設置有活動軸,所述活動軸的底端設置有滑輪,滑輪活動卡合在側槽的內部,且滑輪通過活動軸在側槽內進行轉動。
優選的,所述所述固定桿的底端均固定設置有固定板,所述固定板的底端設置有連接軸,所述連接軸的底端設置有刮泥板,且刮泥板通過連接軸驅動進行擺動,所述刮泥板的底端設置有橡膠刮片,所述固定板和刮泥板的外側均設置有側刮片。
優選的,兩側所述連接軸的內端對稱設置有卡槽板,且卡槽板與側槽的內部進行活動卡合,所述卡槽板的兩端均設置有圓弧角。
優選的,所述導軌的上端兩側均對稱設置有固定塊,兩側所述固定塊的前端對稱設置有彈簧,所述彈簧的前端設置有緩沖片。
優選的,所述圓形凸塊的右側設置有防護殼,防護殼螺紋連接安裝在圓形凸塊的右側,且防護殼套設在驅動電機的外部,所述防護殼的外部設置有密封圈。
優選的,所述導軌的兩側底端設置有安裝板,且安裝板設置有若干,所述安裝板的內部設置有螺栓,且導軌通過螺栓的螺紋連接固定在梯型底板的上端。
優選的,所述集泥管的表面設置有若干進泥口,所述進泥口的外部設置有濾網。
優選的,所述側槽的內部兩側對稱設置有往返信號接收片,所述小車機架的內部設置有遠程信號接收模塊和報警保護裝置,所述驅動電機的內部設置有延時模塊,所述驅動電機和連接軸的內部均設置有電氣驅動控制模塊,且延時模塊、往返信號接收片和報警保護裝置的輸出端與電氣驅動控制模塊的輸入端電性連接。
優選的,一種智能式單軌刮泥機的使用方法,包括以下步驟:
步驟一:將污水排入沉淀池加入藥劑使污水里的污泥與清水進行分離,從而使污泥沉淀在沉淀池的底端,同時啟動水泵將部分集泥坑里的污泥從集泥管進行抽離,集泥管底部設置多層進泥口,可以提高對污泥的吸收效率,并且在進泥口的表面設置濾網,以便于攔截大顆粒雜質。
步驟二:隨后啟動驅動電機,帶動卡合轉軸進行轉動,環形鏈通過與卡合轉軸的連接驅動進行移動,而環形鏈通過與套環的連接固定在小車機架的前后兩端,環形鏈移動帶動小車機架進行移動,從而使小車機架能夠在導軌上進行移動;
步驟三:小車機架的兩側設置可進行調節的刮泥板,當小車機架進行移動時帶動刮泥板進行移動,而刮泥板的底端和外側均設置有橡膠材質的刮片,用于對底部污泥刮向兩側的集泥坑內;
步驟四:當小車機架移動至導軌的一端邊緣時,滑輪與往返信號接收片接觸,并將信號反饋至電氣驅動控制模塊,使驅動電機停止轉動并向反方向進行轉動,使小車機架向反方向進行移動,導軌上端兩側的緩沖片和固定塊可以防止小車機架超出移動范圍;
步驟五:同時電氣驅動控制模塊驅動連接軸將刮泥板擺動至另一側,從而方便對刮泥板的方位進行控制,同時卡槽板跟隨小車機架一起移動,從而將側槽內殘留的污泥排出;
步驟六:小車機架的內部設置有遠程信號接收模塊,可通過遠程操控對小車機架進行啟動和暫停,同時設置延時模塊可將小車機架移動至一端后,暫停一端時間隨后向另一端進行移動,可通過遠程操控對延時模塊的延時時間進行設置,同時小車機架的內部設置有報警保護裝置,一但檢測到過載等風險會及時切斷電源,并通過遠程信號接收模塊對工作人員進行提醒。
與現有技術相比,本發明的有益效果是:
1、本發明通過在沉淀池內部的兩端設置集泥坑,同時將沉淀池的底部設置成梯型,將導軌設置在梯型底板的上端,并將導軌兩側延伸出梯型底板上端兩側,通過驅動結構對小車機架進行往返移動,使刮泥板可以在梯型底板上進行來回反復的刮泥處理,不但將小車機架返回過程的利用起來,同時提高了排泥效率,可以將一次刮泥時漏掉的污泥進行二次刮泥處理,減少了梯型底板表面的污泥殘留。
2、將小車機架的內部設置有遠程信號接收模塊,可以通過遠程操控對小車機架進行啟動和暫停,同時設置延時模塊,當小車機架移動至一端后,可使小車機架暫停一段時間隨后向另一端進行移動,并且可以通過遠程操控對延時模塊的延時時間進行設置,同時小車機架的內部設置有報警保護裝置,一但檢測到過載等風險會及時切斷電源,并通過遠程信號接收模塊對工作人員進行提醒,從而實現智能化的操作處理。
(發明人:王翔;周繼勇;黃艷輝;邵承宇;吳圳;錢俊)






