公布日:2023.10.20
申請日:2023.09.13
分類號:C10L3/10(2006.01)I;B01D53/75(2006.01)I;B01D53/78(2006.01)I;B01D53/84(2006.01)I;B01D53/52(2006.01)I;B01D53/26(2006.01)I;F16F15/067(2006.01)I
摘要
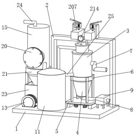
本發明屬于氣體分離技術領域,具體為一種復合式高效脫除硫化氫的分離設備,包括底板,所述底板的后上方固定安裝有加藥機構,所述加藥機構的前方安裝有相互平行的沉淀器,所述沉淀器的右側連接有相互流通的進氣管,所述沉淀器的底部固定連接有沉淀腔,所述沉淀腔呈圓錐形,所述沉淀腔的底部固定連接有與沉淀腔流通的淤泥管;本發明提供的復合式高效脫除硫化氫的分離設備,沉淀器可以將沉淀器內部甲烷中的硫磺與洗滌液進行混合,然后使硫磺沉淀,沉淀分離后的上清液和甲烷氣體通過左側的過渡管自流至反應器進行進一步反應,沉淀濃縮后的硫磺在沉淀腔的內部進行保存,之后由淤泥管和淤泥泵輸送至污水處理系統或污泥收集池進行進一步處理。

權利要求書
1.一種復合式高效脫除硫化氫的分離設備,包括底板和過渡管,其特征在于:所述底板的后上方固定安裝有加藥機構,所述加藥機構的前方安裝有相互平行的沉淀器,所述沉淀器的右側連接有相互流通的進氣管,所述沉淀器的底部固定連接有沉淀腔,所述沉淀腔呈圓錐形,所述沉淀腔的底部固定連接有與沉淀腔流通的淤泥管,所述淤泥管的右側安裝有淤泥泵,所述沉淀器的外部固定連接有固定柱,所述固定柱的底部焊接有減震機構,所述加藥機構包括背板、藥箱、堵塊、氣槽、限位桿、連接桿、安裝塊、第一彈簧、限位板、轉軸、把桿、按壓板、出藥管和pH值檢測表,所述背板的上方固定放置有藥箱,且藥箱的上方活動安裝有堵塊,所述堵塊的底部表面開設有相互對稱的兩組氣槽,所述堵塊的另外兩側固定有相互對稱的限位桿,所述堵塊的頂部固定安裝有圓心重合的連接桿,所述連接桿的頂部活動安裝有安裝塊,所述安裝塊的內部固定有第一彈簧,且第一彈簧的頂部固定有不與安裝塊連接的限位板,所述安裝塊的頂部右側安裝有轉軸,且轉軸的左上方活動安裝有把桿,所述把桿的中段底部設置有按壓板,所述藥箱的右側底部開設有出藥管,且藥箱的右側安裝有與沉淀器相互固定的pH值檢測表,所述減震機構包括支撐板、支撐柱、側板、第二彈簧和阻尼器,所述支撐板的底部固定有均勻分布的支撐柱,且支撐柱的底部兩側安裝有側板,所述側板內部通過中心板相互連接,所述中心板的底部固定連接有相互對稱的第二彈簧,所述第二彈簧的內部安裝有與中心板相互固定的阻尼器,所述過渡管連接于沉淀器的左上側,所述過渡管與沉淀器相互流通,所述過渡管的底部與反應器相互流通,所述反應器的內部放置有泵氣管,所述泵氣管的左側端部安裝有氣泵,所述反應器的頂部安裝有渡氣管,所述反應器的右上端固定有回流管與沉淀器相互流通,所述渡氣管的后方固定安裝有精脫器,所述精脫器的外部固定安裝有固定環,所述精脫器的內部安裝有尺寸相互吻合的鮑爾環,所述精脫器的頂部固定有出氣管。
2.根據權利要求1所述的復合式高效脫除硫化氫的分離設備,其特征在于,所述鮑爾環的前方開設調節口,且調節口通過凸環和密封環與前板進行連接,所述凸環和前板的尺寸相互吻合,所述前板與調節口相互密封。
3.根據權利要求1所述的復合式高效脫除硫化氫的分離設備,其特征在于,所述精脫器的底部固定有錐形出渣環,且出渣環的外部安裝有渣桶。
發明內容
本發明提供了一種復合式高效脫除硫化氫的分離設備,旨在解決現有技術中的現有的沼氣脫硫設備在使用過程中不方便對裝置進行減震,容易導致裝置在使用過程中損壞,同時沼氣脫硫不夠干凈,影響使用的問題。
本發明是這樣實現的:一種復合式高效脫除硫化氫的分離設備,包括底板,所述底板的后上方固定安裝有加藥機構,所述加藥機構的前方安裝有相互平行的沉淀器,所述沉淀器的右側連接有相互流通的進氣管。
優選的,所述沉淀器的底部固定連接有沉淀腔,所述沉淀腔呈圓錐形,所述沉淀腔的底部固定連接有與沉淀腔流通的淤泥管,所述淤泥管的右側安裝有淤泥泵。
優選的,所述沉淀器的外部固定連接有固定柱,所述固定柱的底部焊接有減震機構。
優選的,所述加藥機構包括背板、藥箱、堵塊、氣槽、限位桿、連接桿、安裝塊、第一彈簧、限位板、轉軸、把桿、按壓板、出藥管和pH值檢測表,所述背板的上方固定放置有藥箱,且藥箱的上方活動安裝有堵塊,所述堵塊的底部表面開設有相互對稱的兩組氣槽,所述堵塊的另外兩側固定有相互對稱的限位桿,所述堵塊的頂部固定安裝有圓心重合的連接桿,所述連接桿的頂部活動安裝有安裝塊,所述安裝塊的內部固定有第一彈簧,且第一彈簧的頂部固定有不與安裝塊連接的限位板,所述安裝塊的頂部右側安裝有轉軸,且轉軸的左上方活動安裝有把桿,所述把桿的中段底部設置有按壓板,所述藥箱的右側底部開設有出藥管,且藥箱的右側安裝有與沉淀器相互固定的pH值檢測表。
優選的,所述減震機構包括支撐板、支撐柱、側板、第二彈簧和阻尼器,所述支撐板的底部固定有均勻分布的支撐柱,且支撐柱的底部兩側安裝有側板,所述側板內部通過中心板相互連接,所述中心板的底部固定連接有相互對稱的第二彈簧,所述第二彈簧的內部安裝有與中心板相互固定的阻尼器。
優選的,所述沉淀器的左上側連接有過渡管,所述過渡管與沉淀器相互流通,所述過渡管的底部與反應器相互流通,所述反應器的內部放置有泵氣管,所述泵氣管的左側端部安裝有氣泵,所述反應器的頂部安裝有渡氣管,所述反應器的右上端固定有回流管與沉淀器相互流通。
優選的,所述渡氣管的后方固定安裝有精脫器,所述精脫器的外部固定安裝有固定環,所述精脫器的內部安裝有尺寸相互吻合的鮑爾環,所述精脫器的頂部固定有出氣管。
優選的,所述鮑爾環的前方開設調節口,且調節口通過凸環和密封環與前板進行連接,所述凸環和前板的尺寸相互吻合,所述前板與調節口相互密封。
優選的,所述精脫器的底部固定有錐形出渣環,且出渣環的外部安裝有渣桶。
本發明提供的復合式高效脫除硫化氫的分離設備,沉淀器可以將沉淀器內部甲烷中的硫磺與洗滌液進行混合,然后使硫磺沉淀,沉淀分離后的上清液和甲烷氣體通過左側的過渡管自流至反應器進行進一步反應,沉淀濃縮后的硫磺在沉淀腔的內部進行保存,之后由淤泥管和淤泥泵輸送至污水處理系統或污泥收集池進行進一步處理;
本發明提供的復合式高效脫除硫化氫的分離設備,加藥機構可以向沉淀器的內部輸入酸或鹽溶液,調節沉淀器內部溶液的pH值,在調節的時候首先通過pH值檢測表測試裝置內部的pH值,然后根據pH值添加酸或鹽溶液,在添加的時候把桿通過轉軸進行轉動,在向上轉動的時候按壓板會在安裝塊的頂部跟隨向上,因此按壓板底部接觸的連接桿會在第一彈簧的彈性作用下向上運動,使得堵塊就會被連接桿帶動向上運動,堵塊向上移動的時候底部的氣槽會與藥箱頂部的通孔接觸,此時堵塊與藥箱之間的接觸面不再密封,使得外部的空氣進入到藥箱的內部就可以將藥箱內部的溶液通過出藥管通入到沉淀器的內部進行pH值的調節;
本發明提供的復合式高效脫除硫化氫的分離設備,過渡管將沉淀器內部沉淀的上清液和甲烷氣體一起通入到反應器的內部進行生化脫硫操作,反應器左側的氣泵會將氧氣通過氣泵泵入到內部維持好氧微生物的生長,好氧微生物的成長過程是好氧的,氧在水溶液中的溶解度很低,要維持微生物的正常代謝,必須在過程中始終保持氧從氣相到液相的傳遞,保持好氧微生物的成活生長壯大,經微生物的作用,對甲烷內部的硫化氫進行反應去除,同時泵氣管將空氣送入曝反應器,通過泵氣管表面開設的微孔氣管,給反應器送入氧氣的同時利用空氣的噴射功能和流體重度差造成反應液循環流動來實現液體的攪拌和氧傳遞,之后除硫完成的氣體經渡氣管進入精脫器內部進行進一步脫硫以及脫水,然后反應器內部多余的液體經回流管回到沉淀器的內部經沉淀后,分離出的清液回流到反應器作為補充液,經生化后再次使用;
本發明提供的復合式高效脫除硫化氫的分離設備,經反應器脫硫的氣體進入到精脫器的內部進行進一步脫硫,在精脫器內部的鮑爾環中放置脫硫填充物和干燥劑,對甲烷進行脫硫和脫水操作,然后通過出氣管通出裝置以便使用。
(發明人:朱勁松;吳亞楠;樂東升)






