公布日:2024.04.26
申請日:2024.02.22
分類號:C02F3/28(2023.01)I;C02F3/34(2023.01)I;C02F1/461(2023.01)I;C02F101/30(2006.01)N;C02F101/16(2006.01)N;C02F101/10(2006.01)N
摘要
本發明提供一種輪轉式耦合污水處理裝置。所述輪轉式耦合污水處理裝置包括進水管,所所述池體的內部分為處理有機物的分解室、通過硫自養反硝化技術處理氮的除氮室和處理COD、總磷的微電解室;所述分解室和所述除氮室的內部轉動連接所述第一盤體,且所述外殼、所述分解室和所述除氮室的內部均等距安裝多個環形的所述擋板,所述微電解室的內部轉動連接所述第二盤體;所述第一盤體的側壁安裝多個用于清理所述擋板表面的第一刮板,且所述第一盤體的居中處安裝用于所述擋板內環的第二刮板;所述池體的一端安裝用于向所述微電解室內部提供氧氣的曝氣機構。本發明提供的輪轉式耦合污水處理裝置具有防止盤片表面生物膜層過厚、提高污水處理效果的優點。

權利要求書
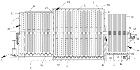
1.一種輪轉式耦合污水處理裝置,其特征在于,包括:進水管(1),所述進水管(1)安裝于儲存機構(2)的頂端,所述儲存機構(2)包括池體(21),所述池體(21)的側壁安裝所述進水管(1),且所述池體(21)的內部分為處理有機物的分解室(23)、通過硫自養反硝化技術處理氮的除氮室(24)和處理COD、總磷的微電解室(25);所述儲存機構(2)的內部轉動連接轉盤(6),所述轉盤(6)包括第一盤體(61)、擋板(62)和第二盤體(63),所述分解室(23)和所述除氮室(24)的內部轉動連接所述第一盤體(61),所述分解室(23)和所述除氮室(24)的表面安裝用于使其內部處于密封狀態的外殼(22),所述外殼(22)的表面安裝排氣管(10),且所述外殼(22)、所述分解室(23)和所述除氮室(24)的內部均等距安裝多個環形的所述擋板(62),所述第一盤體(61)和所述擋板(62)的側壁均設有波浪線的凸起(66),所述微電解室(25)的內部轉動連接所述第二盤體(63);所述轉盤(6)安裝于連接機構(7)的側壁,且所述連接機構(7)的一端安裝用于帶動所述連接機構(7)轉動的驅動機構(3);所述連接機構(7)包括第一轉軸(71)、第二轉軸(74)和第三轉軸(75),所述第二盤體(63)通過螺栓固定在所述第一轉軸(71)的側壁,所述第一盤體(61)通過螺栓固定在所述第二轉軸(74)的側壁,所述第二轉軸(74)和所述第三轉軸(75)的一端均固定連接六棱柱形的固定塊(73),所述第一轉軸(71)的內部安裝液壓桿(72),所述液壓桿(72)的一端連接所述第二轉軸(74)一側的所述固定塊(73);所述第二轉軸(74)滑動連接所述第一轉軸(71)的內部,所述第三轉軸(75)滑動連接所述第二轉軸(74)的內部;所述第一盤體(61)的側壁安裝多個用于清理所述擋板(62)表面的第一刮板(64),且所述第一盤體(61)的居中處安裝用于所述擋板(62)內環的第二刮板(65);所述第一轉軸(71)和所述第二轉軸(74)的內部均滑動連接六棱柱形的固定塊(73),從而使所述第一轉軸(71)、所述第二轉軸(74)和所述第三轉軸(75)同步轉動;所述池體(21)的一端安裝用于向所述微電解室(25)內部提供氧氣的曝氣機構(4),所述池體(21)的側壁安裝用于清理所述分解室(23)和所述除氮室(24)的內部污泥的除雜機構(5)。
2.根據權利要求1所述的輪轉式耦合污水處理裝置,其特征在于,所述驅動機構(3)包括固定軸(31)、套軸(32)、皮帶(33)和電機(34),所述池體(21)的一側安裝所述電機(34),所述電機(34)的一端、所述固定軸(31)和所述第三轉軸(75)的側壁分別安裝所述套軸(32),相鄰的所述套軸(32)之間通過所述皮帶(33)連接。
3.根據權利要求2所述的輪轉式耦合污水處理裝置,其特征在于,所述分解室(23)、所述除氮室(24)和所述微電解室(25)的底端均安裝第三隔板(29),所述分解室(23)與所述除氮室(24)之間通過第一隔板(26)隔開,且所述第一隔板(26)頂端側壁設有使所述分解室(23)與所述除氮室(24)相互連通的凹槽。
4.根據權利要求3所述的輪轉式耦合污水處理裝置,其特征在于,所述除雜機構(5)包括清理管(51)、收集板(52)、筒體(53)、活塞(54)、排污管(55)、第一齒輪(56)、第二齒輪(57)和曲柄連桿(58),所述分解室(23)和所述除氮室(24)底端的所述第一隔板(26)的側壁安裝側壁呈弧形的所述收集板(52),所述收集板(52)的底端連通所述清理管(51),所述筒體(53)的側壁安裝所述清理管(51)和所述排污管(55);所述筒體(53)的內部安裝使所述筒體(53)內部產生吸力的所述活塞(54),所述活塞(54)轉動連接所述曲柄連桿(58);所述第二齒輪(57)的側壁安裝所述套軸(32);所述第二齒輪(57)嚙合所述第一齒輪(56),且所述第一齒輪(56)固定于所述曲柄連桿(58)的側壁。
5.根據權利要求4所述的輪轉式耦合污水處理裝置,其特征在于,所述曲柄連桿(58)和所述第二齒輪(57)均安裝于所述池體(21)的側壁,且所述第二齒輪(57)的直徑大于所述第一齒輪(56)的直徑。
6.根據權利要求4所述的輪轉式耦合污水處理裝置,其特征在于,所述清理管(51)和所述排污管(55)的內部均安裝單向閥(9),所述單向閥(9)包括密封塊(91)、卡球(92)和限位桿(93),所述清理管(51)和所述排污管(55)的內部均安裝所述限位桿(93)和兩端呈漏斗形的所述密封塊(91),所述密封塊(91)的內部卡合所述卡球(92),且所述卡球(92)抵觸所述限位桿(93)的側壁。
7.根據權利要求3所述的輪轉式耦合污水處理裝置,其特征在于,所述曝氣機構(4)包括風機(41)、連接管(42)和噴管(43),所述微電解室(25)底端的所述第一隔板(26)的側壁傾斜安裝多個所述噴管(43),所述池體(21)的側壁安裝所述風機(41),所述連接管(42)的兩端分別連通所述噴管(43)和所述連接管(42)。
8.根據權利要求3所述的輪轉式耦合污水處理裝置,其特征在于,所述除氮室(24)和所述微電解室(25)的連接處安裝第二隔板(27),所述第二隔板(27)的頂面設有儲存槽(28),且所述微電解室(25)的側壁安裝多個用于向所述儲存槽(28)的內部排水的連通管(211);所述微電解室(25)的兩端均設有連通槽(210),且其中一條所述連通槽(210)與所述儲存槽(28)連通。
9.根據權利要求1所述的輪轉式耦合污水處理裝置,其特征在于,多塊安裝板(631)通過螺栓固定在所述第二盤體(63)的側壁,所述安裝板(631)的側壁安裝碳棒(632)或鐵棒(633)。
發明內容
本發明解決的技術問題是提供一種防止盤片表面生物膜層過厚、提高污水處理效果的輪轉式耦合污水處理裝置。
為解決上述技術問題,本發明提供的輪轉式耦合污水處理裝置包括:進水管,所述進水管安裝于儲存機構的頂端,所述儲存機構包括池體,所述池體的側壁安裝所述進水管,且所述池體的內部分為處理有機物的分解室、通過硫自養反硝化技術處理氮的除氮室和處理COD、總磷的微電解室;所述儲存機構的內部轉動連接轉盤,所述轉盤包括第一盤體、擋板和第二盤體,所述分解室和所述除氮室的內部轉動連接所述第一盤體,所述分解室和所述除氮室的表面安裝用于使其內部處于密封狀態的外殼,所述外殼的表面安裝排氣管,且所述外殼、所述分解室和所述除氮室的內部均等距安裝多個環形的所述擋板,所述微電解室的內部轉動連接所述第二盤體;所述轉盤安裝于連接機構的側壁,且所述連接機構的一端安裝用于帶動所述連接機構轉動的驅動機構;所述連接機構包括第一轉軸、第二轉軸和第三轉軸,所述第二盤體通過螺栓固定在所述第一轉軸的側壁,所述第一盤體通過螺栓固定在所述第二轉軸的側壁,所述第二轉軸和所述第三轉軸的一端均固定連接六棱柱形的固定塊,所述第一轉軸的內部安裝液壓桿,所述液壓桿的一端連接所述第二轉軸一側的所述固定塊;所述第二轉軸滑動連接所述第一轉軸的內部,所述第三轉軸滑動連接所述第二轉軸的內部;所述第一盤體的側壁安裝多個用于清理所述擋板表面的第一刮板,且所述第一盤體的居中處安裝用于所述擋板內環的第二刮板;所述池體的一端安裝用于向所述微電解室內部提供氧氣的曝氣機構,所述池體的側壁安裝用于清理所述分解室和所述除氮室的內部污泥的除雜機構。
優選的,所述驅動機構包括固定軸、套軸、皮帶和電機,所述池體的一側安裝所述電機,所述電機的一端、所述固定軸和所述第三轉軸的側壁分別安裝所述套軸,相鄰的所述套軸之間通過所述皮帶連接。
優選的,所述分解室、所述除氮室和所述微電解室的底端均安裝第三隔板,所述分解室與所述除氮室之間通過第一隔板隔開,且所述第一隔板頂端側壁設有使所述分解室與所述除氮室相互連通的凹槽。
優選的,所述除雜機構包括清理管、收集板、筒體、活塞、排污管、第一齒輪、第二齒輪和曲柄連桿,所述分解室和所述除氮室底端的所述第一隔板的側壁安裝側壁呈弧形的所述收集板,所述收集板的底端連通所述清理管,所述筒體的側壁安裝所述清理管和所述排污管;所述筒體的內部安裝使所述筒體內部產生吸力的所述活塞,所述活塞轉動連接所述曲柄連桿;所述第二齒輪的側壁安裝所述套軸;所述第二齒輪嚙合所述第一齒輪,且所述第一齒輪固定于所述曲柄連桿的側壁。
優選的,所述曲柄連桿和所述第二齒輪均安裝于所述池體的側壁,且所述第二齒輪的直徑大于所述第一齒輪的直徑。
優選的,所述清理管和所述排污管的內部均安裝單向閥,所述單向閥包括密封塊、卡球和限位桿,所述清理管和所述排污管的內部均安裝所述限位桿和兩端呈漏斗形的所述密封塊,所述密封塊的內部卡合所述卡球,且所述卡球抵觸所述限位桿的側壁。
優選的,所述曝氣機構包括風機、連接管和噴管,所述微電解室底端的所述第一隔板的側壁傾斜安裝多個所述噴管,所述池體的側壁安裝所述風機,所述連接管的兩端分別連通所述噴管和所述連接管。
優選的,所述除氮室和所述微電解室的連接處安裝第二隔板,所述第二隔板的頂面設有儲存槽,且所述微電解室的側壁安裝多個用于向所述儲存槽的內部排水的連通管;所述微電解室的兩端均設有連通槽,且其中一條所述連通槽與所述儲存槽連通。
優選的,多塊安裝板通過螺栓固定在所述第二盤體的側壁,所述安裝板的側壁安裝碳棒或鐵棒。
與相關技術相比較,本發明提供的輪轉式耦合污水處理裝置具有如下有益效果:
本發明提供一種輪轉式耦合污水處理裝置,在處理污水過程中,污水依次通過所述分解室、所述除氮室和所述微電解室,所述分解室和所述除氮室處于無氧狀態,所述分解室內部的所述第一盤體和所述擋板的表面鋪滿產甲烷菌的生物膜,產甲烷菌對污水中的有機物進行分解成甲烷和二氧化碳等物質,同時污水中的氧氣在所述分解室內部耗盡,經過初步處理和耗盡氧氣的污水進入所述除氮室的內部;所述除氮室內部的所述第一盤體和所述擋板的表面鋪滿硫自養反硝化微生物的生物膜,在硫自養反硝化微生物的作用下,以CO2、HCO3-和CO32-等作為無機碳源,以還原態無機物質(包括S、S-、S2-、S2O32-、Fe和Fe2+等)作為電子供體,將缺少有機碳源的低碳氮比水體中的硝態氮(包括NO3--N和NO2--N)還原為氮氣(N2)的過程,對污水進行脫氮處理,且所述除氮室的直徑和長度大于所述分解室的直徑和長度,從而減緩污水在所述除氮室內部的流速和增加污水在所述除氮室內部的處理時間,從而增加水力停留時間,對于硫自養反硝化過程,由于其為釋能反應,若是水力停留時間過短,該反應所產生的能量不能夠滿足細胞合成代謝的需要,水力停留時間與硫自養反硝化過程中亞硝酸鹽的積累密切相關,隨著水力停留時間的增大,所述除氮室產生亞硝酸鹽的積累,亞硝酸鹽有利于提高硫自養反硝化微生物去除氨氮的效率;經過除氮的污水進入所述微電解室內部進行微電解處理,去除污水中的總磷等污染物;在使用過程中,當所述擋板表面的生物膜層過厚時,打開所述液壓桿,所述液壓桿推動所述第二轉軸運動,所述第二轉軸推動所述第一盤體運動靠近所述擋板,使所述第一刮板靠近貼合所述第一盤體的側壁,且所述第二刮板進入所述第一盤體的內環處,所述驅動機構運動帶動所述第一盤體、所述第一刮板和所述第二刮板轉動,所述第一刮板轉動將所述擋板表面過厚的生物膜層刮去,所述第二刮板將吸附在所述第一盤體內環處的雜質刮去,便于污水貫穿所述擋板,所述第一盤體的側壁安裝所述第一刮板,所述第一刮板使所述第一盤體與所述擋板之間存在一定的間距,在轉動時既清理所述第一盤體表面一部分生物膜,且避免所述第一盤體表面的生物膜層損傷太過嚴重,避免生物膜層過厚,提高污水的處理效率。
(發明人:方佩珍;肖敦泉;胡濤;盧軍;李軍;尚永超)






