公布日:2023.11.07
申請日:2023.08.30
分類號:C02F9/00(2023.01)I;C02F1/48(2023.01)N;C02F1/52(2023.01)N;C02F1/00(2023.01)N
摘要
本申請公開了一種環保工程廢水處理回收利用系統,涉及廢水處理技術領域;本申請使用了一種環保工程廢水處理回收利用裝置,該環保工程廢水處理回收利用裝置包括混凝筒和過濾筒,二者通過支架呈上下設置,所述混凝筒和所述過濾筒之間連通有輸送管;本申請濾網由錐形過濾網和錐形環網組成,錐形過濾網對廢水進行過濾,攔截的雜質從錐形過濾網滑落至錐形環網上,再通過弧形刮板和弧形撥板的配合,將滑落至錐形環網上的雜質推送至集料環與過濾筒內壁之間形成的環形集料槽內,最后再通過清理板的刮刷將雜質從卸料道排出,裝置整體的構造,不僅可以有效的確保在過濾時濾網不會堵塞,同時,可以及時的將攔截的雜質進行清理,從而提高了實用性。

權利要求書
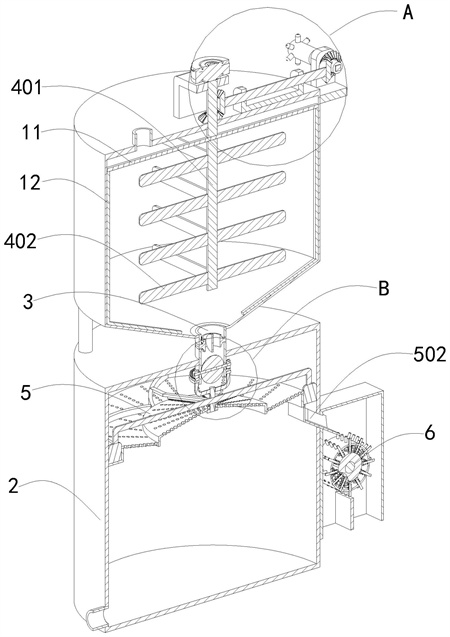
1.一種環保工程廢水處理回收利用系統,其特征在于,包括:混凝筒(1)和過濾筒(2),二者通過支架呈上下設置,所述混凝筒(1)和所述過濾筒(2)之間連通有輸送管(3),所述輸送管(3)上設置有閥門,所述混凝筒(1)內設置有攪拌機構(4);過濾機構(5),包括設置在所述過濾筒(2)內部的集料環(501),所述集料環(501)的縱截面呈L形構造且與所述過濾筒(2)的內壁之間形成有環形集料槽,所述過濾筒(2)的外壁設置有與環形集料槽連通的卸料道(502),所述集料環(501)的內壁設置有錐形環網(503),所述錐形環網(503)的內壁設置有錐形過濾網(504),所述錐形環網(503)上對稱鉸接有與所述錐形環網(503)搭接的弧形撥板(505),所述錐形過濾網(504)上同軸轉動設置有軸桿(506),所述軸桿(506)上對稱設置有兩個連接桿(507),兩個所述連接桿(507)的端部均設置有與所述錐形環網(503)搭接的弧形刮板(508),所述軸桿(506)上設置有支桿(5010),所述支桿(5010)的兩端均設置有滑動插設在環形集料槽內的清理板(5011),所述輸送管(3)上設置有用于借助水流帶動所述軸桿(506)轉動的水動力機構(509);金屬回收機構(6),設置在所述過濾筒(2)上且與所述卸料道(502)連通,其用于對雜質中的金屬物體分離回收。
2.根據權利要求1所述的環保工程廢水處理回收利用系統,其特征在于,所述水動力機構(509)包括:轉桿(5091),轉動貫穿所述輸送管(3),所述轉桿(5091)上固設有位于所述輸送管(3)內的葉輪(5092),所述轉桿(5091)的兩端均固設有傳動錐齒輪(5093);套環(5094),轉動套設在所述輸送管(3)上,所述套環(5094)上固設有與兩個所述傳動錐齒輪(5093)齒壓嚙合的從動錐齒環(5095),所述套環(5094)與所述軸桿(506)連接有連動桿(5096)。
3.根據權利要求1所述的環保工程廢水處理回收利用系統,其特征在于,所述攪拌機構(4)包括:攪拌桿(401),同軸轉動貫穿所述混凝筒(1)的頂部,所述攪拌桿(401)位于所述混凝筒(1)內的一端外表面陣列設置有若干個呈環形分布的攪拌葉(402),所述攪拌桿(401)的頂端連接有設置在所述混凝筒(1)上的電機(403)。
4.根據權利要求1所述的環保工程廢水處理回收利用系統,其特征在于,所述錐形環網(503)上設置有立柱(7),所述立柱(7)的端部設置有限位板(8),所述弧形撥板(505)的一端轉動套設在所述立柱(7)上,所述限位板(8)與所述弧形撥板(505)之間連接有套設在所述立柱(7)上的扭簧(9)。
5.根據權利要求3所述的環保工程廢水處理回收利用系統,其特征在于,所述金屬回收機構(6)包括:底部為開口的處理箱(601),設置在所述過濾筒(2)上且與所述卸料道(502)連通,所述處理箱(601)的底部設置有分隔板(602);導桿(603),轉動貫穿所述處理箱(601)的一側內壁,所述導桿(603)位于所述處理箱(601)內的一端固設有轉筒(604),所述轉筒(604)的外表面滑動貫穿有若干個呈環形分布的磁棒(605),所述磁棒(605)位于所述轉筒(604)內的一端固設有限位塊(606),所述限位塊(606)與所述轉筒(604)的內壁之間安裝有套設在所述導桿(603)上的彈簧(607);固定桿(608),固設在所述處理箱(601)遠離所述導桿(603)的一側內壁,所述固定桿(608)上固設有位于所述轉筒(604)內的圓柱(6010),所述圓柱(6010)的一側開設有避讓槽(6011);聯動件(609),設置在所述混凝筒(1)上,當所述攪拌桿(401)轉動時,所述聯動件(609)帶動所述導桿(603)同步轉動。
6.根據權利要求5所述的環保工程廢水處理回收利用系統,其特征在于,所述聯動件(609)包括:第一聯動桿(6091)和第二聯動桿(6092),均通過支座轉動設置在所述混凝筒(1)上;兩個第一錐齒輪(6093),分別固設在所述第一聯動桿(6091)的兩端;兩個第二錐齒輪(6094),其中一個所述第二錐齒輪(6094)固設在所述攪拌桿(401)上,另一個所述第二錐齒輪(6094)固設在所述第二聯動桿(6092)上,兩個所述第二錐齒輪(6094)分別與兩個所述第一錐齒輪(6093)齒壓嚙合;皮帶輪組件(6095),連接在所述第二聯動桿(6092)和所述導桿(603)之間。
7.根據權利要求6所述的環保工程廢水處理回收利用系統,其特征在于,所述第二聯動桿(6092)包括第一桿體(60921)和第二桿體(60922),所述第一桿體(60921)和所述第二桿體(60922)互不搭接,另一個所述第二錐齒輪(6094)固設在所述第一桿體(60921)上,所述皮帶輪組件(6095)遠離所述導桿(603)的一端設置在所述第二桿體(60922)上,所述第一桿體(60921)和所述第二桿體(60922)之間連接有調節件(60923),所述調節件(60923)用于將所述第一桿體(60921)和所述第二桿體(60922)連接或斷開連接。
8.根據權利要求7所述的環保工程廢水處理回收利用系統,其特征在于,所述調節件(60923)包括:矩形桿(609231),所述第一桿體(60921)和所述第二桿體(60922)上均同軸貫穿開始有矩形槽(609232),所述矩形桿(609231)滑動貫穿兩個所述矩形槽(609232);套筒(609233),轉動設置在所述矩形桿(609231)的一端,所述套筒(609233)與所述第一桿體(60921)螺紋連接。
9.根據權利要求1所述的環保工程廢水處理回收利用系統,其特征在于,兩個所述連接桿(507)上均設置有第一刷板(10),兩個所述第一刷板(10)均與所述錐形過濾網(504)抵觸搭接。
10.根據權利要求3所述的環保工程廢水處理回收利用系統,所述攪拌桿(401)上設置有支板(11),所述支板(11)的兩端均設置有第二刷板(12),兩個所述第二刷板(12)均與所述混凝筒(1)的內壁抵觸搭接。
發明內容
本申請的目的在于:為解決現有廢水處理回收利用設備在過濾廢水時,雜質容易堵住過濾網,且需要頻繁停止廢水過濾,對攔截的雜質進行清理,導致進程延誤,使得處理效率低下,同時,不能在對雜質進行過濾的同時將雜質中的金屬物質分離回收的問題,本申請提供了一種環保工程廢水處理回收利用系統。
本申請為了實現上述目的具體采用以下技術方案:
一種環保工程廢水處理回收利用系統,包括:
混凝筒和過濾筒,二者通過支架呈上下設置,所述混凝筒和所述過濾筒之間連通有輸送管,所述輸送管上設置有閥門,所述混凝筒內設置有攪拌機構;
過濾機構,包括設置在所述過濾筒內部的集料環,所述集料環的縱截面呈L形構造且與所述過濾筒的內壁之間形成有環形集料槽,所述過濾筒的外壁設置有與環形集料槽連通的卸料道,所述集料環的內壁設置有錐形環網,所述錐形環網的內壁設置有錐形過濾網,所述錐形環網上對稱鉸接有與所述錐形環網搭接的弧形撥板,所述錐形過濾網上同軸轉動設置有軸桿,所述軸桿上對稱設置有兩個連接桿,兩個所述連接桿的端部均設置有與所述錐形環網搭接的弧形刮板,所述軸桿上設置有支桿,所述支桿的兩端均設置有滑動插設在環形集料槽內的清理板,所述輸送管上設置有用于借助水流帶動所述軸桿轉動的水動力機構;
金屬回收機構,設置在所述過濾筒上且與所述卸料道連通,其用于對雜質中的金屬物體分離回收。
進一步地,所述水動力機構包括:
轉桿,轉動貫穿所述輸送管,所述轉桿上固設有位于所述輸送管內的葉輪,所述轉桿的兩端均固設有傳動錐齒輪;
套環,轉動套設在所述輸送管上,所述套環上固設有與兩個所述傳動錐齒輪齒壓嚙合的從動錐齒環,所述套環與所述軸桿連接有連動桿。
進一步地,所述攪拌機構包括:
攪拌桿,同軸轉動貫穿所述混凝筒的頂部,所述攪拌桿位于所述混凝筒內的一端外表面陣列設置有若干個呈環形分布的攪拌葉,所述攪拌桿的頂端連接有設置在所述混凝筒上的電機。
進一步地,所述錐形環網上設置有立柱,所述立柱的端部設置有限位板,所述弧形撥板的一端轉動套設在所述立柱上,所述限位板與所述弧形撥板之間連接有套設在所述立柱上的扭簧。
進一步地,所述金屬回收機構包括:
底部為開口的處理箱,設置在所述過濾筒上且與所述卸料道連通,所述處理箱的底部設置有分隔板;
導桿,轉動貫穿所述處理箱的一側內壁,所述導桿位于所述處理箱內的一端固設有轉筒,所述轉筒的外表面滑動貫穿有若干個呈環形分布的磁棒,所述磁棒位于所述轉筒內的一端固設有限位塊,所述限位塊與所述轉筒的內壁之間安裝有套設在所述導桿上的彈簧;
固定桿,固設在所述處理箱遠離所述導桿的一側內壁,所述固定桿上固設有位于所述轉筒內的圓柱,所述圓柱的一側開設有避讓槽;
聯動件,設置在所述混凝筒上,當所述攪拌桿轉動時,所述聯動件帶動所述導桿同步轉動。
進一步地,所述聯動件包括:
第一聯動桿和第二聯動桿,均通過支座轉動設置在所述混凝筒上;
兩個第一錐齒輪,分別固設在所述第一聯動桿的兩端;
兩個第二錐齒輪,其中一個所述第二錐齒輪固設在所述攪拌桿上,另一個所述第二錐齒輪固設在所述第二聯動桿上,兩個所述第二錐齒輪分別與兩個所述第一錐齒輪齒壓嚙合;
皮帶輪組件,連接在所述第二聯動桿和所述導桿之間。
進一步地,所述第二聯動桿包括第一桿體和第二桿體,所述第一桿體和所述第二桿體互不搭接,另一個所述第二錐齒輪固設在所述第一桿體上,所述皮帶輪組件遠離所述導桿的一端設置在所述第二桿體上,所述第一桿體和所述第二桿體之間連接有調節件,所述調節件用于將所述第一桿體和所述第二桿體連接或斷開連接。
進一步地,所述調節件包括:
矩形桿,所述第一桿體和所述第二桿體上均同軸貫穿開始有矩形槽,所述矩形桿滑動貫穿兩個所述矩形槽;
套筒,轉動設置在所述矩形桿的一端,所述套筒與所述第一桿體螺紋連接。
進一步地,兩個所述連接桿上均設置有第一刷板,兩個所述第一刷板均與所述錐形過濾網抵觸搭接。
進一步地,所述攪拌桿上設置有支板,所述支板的兩端均設置有第二刷板,兩個所述第二刷板均與所述混凝筒的內壁抵觸搭接。
本申請的有益效果如下:
1、在本申請中,濾網由錐形過濾網和錐形環網組成,錐形過濾網對廢水進行過濾,攔截的雜質從錐形過濾網滑落至錐形環網上,再通過弧形刮板和弧形撥板的配合,將滑落至錐形環網上的雜質推送至集料環與過濾筒內壁之間形成的環形集料槽內,最后再通過清理板的刮刷將雜質從卸料道排出,裝置整體的構造,不僅可以有效的確保在過濾時濾網不會堵塞,同時,可以及時的將攔截的雜質進行清理,錐形過濾網和錐形環網的構造,使得其具有一個供雜質移動的V形狀移道,在移除雜質時,不會造成水流過多外泄,且排出的雜質不會過多含有水分,從而提高了實用性。
2、在本申請中,將圓柱同軸設置在轉筒內,并在圓柱的一側開設避讓槽,利用彈簧的彈力抵觸,當限位塊與圓柱的圓弧外表面搭接時,彈簧壓縮,磁棒的端部位于轉筒外部,金屬雜質會吸附在磁棒上,隨著轉筒的持續轉動,當磁棒轉動至避讓槽的位置后,磁棒上的限位塊不會再受到圓柱圓弧外表面的反抵觸,從而使得其上的彈簧得到釋壓,在彈簧的彈力抵觸下,磁棒滑動收縮至轉筒內,從而將其上吸附的金屬物質剝離,以實現將雜質中的金屬物質分離回收的作用。
(發明人:許勇飛;暢哲;盧佳;周宏麗)






