公布日:2023.10.31
申請日:2023.09.12
分類號:C02F3/12(2023.01)I
摘要
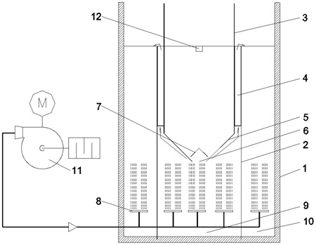
本申請公開了一種蜂窩型泥水分離裝置,包括兩組氣提組件,兩組氣提組件之間形成沉淀區,任一組氣提組件均包括豎直設置的外背板以及與外背板平行并間隔設置的內背板,外背板與內背板之間的間隔設置有多個豎直且獨立的污泥氣提回流提升通道;其中,兩個外背板向下沿至沉淀區底板處,兩個內背板分別位于兩個外背板之間,且任一個內背板底部均設置有朝另一個內背板方向彎折的斜板,兩個斜板端部間隔設置并形成具有窄縫的V字形泥斗,沉淀區底部設置有用于在產生氣泡的氣體擴散設備。該裝置完全取締事故率高且能耗高的刮吸泥機及機械泵,在不額外設置傳統氣提裝置的前提下,解決傳統單個氣提單點回流所導致的沉淀區底部易形成死角的技術難題。

權利要求書
1.一種蜂窩型泥水分離裝置,其特征在于,包括兩組氣提組件,兩組所述氣提組件之間形成沉淀區,任一組所述氣提組件均包括豎直設置的外背板以及與所述外背板平行并間隔設置的內背板,所述外背板與所述內背板之間的間隔設置有多個豎直且獨立的污泥氣提回流提升通道;其中,兩個外背板延伸至所述沉淀區底部,兩個所述內背板分別位于兩個所述外背板之間,且任一個所述內背板底部均設置有朝另一個所述內背板方向彎折的斜板,兩個所述斜板端部間隔設置并形成具有窄縫的V字形泥斗,所述V字形泥斗懸空設置,所述沉淀區底部設置有用于在產生氣泡的氣體擴散設備。
2.根據權利要求1所述的蜂窩型泥水分離裝置,其特征在于,同一組所述氣提組件中的所述外背板和所述內背板,兩者之間固定設置有溝槽呈豎直向的瓦楞板,所述瓦楞板上的所述溝槽分別與所述外背板和所述內背板形成緊密相鄰且僅有兩端開口的所述提升通道。
3.根據權利要求2所述的蜂窩型泥水分離裝置,其特征在于,所述瓦楞板兩側具有凸起特征的部位與兩側的所述外背板和所述內背板焊接或對夾式撬裝,并形成獨立的預制結構,多個所述預制結構密封連接,以形成長度和高度可調的所述提升通道。
4.根據權利要求3所述的蜂窩型泥水分離裝置,其特征在于,相鄰的兩個所述預制結構之間通過多個T型連接件密封連接,所述T型連接件用于連接兩個所述外背板相鄰的兩個側邊或用于連接兩個所述內背板相鄰的兩個側邊,任一所述T型連接件包括:連接板,與兩個所述外背板相鄰的兩個側邊存在重疊,或與兩個所述內背板相鄰的兩個側邊存在重疊;加強板,設置在所述連接板中部,用于加強所述連接板的連接強度;鎖緊件,用于鎖緊所述連接板與所述外背板或所述內背板具有重疊的部分。
5.根據權利要求1所述的蜂窩型泥水分離裝置,其特征在于,所述斜板的彎折角度為30°-70°,且在所述窄縫上方或下方設置有倒V型集氣罩,所述倒V型集氣罩兩邊下緣與兩個所述斜板均留有縫隙。
6.根據權利要求5所述的蜂窩型泥水分離裝置,其特征在于,所述倒V型集氣罩兩端的水平寬度大于所述窄縫的寬度。
7.根據權利要求1-6任一項所述的蜂窩型泥水分離裝置,其特征在于,兩組氣提組件內置于外箱體中,兩組所述氣提組件中的所述外背板向下、向兩側延伸并與所述外箱體的底面、兩側面抵持,所述外背板與所述外箱體另外兩側面之間形成反應區。
8.根據權利要求7所述的蜂窩型泥水分離裝置,其特征在于,兩組所述氣提組件中的所述內背板向兩側延伸并與所述外箱體兩側面抵持,以形成與所述箱體通長的所述提升通道,所述內背板向上延伸,并超出所述外背板的高度,所述外背板的高度不高于所述沉淀區沉淀液面1m。
9.根據權利要求7所述的蜂窩型泥水分離裝置,其特征在于,所述反應區底部也設置有用于產生氣泡的氣體擴散設備,所述氣體擴散設備外接風機。
10.根據權利要求7所述的蜂窩型泥水分離裝置,其特征在于,所述外箱體為砼結構或鋼結構。
發明內容
本申請的目的是提供一種蜂窩型泥水分離裝置,該裝置完全取締事故率高且能耗高的傳統工藝所依賴的刮吸泥機及機械泵,在無需設置傳統氣提裝置的前提下,解決傳統單個氣提單點回流所導致的沉淀區底部易形成死角的技術難題。
為實現上述目的,本申請提供一種蜂窩型泥水分離裝置,包括兩組氣提組件,兩組所述氣提組件之間形成沉淀區,任一組所述氣提組件均包括豎直設置的外背板以及與所述外背板平行并間隔設置的內背板,所述外背板與所述內背板之間的間隔設置有多個豎直且獨立的污泥氣提回流提升通道;
其中,兩個外背板延伸至所述沉淀區底部,兩個所述內背板分別位于兩個所述外背板之間,且任一個所述內背板底部均設置有朝另一個所述內背板方向彎折的斜板,兩個所述斜板端部間隔設置并形成具有窄縫的V字形泥斗,所述V字形泥斗懸空設置,所述沉淀區底部設置有用于在產生氣泡的氣體擴散設備。
優選地,同一組所述氣提組件中的所述外背板和所述內背板,兩者之間固定設置有溝槽呈豎直向的瓦楞板,所述瓦楞板上的所述溝槽分別與所述外背板和所述內背板形成緊密相鄰且僅有兩端開口的所述提升通道。
優選地,所述瓦楞板兩側具有凸起特征的部位與兩側的所述外背板和所述內背板焊接或對夾式撬裝,并形成獨立的預制結構,多個所述預制結構密封連接,以形成長度和高度可調的所述提升通道。
優選地,相鄰的兩個所述預制結構之間通過多個T型連接件密封連接,所述T型連接件用于連接兩個所述外背板相鄰的兩個側邊或用于連接兩個所述內背板相鄰的兩個側邊,任一所述T型連接件包括:
連接板,與兩個所述外背板相鄰的兩個側邊存在重疊,或與兩個所述內背板相鄰的兩個側邊存在重疊;
加強板,設置在所述連接板中部,用于加強所述連接板的連接強度;
鎖緊件,用于鎖緊所述連接板與所述外背板或所述內背板具有重疊的部分。
優選地,所述斜板的彎折角度為30°-70°,且在所述窄縫上方或下方設置有倒V型集氣罩,所述倒V型集氣罩兩邊下緣與兩個所述斜板均留有縫隙。
優選地,所述倒V型集氣罩兩端的水平寬度大于所述窄縫的寬度。
優選地,兩組氣提組件內置于外箱體中,兩組所述氣提組件中的所述外背板向下、向兩側延伸并與所述外箱體的底面、兩側面抵持,所述外背板與所述外箱體另外兩側面之間形成反應區。
優選地,兩組所述氣提組件中的所述內背板向兩側延伸并與所述外箱體兩側面抵持,以形成與所述箱體通長的所述提升通道,所述內背板向上延伸,并超出所述外背板的高度,所述外背板的高度不高于所述沉淀區沉淀液面1m。
優選地,所述反應區底部也設置有用于產生氣泡的氣體擴散設備,所述氣體擴散設備外接風機。
優選地,所述外箱體為砼結構或鋼結構。
相對于上述背景技術,本申請在外背板與內背板之間的間隔設置有多個豎直且獨立的提升通道,更易于將底部的氣體擴散設備所產生的氣泡均勻切割于每個獨立的提升通道內,這樣以來就可以有效的解決了氣體擴散設備所產生的氣泡在上升過程中因為提升通道的水平截面區域過大,導致氣水上升而出現的紊流現象,避免會出現氣泡相互碰撞,發生氣泡聚集變大而破裂,從而降低或甚至不產生提升的現象,以提高氣提提升效率。
相對傳統沉淀氣提回流只能實現氣提單個回流點的提升現象而言,本發明利用其提升通道與泥斗向平行截面式均勻提升的技術特點,可有效解決傳統單個氣提單點回流所導致的沉淀區底部易形成死角,從而在底部容易出現堆泥、死泥、浮泥現象的技術難題,并同步實現了零耗能式污泥百分之百全回流。另外,多個獨立的提升通道與氣體擴散設備的共同協同作用下,本發明可實現借助其提升通道作為底部沉淀下來污泥的提升通道來使用,沉淀區沉淀下來的污泥在其底板設置的氣體擴散設備的共同作用下,無需再額外增設傳統氣提裝置,便可實現污泥氣提提升回流。
本發明這些獨立的提升通道在功能上等同傳統氣提的提升管,而其底部的氣體擴散設備在功能上等同傳統氣提的氣提擴散管。因此本發明沉淀裝置分離的污泥首先在重力的作用下,快速滑落到其底部的好氧反應區,在實現快速復氧與激活的同時,也為本發明的這些獨立的提升通道提供了氣提提升的動力源,實現了一“氣”兩用,零耗能式污泥氣提提升全回流。由于本發明沉淀裝置的泥斗懸空設置,因此可大大縮短污泥在泥斗中的停留時間,可避免污泥在泥斗中長時間停留發生反硝化浮泥現象等。本發明的這種泥斗懸空設置,使其非常容易內置于反應區,因此又可取消傳統外置式的二沉池,還同步實現了一體化結構設計,節省占地及投資成本。
同時,在V字形泥斗與氣體擴散設備的共同協同作用下,可充分借助窄縫及泥斗懸空的技術特征,實現污泥在重力作用下,無動力全回流至底部的好氧反應區。還可借助泥斗懸空的技術特征,充分借助窄縫兩邊的斜板,實現對底部氣體擴散設備所產生的上升氣泡起到導流轉向的作用,為提升通道收集更多的氣提提升動力源氣體量,以達到提高氣提提升效率的效果,并同步實現了零耗能式污泥氣提全回流,擺脫了傳統泥水分離沉淀所必須依賴的高耗能、故障率高的刮吸泥機及污泥回流泵等諸多機械動力設備的技術難題。
(發明人:張廣學;潘海燕)






