申請日2016.04.28
公開(公告)日2016.07.13
IPC分類號G01N21/51
摘要
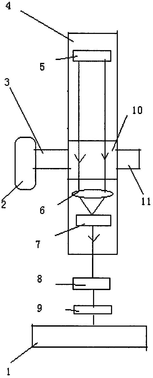
本發明公開了污水BOD散射式檢測臺,包括設置在污水池的污水管上的散射式檢測裝置,檢測臺污水管;散射式檢測裝置內設有散射式LED單色光源、透明檢測室、透鏡和光電傳感器,其輸出信號通過濾波放大器、微處理器送到計算機。使用本發明可以全面、快捷、準確測試污水性能參數,從而達到改善水體性能的目的。
權利要求書
1.污水BOD散射式檢測臺,其特征在于:包括設置在污水池(2)右側的污水管(3),污水管(3)的右側與透明檢測室(10)的進水口相連,透明檢測室(10)右側與出水管(11)固結;所述的透明檢測室(10)安裝在散射式檢測裝置機架(4)的中部,所述的散射式檢測裝置機架(4)內依次從上到下設置有散射式LED單色光源(5)、透明檢測室(10)、透鏡(6)、光電傳感器(7);光電傳感器(7)的輸出信號通過濾波放大器(8)、DSP處理器(9)送到計算機(1)。
2.根據權利要求1所述的污水BOD散射式檢測臺,其特征在于:所述的發射器散射式LED單色光源(5)發射出特定波長的光,LED單色光源(5)與光電傳感器(7)直線安裝,光電傳感器(7)安裝在透鏡(6)的焦點上。
3.根據權利要求1所述的污水BOD散射式檢測臺,其特征在于:所述的污水管(3)、出水管(11)組成的尾水通道與檢測光路LED單色光源(5)、透明檢測室(10)、透鏡(6)、光電傳感器(7)相互垂直布置。
4.根據權利要求1所述的污水BOD散射式檢測臺,其特征在于:所述的透明檢測室(10)、為圓形結構,直徑大于污水管(3)和出水管(11)的直徑。
說明書
污水BOD散射式檢測臺
技術領域
本發明涉及性能測試裝置,尤其是污水BOD散射式檢測臺。
背景技術
人類的生活和生產活動均離不開水,從自然界中取用的水由于混進了各種污染物受到污染,改變了天然水原來的物理,化學或生物學的組成和性質,甚至喪失了使用價值,于是將其廢棄外排,這種被廢棄外排的水稱為污水.污水按其來源,可分為生活污水和工業污水兩大類,一般來說,檢驗污水的指標有以下幾個:COD、BOD、色度、懸浮物、重金屬等。
污水物理參數測試方法目前都用傳感器在線測試,但由于污水含有很高的粘貼液體,會有傳感器上粘上粘液,使傳感器失去靈敏度,光學測試能高速、實時檢測,是污水排放性能測試的發展方向。
目前沒有對污水性能參數進行光學測試的測試儀及測試方法。
因此設計污水散射式測試臺,對于掌握其性能參數、提高污水池凈化效果有重要的意義。
發明內容
本發明的目的是提供一種污水BOD散射式檢測臺,能實時、高效檢測污水參數。
為實現上述目的,本發明采用如下技術方案:
一種污水BOD散射式檢測臺,包括設置在污水池右側的污水管,污水管的右側與透明檢測室的進水口相連,透明檢測室右側與出水管固結;所述的透明檢測室安裝在散射式檢測裝置機架的中部,所述的散射式檢測裝置機架內依次從上到下設置有散射式LED單色光源、透明檢測室、透鏡、光電傳感器;光電傳感器的輸出信號通過濾波放大器、DSP處理器送到計算機。
所述的發射器散射式LED單色光源發射出特定波長的光,LED單色光源與光電傳感器互為直線安裝,光電傳感器安裝在透鏡的焦點上。
所述的污水管組成的尾水通道與檢測光路LED單色光源、透明檢測室、透鏡、光電傳感器相互垂直布置。
所述的透明檢測室為圓形結構,直徑大于污水管和出水管的直徑。
與現有技術相比,本發明的有益效果是:由于采用上述技術方案,可以檢測出污水的參數,因此本發明達到全面、快捷、準確測試污水性能參數的目的。



