申請日2016.05.04
公開(公告)日2016.09.21
IPC分類號C02F9/04
摘要
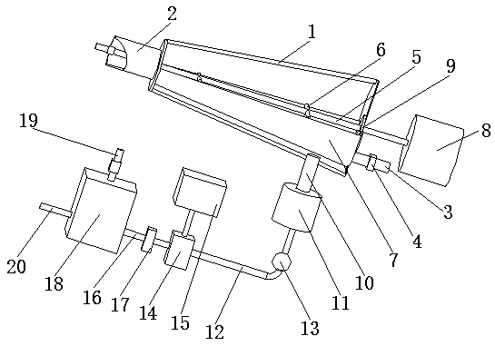
本實用新型公開了一種復合式水處理消毒裝置,包括殼體,所述殼體的左側端面設有進水管,所述殼體的右側面設有排污管,所述排污管上設有排污閥,所述殼體內設有轉軸,所述轉軸表面通過網架固定有過濾網,所述轉軸的右端貫穿殼體的右側端面通過聯軸器與變頻電機的軸相連,該裝置通過變頻電機帶動轉軸使過濾網轉動,通過離心力使水穿過過濾網,無法穿過的雜質則留在網內,定期通過排污管排出,通過增壓泵給出水管流出的液體加速,壓力表檢測即將進入水射器的水壓,保證有效的壓力值,在混合罐中充分殺菌,多余的氣體從排氣管排出,該復合式水處理裝置結構簡單,適合對泳池水的更換消毒殺菌,使用方便,并且占地面積小。
權利要求書
1.一種復合式水處理消毒裝置,包括殼體(1),其特征在于:所述殼體(1)的左側端面設有進水管(2),所述殼體(1)的右側面設有排污管(3),所述排污管(3)上設有排污閥(4),所述殼體(1)內設有轉軸(5),所述轉軸(5)表面通過網架(6)固定有過濾網(7),所述轉軸(5)的右端貫穿殼體(1)的右側端面通過聯軸器與變頻電機(8)的軸相連,所述殼體(1)右端下側面設有出水管(10),所述出水管(10)的端部與增壓泵(11)的進口相連,所述增壓泵(11)的出口設有與水射器(14)進水口相連的導流管(12),所述導流管(12)上設有壓力表(13),所述水射器(14)的進氣口通過管道與臭氧發生器(15)的出口相連,所述水射器(14)的出水口通過混合管(16)與混合罐(18)的進口相連,所述混合管(16)上設有單向閥(17),所述混合罐(18)的頂部設有排氣管(19),所述排氣管(19)上設有排氣閥,所述混合罐(18)的出口設有排流管(20)。
2.根據權利要求1所述的一種復合式水處理消毒裝置,其特征在于:所述進水管(2)內應設有濾網。
3.根據權利要求1所述的一種復合式水處理消毒裝置,其特征在于:所述殼體(1)右側端面的轉軸(5)左右側上設有定位板(9)。
4.根據權利要求1所述的一種復合式水處理消毒裝置,其特征在于:所述過濾網(7)上設有不銹鋼刷。
說明書
一種復合式水處理消毒裝置
技術領域
本實用新型涉及水處理技術領域,具體為一種復合式水處理消毒裝置。
背景技術
泳池水在進行處理水工藝流程時,主要采用混凝、澄清、過濾、消毒等工藝 流程。此工藝流程占地面積大,建設周期較長,且出水水質隨原水水質變化較大。一般是采用現澆混凝土或砌體結構的消毒池,污水自流至消毒池,人工投加消毒劑,且現有消毒劑投加方式無法精確控制投加量,影響污水處理效果,同時各個反應池也存在清洗和更換較麻煩等問題,為此,我們提出一種復合式水處理消毒裝置。
實用新型內容
本實用新型的目的在于提供一種復合式水處理消毒裝置,以解決上述背景技術中提出的問題。
為實現上述目的,本實用新型提供如下技術方案:一種復合式水處理消毒裝置,包括殼體,所述殼體的左側端面設有進水管,所述殼體的右側面設有排污管,所述排污管上設有排污閥,所述殼體內設有轉軸,所述轉軸表面通過網架固定有過濾網,所述轉軸的右端貫穿殼體的右側端面通過聯軸器與變頻電機的軸相連,所述殼體右端下側面設有出水管,所述出水管的端部與增壓泵的進口相連,所述增壓泵的出口設有與水射器進水口相連的導流管,所述導流管上設有壓力表,所述水射器的進氣口通過管道與臭氧發生器的出口相連,所述水射器的出水口通過混合管與混合罐的進口相連,所述混合管上設有單向閥,所述混合罐的頂部設有排氣管,所述排氣管上設有排氣閥,所述混合罐的出口設有排流管。
優選的,所述進水管內應設有濾網。
優選的,所述殼體右側端面的轉軸左右側上設有定位板。
優選的,所述過濾網上設有不銹鋼刷。
與現有技術相比,本實用新型的有益效果是:該復合式水處理裝置通過變頻電機帶動轉軸使過濾網轉動,通過離心力使水穿過過濾網,無法穿過的雜質則留在網內,定期通過排污管排出,通過增壓泵給出水管流出的液體加速,壓力表檢測即將進入水射器的水壓,保證有效的壓力值,與臭氧充分接觸,在混合罐中充分殺菌,多余的氣體從排氣管排出,該復合式水處理裝置結構簡單,適合對泳池水的更換消毒殺菌,使用方便,并且占地面積小。



