申請日2016.05.04
公開(公告)日2016.09.21
IPC分類號C02F9/14
摘要
本實用新型公開了一種移動式水處理裝置,包括車體,所述車體上表面設置有沉淀過濾池,所述沉淀過濾池內部設置有過濾網,沉淀過濾池上部設置有凹槽,所述凹槽內部設置有絞輪,凹槽上方設置有支撐板,所述支撐板位于沉淀過濾池上端面,且所述沉淀過濾池下部設置有排污口,所述排污口處設置有閥門,且所述沉淀過濾池一側設置有蓄電池,所述車體駕駛室上表面設置有太陽能電池板,所述太陽能電池板通過逆變器與蓄電池電連接,所述蓄電池上方設置有吸水裝置,所述吸水裝置內部設置有動力裝置,整個裝置結構簡單,利用太陽能提供能源,節能環保,移動作業可靠性高,可以充分利用污水廢水資源,實現變廢為寶。
權利要求書
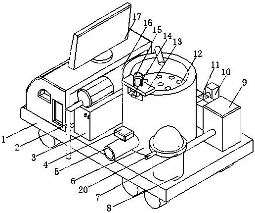
1.一種移動式水處理裝置,包括車體(1),其特征在于:所述車體(1)上表面設置有沉淀過濾池(6),所述沉淀過濾池(6)內部設置有過濾網(12),沉淀過濾池(6)上部設置有凹槽,所述凹槽內部設置有絞輪(14),凹槽上方設置有支撐板(13),所述支撐板(13)位于沉淀過濾池(6)上端面,所述支撐板(13)上表面設置有第二驅動電機(15),所述第二驅動電機(15)輸出軸和絞輪(14)轉軸通過鍵連接,且所述沉淀過濾池(6)下部設置有排污口(5),所述排污口(5)處設置有閥門(4),且所述沉淀過濾池(6)一側設置有蓄電池(3),所述車體(1)駕駛室上表面設置有太陽能電池板(17),所述太陽能電池板(17)通過逆變器與蓄電池(3)電連接,所述蓄電池(3)上方設置有吸水裝置(16),所述吸水裝置(16)內部設置有動力裝置,且所述吸水裝置(16)出水端通過水管(2)與沉淀過濾池(6)頂端進水口連接,且所述沉淀過濾池(6)中部側面上設置有出水口,所述出水口通過水管(2)與水泵(11)進水口連接,所述水泵(11)轉軸通過鍵和第一驅動電機(10)輸出軸連接,水泵(11)出水口通過水管(2)與生物處理池(9)進水口連接,所述生物處理池(9)出水口通過水管(2)和蒸發罐(8)進水口連接,所述生物處理池(9)和蒸發罐(8)均位于車體(1)上表面,蒸發罐(8)內部設置有加熱裝置(19),蒸發罐(8)上部設置有收集盤(7),所述收集盤(7)上開有環形槽(18),所述環形槽(18)上設置有凈水出口(20),并且蓄電池(3)與車體(1)控制室內的控制器電連接,控制器分別與吸水裝置(16)內的動力裝置、第一驅動電機(10)、第二驅動電機(15)和加熱裝置(19)電連接。
2.根據權利要求1所述的一種移動式水處理裝置,其特征在于:所述過濾網(12)位于沉淀過濾池(6)出水口所在水平面和絞輪(14)所在水平面之間。
3.根據權利要求1所述的一種移動式水處理裝置,其特征在于:所述蒸發罐(8)頂端為錐形形狀,且蒸發罐(8)錐形頂端的端面位于環形槽(18)正上方。
4.根據權利要求1所述的一種移動式水處理裝置,其特征在于:所述絞輪(14)轉軸軸線與第二驅動電機(15)輸出軸線和沉淀過濾池(6)軸線平行。
5.根據權利要求1所述的一種移動式水處理裝置,其特征在于:所述加熱裝置(19)設置為片狀結構。
說明書
一種移動式水處理裝置
技術領域
本實用新型涉及水處理技術領域,具體為一種移動式水處理裝置。
背景技術
當今社會,淡水資源越來越緊缺,廢水,污水的處理技術變得更加急需,尤其實在某些受災地方,清潔的飲用水更加難得,傳統的水處理裝置需要占用大面積土地建廠,成本高昂,且靈活性差,為此,我們提出一種移動式水處理裝置。
實用新型內容
本實用新型的目的在于提供一種移動式水處理裝置,以解決上述背景技術中提出的問題。
為實現上述目的,本實用新型提供如下技術方案:一種移動式水處理裝置,包括車體,所述車體上表面設置有沉淀過濾池,所述沉淀過濾池內部設置有過濾網,沉淀過濾池上部設置有凹槽,所述凹槽內部設置有絞輪,凹槽上方設置有支撐板,所述支撐板位于沉淀過濾池上端面,所述支撐板上表面設置有第二驅動電機,所述第二驅動電機輸出軸和絞輪轉軸通過鍵連接,且所述沉淀過濾池下部設置有排污口,所述排污口處設置有閥門,且所述沉淀過濾池一側設置有蓄電池,所述車體駕駛室上表面設置有太陽能電池板,所述太陽能電池板通過逆變器與蓄電池電連接,所述蓄電池上方設置有吸水裝置,所述吸水裝置內部設置有動力裝置,且所述吸水裝置出水端通過水管與沉淀過濾池頂端進水口連接,且所述沉淀過濾池中部側面上設置有出水口,所述出水口通過水管與水泵進水口連接,所述水泵轉軸通過鍵和第一驅動電機輸出軸連接,水泵出水口通過水管與生物處理池進水口連接,所述生物處理池出水口通過水管和蒸發罐進水口連接,所述生物處理池和蒸發罐均位于車體上表面,蒸發罐內部設置有加熱裝置,蒸發罐上部設置有收集盤,所述收集盤上開有環形槽,所述環形槽上設置有凈水出口,并且蓄電池與車體控制室內的控制器電連接,控制器分別與吸水裝置內的動力裝置、第一驅動電機、第二驅動電機和加熱裝置電連接。
優選的,所述過濾網位于沉淀過濾池出水口所在水平面和絞輪所在水平面之間。
優選的,所述蒸發罐頂端為錐形形狀,且蒸發罐錐形頂端的端面位于環形槽正上方。
優選的,所述絞輪轉軸軸線與第二驅動電機輸出軸線和沉淀過濾池軸線平行。
優選的,所述加熱裝置設置為片狀結構。
與現有技術相比,本實用新型的有益效果是:該移動式水處理裝置通過車體承載各處理裝置,由太陽能作為水處理過程中的能量來源,對處理水進行沉淀過濾,微生物處理和蒸發處理等幾道工序,實現水資源的凈化,整個裝置結構簡單,操作方便,節能環保,移動作業可靠性高,可以充分利用污水廢水資源,實現變廢為寶。



