申請日2016.04.28
公開(公告)日2016.06.29
IPC分類號C02F11/12; C02F11/16; C02F11/20
摘要
本發明公開了一種污泥的噴霧顆粒化冷凍真空干燥裝置及方法。本發明裝置為轉筒式結構,轉筒從左至右依次為急速冷凍室、高溫真空干燥室和低溫真空干燥室;急速冷凍室安裝有冷凍室蒸發器,左端中心設有污泥顆粒化噴霧嘴;急速冷凍室與高溫真空干燥室之間設有垂向隔熱板,垂向隔熱板與轉筒內壁之間連接處留有狹縫;高溫真空干燥室與低溫真空干燥室貫通,高溫真空干燥室安裝有高溫室加熱器,低溫真空干燥室的右端設有真空管及出料斗;轉筒內壁上設有弧形攪拌片。本發明將含水率為70%?80%的污泥,依次通過霧化階段、冷凍階段和真空干燥階段的干燥過程后,污泥含水率降至40%以下,且不會產生二次污染;本發明能有效降低運行能耗,縮短系統運行時間。
權利要求書
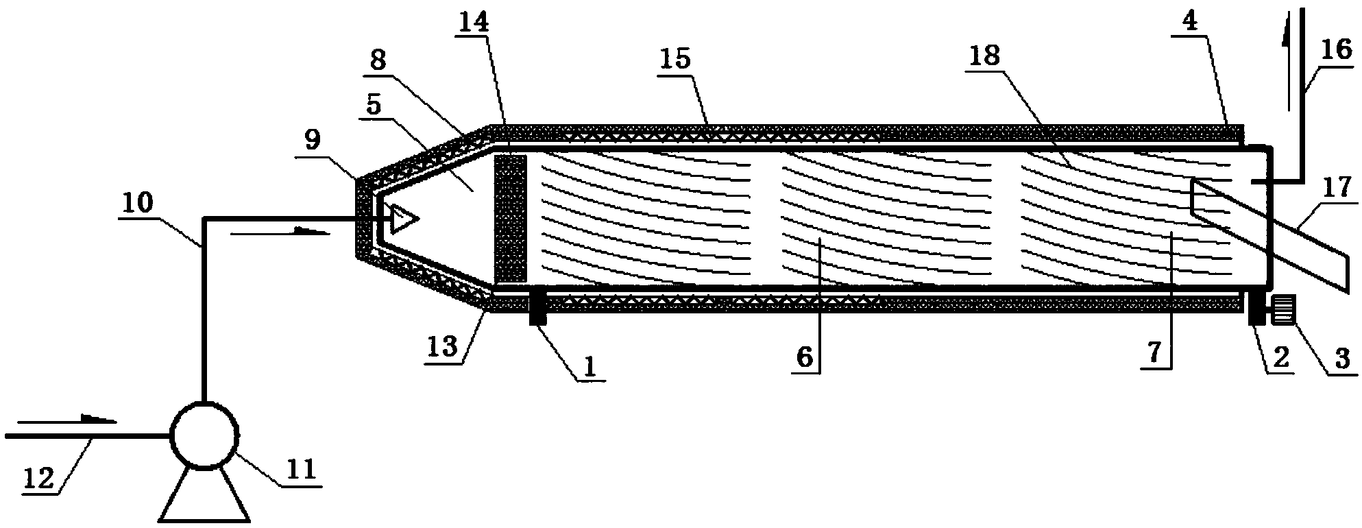
1.一種污泥的噴霧顆粒化冷凍真空干燥裝置,其特征在于:它是一個密閉的、繞水平軸轉動的轉筒式結構,轉筒左部設有支撐輥,轉筒右部設有驅動齒輪和驅動電機;轉筒外殼為保溫外殼,轉筒從左至右依次劃分為急速冷凍室、高溫真空干燥室和低溫真空干燥室;所述急速冷凍室段的轉筒殼體內安裝有冷凍室蒸發器,急速冷凍室內左端中心設有污泥顆粒化噴霧嘴,污泥顆粒化噴霧嘴經由高壓污泥管與安裝于轉筒外部的高壓泥漿泵連接,高壓泥漿泵經由吸泥管與儲泥井連接;所述急速冷凍室與高溫真空干燥室之間設有垂向隔熱板,垂向隔熱板與轉筒內壁之間連接處留有狹縫;所述高溫真空干燥室與低溫真空干燥室貫通,高溫真空干燥室段的轉筒殼體內安裝有高溫室加熱器,低溫真空干燥室的右端設有真空管,真空管與安裝于轉筒外部的真空泵連接;低溫真空干燥室的右端設有傾斜的、可開閉和調節角度的出料斗;所述高溫真空干燥室和低溫真空干燥室段的轉筒內壁上設有弧形攪拌片。
2.根據權利要求1所述污泥的噴霧顆粒化冷凍真空干燥裝置,其特征在于:所述高壓泥漿泵所加壓力為0.2~0.4MPa;從所述污泥顆粒化噴霧嘴噴出的是直徑為0.5~1.0mm的霧化顆粒污泥。
3.根據權利要求1所述污泥的噴霧顆粒化冷凍真空干燥裝置,其特征在于:所述急速冷凍室內溫度為-20℃~-30℃;高溫真空干燥室內溫度為70℃~90℃,壓力為30~50Pa;低溫真空干燥室內溫度為50℃~70℃。
4.一種基于權利要求1所述污泥的噴霧顆粒化冷凍真空干燥裝置的干燥方法,其特征在于:是將污水處理廠經濃縮脫水后、含水率為70%-80%的剩余污泥,依次通過霧化階段、冷凍階段和真空干燥階段的干燥處理過程。
5.根據權利要求1所述污泥的噴霧顆粒化冷凍真空干燥裝置的干燥方法,其特征在于:所述霧化階段是,將含有水分的污泥在高壓泥漿泵的壓力作用下,從與高壓泥漿泵連接的污泥顆粒化噴霧嘴噴出后形成直徑為0.5~1.0mm霧化顆粒污泥。
6.根據權利要求5所述污泥的噴霧顆粒化冷凍真空干燥裝置的干燥方法,其特征在于:所述冷凍階段是,霧化后顆粒污泥進入急速冷凍室,在急速冷凍室內溫度-20℃~-30℃的環境下,通過急速冷凍的方式,使污泥中的水分與污泥中的固體物質分離;霧化顆粒污泥被冷凍形成直徑為0.5~1.0mm的冰凍顆粒污泥。
7.根據權利要求6所述污泥的噴霧顆粒化冷凍真空干燥裝置的干燥方法,其特征在于:所述真空干燥階段包括高溫干燥階段和低溫干燥階段;冷凍后的污泥顆粒進入高溫真空干燥室內,在高溫真空干燥室內溫度70℃~90℃、壓力30~50Pa的環境下,對污泥顆粒進行加熱,提供水分的升華潛熱,使水分由固態的冰晶直接升華為氣態的水蒸氣,從而達到污泥的干燥目的;污泥顆粒繼續進入到低溫真空干燥室內,保持低溫真空干燥室內溫度為50℃~70℃,補充水分升華過程中的潛熱需求,此時污泥中大部分的水分已經升華;通過安裝于低溫真空干燥室內的真空管抽取干燥室內的氣體,使干燥室處于30~50Pa的真空環境,同時也將升華的水蒸氣抽取到干燥室外部,從而實現污泥的干燥。
說明書
一種污泥的噴霧顆粒化冷凍真空干燥裝置及方法
技術領域
本發明屬于一種泥漿狀物料的干燥處理方法及設備,具體涉及一種污水處理廠、工業廢水處理廠剩余污泥的噴霧顆粒化冷凍真空干燥裝置及方法。
背景技術
污水處理廠剩余活性污泥數量大,城市污水處理廠所產生的污泥約為所處理水體積的0.5-1.0%左右,這些污泥體積大同時又富含有機物,若不加以處理就會對周圍環境產生嚴重的二次污染。
目前對污水處理廠剩余污泥的處理主要遵循減量化、穩定化這兩條原則。污水處理構筑物排出的污泥含水率大于95%,體積巨大。目前常用的脫水方法為重力濃縮、機械脫水、真空脫水等,剩余污泥經過以上方法脫水后含水率仍然高達70%-80%以上,此含水率的污泥一般仍然呈塑性泥漿,流動性強,難以外運和處置,同時,根據我國城市污水處理廠污染物排放標準,剩余污泥的含水率低于65%時方可進行填埋處置,而目前常用的脫水技術的污泥含水率均難以滿足低于65%的要求,因此,污泥需要經過干燥處理后方能處置。
目前常用的污泥干燥方法有自然干燥、機械干燥和焚燒干燥等方法。自然干燥法處理過程受到自然條件的限制、所需時間長、占地面積大,目前采用自然干燥法來處理剩余污泥的處理廠較少。機械干燥法大多采用熱空氣或將污泥與燃料共同燃燒,采用這種方法需要的能耗大、系統復雜、所需的時間也較長,且會產生臭氣等二次污染。而采用燃燒干燥法的系統更為復雜、投資高、同時也需要對尾氣進行處理,否則會產生二次污染。而目前污水處理廠剩余污泥脫水采用的方法主要是機械脫水法,在脫水過程中需要加入污泥調理劑,脫水后的污泥一般呈糊狀,加入調理劑后污泥進一步脫水困難。而采用機械或焚燒法對脫水后的污泥進行干燥時又要對污泥進行粉碎,這種污泥粉碎困難,導致干燥機運行困難、維護要求較高。這些問題嚴重地困擾著污水處理廠的良好運行。
冷凍真空干燥技術是一種廣泛應用的物料干燥技術,采用冷凍真空干燥法對物料進行干燥具有系統簡單、運行能耗低、干燥時間短、干燥物料的含水率低等優點。但是冷凍干燥技術要求物料的比表面積越大越好。而脫水后剩余污泥的粘度大、流動性強,難以破碎,因此,冷凍干燥技術用于剩余污泥的處理存在著污泥破碎難的問題。
發明內容
本發明的第一個目的在于針對污水處理廠經濃縮脫水后的剩余污泥含水率高、破碎難、干燥系統復雜、成本高等問題,提供一種污泥的噴霧顆粒化冷凍真空干燥裝置。
本發明的第一個目的是通過如下的技術方案來實現的:該污泥的噴霧顆粒化冷凍真空干燥裝置,它是一個密閉的、繞水平軸轉動的轉筒式結構,轉筒左部設有支撐輥,轉筒右部設有驅動齒輪和驅動電機;轉筒外殼為保溫外殼,轉筒從左至右依次劃分為急速冷凍室、高溫真空干燥室和低溫真空干燥室;所述急速冷凍室段的轉筒殼體內安裝有冷凍室蒸發器,急速冷凍室內左端中心設有污泥顆粒化噴霧嘴,污泥顆粒化噴霧嘴經由高壓污泥管與安裝于轉筒外部的高壓泥漿泵連接,高壓泥漿泵經由吸泥管與儲泥井連接;所述急速冷凍室與高溫真空干燥室之間設有垂向隔熱板,垂向隔熱板與轉筒內壁之間連接處留有狹縫;所述高溫真空干燥室與低溫真空干燥室貫通,高溫真空干燥室段的轉筒殼體內安裝有高溫室加熱器,低溫真空干燥室的右端設有真空管,真空管與安裝于轉筒外部的真空泵連接;低溫真空干燥室的右端設有傾斜的、可開閉和調節角度的出料斗;所述高溫真空干燥室和低溫真空干燥室段的轉筒內壁上設有弧形攪拌片。
具體的,所述高壓泥漿泵所加壓力為0.2~0.4MPa;從所述污泥顆粒化噴霧嘴噴出的是直徑為0.5~1.0mm的霧化顆粒污泥。
具體的,所述急速冷凍室內溫度為-20℃~-30℃;高溫真空干燥室內溫度為70℃~90℃,壓力為30~50Pa;低溫真空干燥室內溫度為50℃~70℃。
本發明的第二個目的在于提供基于上述污泥的噴霧顆粒化冷凍真空干燥裝置的干燥方法,該方法主要是將污水處理廠經濃縮脫水后、含水率為70%-80%的剩余污泥,依次通過霧化階段、冷凍階段和真空干燥階段的干燥處理過程。
具體的,所述霧化階段是,將含有水分的污泥在高壓泥漿泵的壓力作用下,從與高壓泥漿泵連接的污泥顆粒化噴霧嘴噴出后形成直徑為0.5~1.0mm霧化顆粒污泥。
具體的,所述冷凍階段是,霧化后顆粒污泥進入急速冷凍室,在急速冷凍室內溫度-20℃~-30℃的環境下,通過急速冷凍的方式,使污泥中的水分與污泥中的固體物質分離;霧化顆粒污泥被冷凍形成直徑為0.5~1.0mm的冰凍顆粒污泥。
具體的,所述真空干燥階段包括高溫干燥階段和低溫干燥階段;冷凍后的污泥顆粒進入高溫真空干燥室內,在高溫真空干燥室內溫度70℃~90℃、壓力30~50Pa的環境下,對污泥顆粒進行加熱,提供水分的升華潛熱,使水分由固態的冰晶直接升華為氣態的水蒸氣,從而達到污泥的干燥目的;污泥顆粒繼續進入到低溫真空干燥室內,保持低溫真空干燥室內溫度為50℃~70℃,補充水分升華過程中的潛熱需求,此時污泥中大部分的水分已經升華;通過安裝于低溫真空干燥室內的真空管抽取干燥室內的氣體,使干燥室處于30~50Pa的真空環境,同時也將升華的水蒸氣抽取到干燥室外部,從而實現污泥的干燥。
本發明的噴霧顆粒化冷凍真空干燥裝置及方法,能使污泥含水率降至40%以下,從而可直接外運填埋,且干燥過程中不會產生二次污染;本發明能有效地降低污泥干燥運行能耗,縮短系統運行時間。



