公布日:2024.12.31
申請日:2024.11.19
分類號:C02F3/28(2023.01)I;C02F3/00(2023.01)N;C02F103/28(2006.01)N
摘要
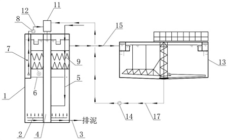
本發明公開了一種雙回流造紙廢水厭氧處理系統,包括厭氧處理系統和沉淀池,厭氧處理系統包括厭氧反應池、布水器、配水井、布水管路、廢水進水管路、回流井和回流管路,廢水進水管路與配水井下部的進水口連接,沉淀池的排泥口通過排泥管路與布水器連接,回流井和設置在厭氧反應池內的回流管路相連,回流井通過抽水管路與布水器連接。本發明在厭氧反應池內新增了回流井和回流管路,廢水經回流管路進入回流井,通過布水器實現回流廢水、生產廢水和回流污泥的均勻混合,并從布水管路噴出,形成強烈的攪動效果和提高上升推動力,促進反應,廢水中有機物的去除效率可達80~90%,污泥形態介于絮狀污泥與顆粒污泥之間,有效緩解造紙廢水污泥容易鈣化的影響。

權利要求書
1.一種雙回流造紙廢水厭氧處理系統,包括厭氧處理系統和沉淀池,其特征在于:所述厭氧處理系統包括厭氧反應池、設置在所述厭氧反應池頂部的布水器和設置在厭氧反應池內的配水井、布水管路、廢水進水管路,所述廢水進水管路的一端口與所述配水井下部的進水口連接,其另一端口與外部廢水連接;所述布水管路位于所述進水口的下方;所述厭氧反應池的上部具有排水口,所述排水口通過排水管路與所述沉淀池連接,所述沉淀池底部的排泥口通過帶有排泥泵的排泥管路與所述布水器連接,布水器的出口與所述配水井的頂部連通;所述厭氧處理系統還包括設置在厭氧反應池的一側壁上的回流井和設置在厭氧反應池內的回流管路,所述回流井通過抽水管路與布水器連接,且所述抽水管路上設置有循環泵;所述回流管路位于厭氧反應池的中上部且與回流井底部的進口連接;厭氧處理系統還包括設置在厭氧反應池內且位于回流管路上方的三項分離器,所述三項分離器的頂部間隔設置有多個向下內凹的排水槽;所述厭氧反應池的一側壁上設置有集水槽,每個所述排水槽均與所述集水槽連接,所述溢流口開設在與所述集水槽對應處的厭氧反應池的側壁上;位于所述布水管路下方的厭氧反應池內設置有排泥管路。
2.根據權利要求1所述的雙回流造紙廢水厭氧處理系統,其特征在于:所述布水管路包括與所述配水井連通的一級主管和與所述一級主管連通的二級管,所述二級管為工字型結構,其四個端口處均連接有呈工字型結構的三級管,且所述三級管的連接管的中部與二級管的端口連接;三級管的每個端口處連接有呈工字型結構的四級管,所述四級管的連接管中部固連在三級管的端口處。
3.根據權利要求2所述的雙回流造紙廢水厭氧處理系統,其特征在于:所述厭氧反應池的底壁上設置有固定柱,所述二級管的每個端管對應固定在所述固定柱上,使布水管路架設在所述底壁的上方。
4.根據權利要求1所述的雙回流造紙廢水厭氧處理系統,其特征在于:所述厭氧反應池的中上部水平設置有安裝框,所述回流管路安裝在所述安裝框上。
5.根據權利要求4所述的雙回流造紙廢水厭氧處理系統,其特征在于:所述回流管路包括與所述回流井連接的回流主管和與所述回流主管連接一級回流支管,所述一級回流支管的兩端連接有與所述回流主管平行的二級回流支管,每個所述二級回流支管的每個端口處連接有呈工字型結構的三級回流支管。
6.根據權利要求1所述的雙回流造紙廢水厭氧處理系統,其特征在于:所述厭氧反應池的外側壁的上部設置有帶有護欄的行走平臺;位于所述排水槽上方的厭氧反應池頂設置有檢修平臺。
發明內容
有鑒于此,本發明提出了一種雙回流造紙廢水厭氧處理系統,在厭氧反應過程中不僅可以實現廢水由下到上的流動,還能實現廢水的自循環,處理效果好,大大提高了工業廢水的處理效率。
為實現上述目的,本發明采取下述技術方案:本發明所述的雙回流造紙廢水厭氧處理系統,包括厭氧處理系統和沉淀池,所述厭氧處理系統包括厭氧反應池、設置在所述厭氧反應池頂部的布水器和設置在厭氧反應池內的配水井、布水管路、廢水進水管路,所述廢水進水管路的一端口與所述配水井下部的進水口連接,其另一端口與外部廢水連接;所述布水管路位于所述進水口的下方;所述厭氧反應池的上部具有排水口,所述排水口通過排水管路與所述沉淀池連接,所述沉淀池底部的排泥口通過帶有排泥泵的排泥管路與所述布水器連接,布水器的出口與所述配水井的頂部連通;所述厭氧處理系統還包括設置在厭氧反應池的一側壁上的回流井和設置在厭氧反應池內的回流管路,所述回流井通過抽水管路與布水器連接,且所述抽水管路上設置有循環泵;所述回流管路位于厭氧反應池的中上部且與回流井底部的進口連接;厭氧處理系統還包括設置在厭氧反應池內且位于回流管路上方的三項分離器,所述三項分離器的頂部間隔設置有多個向下內凹的排水槽;所述厭氧反應池的一側壁上設置有集水槽,每個所述排水槽均與所述集水槽連接,所述排水口開設在與所述集水槽對應處的厭氧反應池的側壁上;位于所述布水管路下方的厭氧反應池內設置有排泥管路。
有益效果是:本發明在厭氧反應池內新增了回流井和回流管路,廢水經回流管路進入回流井,在外部循環泵和布水器的作用下進入配水井,進而實現了厭氧反應池內廢水的循環回流,并且沉淀池內和厭氧反應池之間存在循環回路,進而提高了廢水的上升流速;另外,通過布水器可實現回流廢水、生產廢水和回流污泥的均勻混合,并從底部的布水管路噴出,形成強烈的攪動效果和上升流推動力,混合廢水中的有機物在上升過程中與系統的厭氧污泥床充分接觸、反應,確保處理效果。反應產生的氣體攜帶部分污泥絮體繼續向上運動,并與三項分離器發生碰撞,從而引起污泥的脫氣,釋放的氣體將儲存在三項分離器的集氣室內,污泥顆粒沉淀至污泥床表層,液體通過縫隙流入頂部的排水槽,經集水槽和排水管路進入沉淀池進行沉淀,有效降低廢水中的有機物含量。
經實踐,當厭氧反應池內廢水的循環流量占總體積的50%~100%時,廢水的混合效果和去除效果最好,廢水中有機物的去除效率可達到80~90%,同時此狀態下污泥形態介于絮狀污泥與顆粒污泥之間,可有效緩解造紙廢水污泥容易鈣化的影響。其中,在實際安裝時,本發明的布水器優選可調式脈沖布水器。
優選的,所述布水管路包括與所述配水井連通的一級主管和與所述一級主管連通的二級管,所述二級管為工字型結構,其四個端口處均連接有呈工字型結構的三級管,且所述三級管的連接管的中部與二級管的端口連接;三級管的每個端口處連接有呈工字型結構的四級管,所述四級管的連接管中部固連在三級管的端口處。有益效果是:本發明的布水管路可平鋪在厭氧反應池內,使配水更加均勻。
所述厭氧反應池的底壁上設置有固定柱,所述二級管的每個端管對應固定在所述固定柱上,使布水管路架設在所述底壁的上方。
優選的,所述厭氧反應池的中上部水平設置有安裝框,所述回流管路安裝在所述安裝框上,安裝框為回流管路提供安裝支撐,確保回流管路的安裝。更優選的,所述回流管路包括與所述回流井連接的回流主管和與所述回流主管連接一級回流支管,所述一級回流支管的兩端連接有與所述回流主管平行的二級回流支管,每個所述二級回流支管的每個端口處連接有呈工字型結構的三級回流支管。
優選的,所述厭氧反應池的外側壁的上部設置有帶有護欄的行走平臺;位于所述排水槽上方的厭氧反應池頂設置有檢修平臺。
與現有技術相比,本發明的優點在于:本發明在厭氧反應池內新增了回流井和回流管路,廢水經回流管路進入回流井,在外部循環泵和布水器的作用下進入配水井,進而實現了厭氧反應池內廢水的循環回流,并且沉淀池內和厭氧反應池之間存在循環回路,進而提高了廢水的上升流速;另外,通過布水器可實現回流廢水、生產廢水和回流污泥的均勻混合,并從底部的布水管路噴出,形成強烈的攪動效果和上升流推動力,混合廢水中的有機物在上升過程中與系統的厭氧污泥床接觸、反應,確保處理效果。反應產生的氣體攜帶部分污泥絮體繼續向上運動,并與三項分離器發生碰撞,從而引起污泥的脫氣,釋放的氣體將儲存在三項分離器的集氣室內,污泥顆粒沉淀至污泥床表層,液體通過縫隙流入頂部的排水槽,經集水槽和排水管路進入沉淀池進行沉淀,有效降低廢水中的有機物含量。經實踐,當厭氧反應池內廢水的循環流量占總體積的50%~100%時,廢水的混合效果和去除效果最好,廢水中有機物的去除效率可達到80~90%,同時此狀態下污泥形態介于絮狀污泥與顆粒污泥之間,可有效緩解造紙廢水污泥容易鈣化的影響。
(發明人:張強;王宇峰;王晨;劉婉瑩;崔雪靜)






