公布日:2024.12.31
申請日:2024.11.11
分類號:C02F1/04(2023.01)I
摘要
本發明涉及高鹽廢水處理技術領域,且公開了一種高鹽廢水蒸發結晶零排放設備,包括水箱、罐體和外管,罐體的上端通過圓口固定連接有殼體,罐體的上端固定連接有羅茨風機,羅茨風機的出風端固定連接有風管,風管與殼體的上端固定連接,殼體的側壁設置有預熱機構,預熱機構通過針織布管進行布水,且利用微壓的熱風對廢水中的水分進行蒸發處理提高廢水的濃度,罐體的下端固定連接有導流管,導流管的一端與外管的管壁固定連接,外管內固定連接有內管。該高鹽廢水蒸發結晶零排放設備,可以有效的利用熱源對高鹽廢水進行蒸發結晶,而且結晶的有機鹽不會在設備中結垢影響熱量傳遞,提高了處理高鹽廢水的效率。

權利要求書
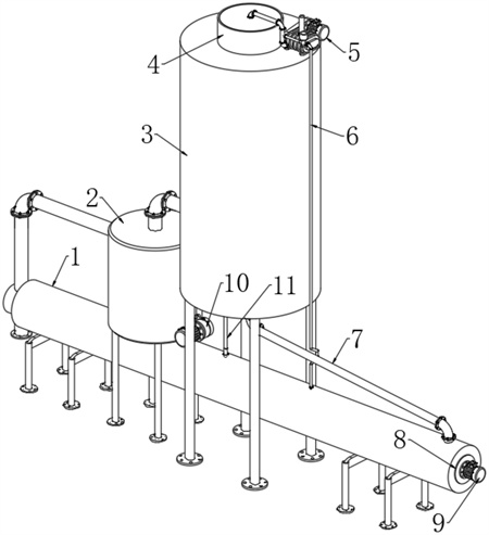
1.一種高鹽廢水蒸發結晶零排放設備,包括水箱(2)、罐體(3)和外管(1),其特征在于:所述罐體(3)的上端通過圓口固定連接有殼體(4),所述罐體(3)的上端固定連接有羅茨風機(5),所述羅茨風機(5)的出風端固定連接有風管,所述風管與殼體(4)的上端固定連接,所述殼體(4)的側壁設置有預熱機構,所述預熱機構通過針織布管(21)進行布水,且利用微壓的熱風對廢水中的水分進行蒸發處理提高廢水的濃度;所述罐體(3)的下端固定連接有導流管(7),所述導流管(7)的一端與外管(1)的管壁固定連接,所述外管(1)內固定連接有內管(8),所述內管(8)的管壁與導流管(7)的一端固定連接,所述內管(8)中安裝有蒸發機構,所述蒸發機構高溫組件對廢水中的水分進一步蒸發,直至廢水中的組份結晶;所述罐體(3)的側壁固定連接有排風管和進水管,所述進水管的管口處安裝有換熱機構,所述換熱機構通過導管連接有連接部(24),所述換熱機構利用預熱機構排出的熱蒸汽對廢水進行預熱,提高廢水進入預熱機構的溫度;所述新風管的管壁上固定連接有引風管(6),所述引風管(6)一端與外管(1)的管壁固定連接,所述內管(8)的一端延伸至外管(1)的外部并固定連接有尾風管和排污管。
2.根據權利要求1所述的一種高鹽廢水蒸發結晶零排放設備,其特征在于:所述預熱機構包括圓環(14),所述連接部(24)的上端與圓環(14)固定連接,所述針織布管(21)的上端與連接部(24)固定連接,所述圓環(14)的內側固定連接有滑套(29),所述滑套(29)套接在殼體(4)的側壁,所述圓環(14)的上端固定連接有多個拉力彈簧(13),多個所述拉力彈簧(13)的上端均固定在罐體(3)的上端內壁,所述針織布管(21)的下端管口處內外兩側分別固定連接有第一固定環和第二固定環,所述第一固定環和第二固定環的上端均設置有折邊(37),所述第一圓環(14)和第二圓環(14)的側壁共同固定連接有環形板(15),所述環形板(15)固定在罐體(3)內并開設有多個滲水孔(39),所述滲水孔(39)位于第一固定環和第二固定環之間;所述殼體(4)內固定連接有兩個電加熱器(25),所述電加熱器(25)位于新風管的管口處下方,所述新風管的一端延伸至殼體(4)內并固定連接有配氣盒(22),所述配氣盒(22)的側壁固定連接有多個噴氣嘴(28),所述第二固定環內固定連接有端帽(36)。
3.根據權利要求2所述的一種高鹽廢水蒸發結晶零排放設備,其特征在于:所述端帽(36)的側壁固定連接有螺旋管(11),所述螺旋管(11)的管壁套接有套管(38),所述套管(38)的上端固定連接有喇叭管(16),所述喇叭管(16)固定在罐體(3)內,所述螺旋管(11)的一端延伸至端帽(36)內,所述螺旋管(11)的另一端貫穿罐體(3)的下端并與外管(1)的管壁固定連接。
4.根據權利要求2所述的一種高鹽廢水蒸發結晶零排放設備,其特征在于:所述配氣盒(22)的下端通過滾動軸承轉動連接有立軸(30),所述立軸(30)的通過軸套與電加熱器(25)的支撐架轉動連接,所述殼體(4)的下端開設有多個切口,多個所述切口內共同套接有傳動架(26),所述傳動架(26)穿過切口并與滑套(29)的內側固定連接,所述傳動架(26)的上端設置有箱體(34),所述箱體(34)固定在下方電加熱器(25)支架的側壁上,所述立軸(30)的側壁固定連接有扇葉(23),所述立軸(30)的下端延伸至箱體(34)內并固定連接有第一錐齒輪(35),所述第一錐齒輪(35)的一側嚙合有第二錐齒輪(31),所述第二錐齒輪(31)的側壁固定連接有橫軸,所述橫軸的兩端通過滾珠軸承轉動連接在箱體(34)內,所述橫軸的軸壁上固定連接有兩個偏心輪(32),所述箱體(34)的下端通過方孔套接有兩個矩形桿(33),兩個所述矩形桿(33)的下端均與傳動架(26)的上端固定連接,所述矩形桿(33)的上端與偏心輪(32)的側壁接觸。
5.根據權利要求1所述的一種高鹽廢水蒸發結晶零排放設備,其特征在于:所述換熱機構包括兩個環形管(27),兩個所述環形管(27)之間共同固定連接有多個換熱盤管(12),多個所述換熱盤管(12)均套接在針織布管(21)的側壁,其中一個所述環形管(27)的管壁固定連接有導管,所述導管的一端與連接部(24)固定連接,另一個所述環形管(27)的管壁固定連接有連接管,所述連接管的一端延伸至罐體(3)的外部,所述水箱(2)的一側固定連接有磁力泵(10),所述磁力泵(10)的進水端與水箱(2)的出水口固定連接,所述磁力泵(10)的出水端與連接管一端固定連接。
6.根據權利要求1所述的一種高鹽廢水蒸發結晶零排放設備,其特征在于:所述尾風管的一端通過彎管與水箱(2)的一側固定連接,所述水箱(2)的上端通過管道與排風管的一端固定連接,所述水箱(2)的底部設置有內凹部,所述內凹部上開設有排風口,所述水箱(2)內固定連接有兩個隔板(20),兩個所述隔板(20)之間固定連接有多個換熱直管(19),所述水箱(2)的側壁固定連接有原水管,且原水管的一端位于兩個隔板(20)之間。
7.根據權利要求1所述的一種高鹽廢水蒸發結晶零排放設備,其特征在于:所述蒸發機構包括鐵芯(47),所述鐵芯(47)的側壁固定連接有多個環片(48),所述內管(8)中設置有矩形框(17),所述矩形框(17)相對的兩側均與內管(8)的內側接觸,所述矩形框(17)的側壁固定連接有多個螺旋條(42),且螺旋條(42)與內管(8)的內壁接觸,所述矩形框(17)相對的兩側內壁均固定連接有多個U形片,多個所述U形片分別卡接在環片(48)的側壁上,其中相鄰的兩個所述U形片之間均固定連接有刮片(49),且刮片(49)的一側與鐵芯(47)的側壁接觸,所述內管(8)的一端固定連接有電機(9),所述電機(9)的一端固定連接有主軸,所述主軸的一端與鐵芯(47)的一端同軸心固定連接,所述鐵芯(47)的另一端固定連接有中軸,所述中軸通過軸承座轉動連接在內管(8)中,所述內管(8)的側壁套接有多個高頻感應線圈(41)。
8.根據權利要求7所述的一種高鹽廢水蒸發結晶零排放設備,其特征在于:所述主軸的軸壁上固定連接有齒輪(46),所述齒輪(46)的一側嚙合有齒輪軸(50),所述齒輪軸(50)通過滾動軸承轉動連接在內管(8)的一端,所述齒輪軸(50)嚙合有內齒環(43),所述內齒環(43)的中心處固定連接有套筒(45),所述內管(8)中固定連接有密封板(44),所述密封板(44)通過滾針軸承與套筒(45)的側壁轉動連接,所述套筒(45)的內側通過滾子軸承與主軸的軸壁轉動連接,所述矩形框(17)的一端中心處通過圓孔與套筒(45)的一端同軸心固定連接。
9.根據權利要求7所述的一種高鹽廢水蒸發結晶零排放設備,其特征在于:所述內管(8)和外管(1)的夾層內固定連接有環形塊(40),所述內管(8)為鐵管,且在其管壁上開設有多個均勻分布的進風孔,所述矩形框(17)、環片(48)、U形片和刮片(49)均為鐵質,且表面均涂覆耐高溫材料,所述外管(1)為絕緣管。
10.根據權利要求7所述的一種高鹽廢水蒸發結晶零排放設備,其特征在于:所述中軸的一端通過滾針軸承與內管(8)的一端轉動連接,所述中軸的軸壁上通過支撐架固定連接有兩個刮板(18),兩個所述刮板(18)均與內管(8)的內壁接觸。
發明內容
(一)解決的技術問題
針對現有技術的不足,本發明提供了一種高鹽廢水蒸發結晶零排放設備,解決了無機鹽結晶后往往會粘連在設備內形成結垢,結垢不易清理也會阻礙熱量傳遞降低蒸發水分的效率,降低了熱源的利用率的問題。
(二)技術方案
為實現上述的目的,本發明提供如下技術方案:一種高鹽廢水蒸發結晶零排放設備,包括水箱、罐體和外管,所述罐體的上端通過圓口固定連接有殼體,所述罐體的上端固定連接有羅茨風機,所述羅茨風機的出風端固定連接有風管,所述風管與殼體的上端固定連接,所述殼體的側壁設置有預熱機構,所述預熱機構通過針織布管進行布水,且利用微壓的熱風對廢水中的水分進行蒸發處理提高廢水的濃度;
所述罐體的下端固定連接有導流管,所述導流管的一端與外管的管壁固定連接,所述外管內固定連接有內管,所述內管的管壁與導流管的一端固定連接,所述內管中安裝有蒸發機構,所述蒸發機構高溫組件對廢水中的水分進一步蒸發,直至廢水中的組份結晶;
所述罐體的側壁固定連接有排風管和進水管,所述進水管的管口處安裝有換熱機構,所述換熱機構通過導管連接有連接部,所述換熱機構利用預熱機構排出的熱蒸汽對廢水進行預熱,提高廢水進入預熱機構的溫度;
所述新風管的管壁上固定連接有引風管,所述引風管一端與外管的管壁固定連接,所述內管的一端延伸至外管的外部并固定連接有尾風管和排污管。
優選的,所述預熱機構包括圓環,所述連接部的上端與圓環固定連接,所述針織布管的上端與連接部固定連接,所述圓環的內側固定連接有滑套,所述滑套套接在殼體的側壁,所述圓環的上端固定連接有多個拉力彈簧,多個所述拉力彈簧的上端均固定在罐體的上端內壁,所述針織布管的下端管口處內外兩側分別固定連接有第一固定環和第二固定環,所述第一固定環和第二固定環的上端均設置有折邊,所述第一圓環和第二圓環的側壁共同固定連接有環形板,所述環形板固定在罐體內并開設有多個滲水孔,所述滲水孔位于第一固定環和第二固定環之間;
所述殼體內固定連接有兩個電加熱器,所述電加熱器位于新風管的管口處下方,所述新風管的一端延伸至殼體內并固定連接有配氣盒,所述配氣盒的側壁固定連接有多個噴氣嘴,所述第二固定環內固定連接有端帽。
優選的,所述端帽的側壁固定連接有螺旋管,所述螺旋管的管壁套接有套管,所述套管的上端固定連接有喇叭管,所述喇叭管固定在罐體內,所述螺旋管的一端延伸至端帽內,所述螺旋管的另一端貫穿罐體的下端并與外管的管壁固定連接。
優選的,所述配氣盒的下端通過滾動軸承轉動連接有立軸,所述立軸的通過軸套與電加熱器的支撐架轉動連接,所述殼體的下端開設有多個切口,多個所述切口內共同套接有傳動架,所述傳動架穿過切口并與滑套的內側固定連接,所述傳動架的上端設置有箱體,所述箱體固定在下方電加熱器支架的側壁上,所述立軸的側壁固定連接有扇葉,所述立軸的下端延伸至箱體內并固定連接有第一錐齒輪,所述第一錐齒輪的一側嚙合有第二錐齒輪,所述第二錐齒輪的側壁固定連接有橫軸,所述橫軸的兩端通過滾珠軸承轉動連接在箱體內,所述橫軸的軸壁上固定連接有兩個偏心輪,所述箱體的下端通過方孔套接有兩個矩形桿,兩個所述矩形桿的下端均與傳動架的上端固定連接,所述矩形桿的上端與偏心輪的側壁接觸。
優選的,所述換熱機構包括兩個環形管,兩個所述環形管之間共同固定連接有多個換熱盤管,多個所述換熱盤管均套接在針織布管的側壁,其中一個所述環形管的管壁固定連接有導管,所述導管的一端與連接部固定連接,另一個所述環形管的管壁固定連接有連接管,所述連接管的一端延伸至罐體的外部,所述水箱的一側固定連接有磁力泵,所述磁力泵的進水端與水箱的出水口固定連接,所述磁力泵的出水端與連接管一端固定連接。
優選的,所述尾風管的一端通過彎管與水箱的一側固定連接,所述水箱的上端通過管道與排風管的一端固定連接,所述水箱的底部設置有內凹部,所述內凹部上開設有排風口,所述水箱內固定連接有兩個隔板,兩個所述隔板之間固定連接有多個換熱直管,所述水箱的側壁固定連接有原水管,且原水管的一端位于兩個隔板之間。
優選的,所述蒸發機構包括鐵芯,所述鐵芯的側壁固定連接有多個環片,所述內管中設置有矩形框,所述矩形框相對的兩側均與內管的內側接觸,所述矩形框的側壁固定連接有多個螺旋條,且螺旋條與內管的內壁接觸,所述矩形框相對的兩側內壁均固定連接有多個U形片,多個所述U形片分別卡接在環片的側壁上,其中相鄰的兩個所述U形片之間均固定連接有刮片,且刮片的一側與鐵芯的側壁接觸,所述內管的一端固定連接有電機,所述電機的一端固定連接有主軸,所述主軸的一端與鐵芯的一端同軸心固定連接,所述鐵芯的另一端固定連接有中軸,所述中軸通過軸承座轉動連接在內管中,所述內管的側壁套接有多個高頻感應線圈。
優選的,所述主軸的軸壁上固定連接有齒輪,所述齒輪的一側嚙合有齒輪軸,所述齒輪軸通過滾動軸承轉動連接在內管的一端,所述齒輪軸嚙合有內齒環,所述內齒環的中心處固定連接有套筒,所述內管中固定連接有密封板,所述密封板通過滾針軸承與套筒的側壁轉動連接,所述套筒的內側通過滾子軸承與主軸的軸壁轉動連接,所述矩形框的一端中心處通過圓孔與套筒的一端同軸心固定連接。
優選的,所述內管和外管的夾層內固定連接有環形塊,所述內管為鐵管,且在其管壁上開設有多個均勻分布的進風孔,所述矩形框、環片、U形片和刮片均為鐵質,且表面均涂覆耐高溫材料,所述外管為絕緣管。
優選的,所述中軸的一端通過滾針軸承與內管的一端轉動連接,所述中軸的軸壁上通過支撐架固定連接有兩個刮板,兩個所述刮板均與內管的內壁接觸。
(三)有益效果
與現有技術相比,本發明提供了一種高鹽廢水蒸發結晶零排放設備,具備以下有益效果:
1、本發明在使用的時候,從水箱一側的原水管送入高鹽廢水,廢水進入到兩個隔板之間的空隙中,之后由磁力泵工作將高鹽廢水經過連接管送入到連接部內,此時連接部與圓環組成一個環形結構的布水腔室,布水腔室中的高鹽廢水浸入到針織布管中,并緩慢下落至預熱機構中,經過預熱機構利用微壓的熱風對高鹽廢水中的水分進行蒸發處理,水分經過蒸發后高鹽廢水的濃度和溫度均提升,之后濃縮后的高鹽廢水經過導流管進入到內管中,由內管中蒸發機構進一步對廢水進行加熱蒸發,直至廢水中組份結晶,在此過程中,排出的高溫水蒸氣經過尾風管進入到水箱中隔板的上方,并與排風管中預熱機構蒸發的水蒸氣混合,隨后高溫水蒸氣經過換熱直管進入到水箱的下部并從排風口處排出,如此即可實現利用預熱機構和蒸發機構中排出的水蒸氣對高鹽廢水的原水進行預熱,使高鹽廢水能夠快速蒸發結晶。
2、本發明設置有的預熱機構,在使用時,兩個電加熱器工作時發熱使針織布管中的溫度上升,羅茨風機工作時通過新風管向針織布管中輸送帶有壓力的氣體,此時氣體穿過發熱的電加熱器時被加熱進一步形成熱風,熱風在壓力作用下穿過針織布管并均勻的與其內部浸入的高鹽廢水進行接觸,使高鹽廢水的溫度進一步提升,此時廢水中的水分在熱氣流的作用下快速揮發,進而起到對高鹽廢水進步一濃縮的作用,新風管排風時利用配氣盒將氣體均勻的從多個排氣嘴中排出,此時排出的氣流吹動扇葉旋轉,扇葉旋轉時帶動立軸使第一錐齒輪旋轉,第一錐齒輪旋轉時帶動第二錐齒輪使橫軸旋轉,橫軸旋轉帶動偏心輪旋轉并擠壓矩形桿,矩形桿受力帶動傳動架使滑套上下移動,并且在拉力彈簧的作用下滑套做往復運動帶動針織布管產生抖動,此時抖動的針織布管能夠加速高鹽廢水下移,從而能夠使得連續流動的高鹽廢水能夠均勻的與穿過針織布管的高溫氣流接觸,加速水分的蒸發,實現對高鹽廢水的余熱和濃縮。
3、本發明設置有的蒸發機構,在使用時,高頻感應線圈工作時產生高頻磁場,處于磁場中的內管與鐵芯利用其金屬材質產生高溫,經過導管進入到內管的濃縮高鹽廢水接觸到高溫的內管和貼心時被快速加熱使其內部的水分蒸發,此時,引風管中的新風經過內管上的進風孔流入到內管中,之后經過尾風管排出,如此即可使蒸發的水蒸氣快速從內管中排出,在工作時啟動電機帶動主軸旋轉,主軸旋轉時帶動齒輪使齒輪軸旋轉,齒輪軸旋轉時帶動內齒環使套筒旋轉,套筒旋轉帶動矩形框旋轉,矩形框旋轉時帶動螺旋條低速的攪動內管中高鹽廢水,使高鹽廢水與滑過內管的內側,使高溫的內管對高鹽廢水進行加熱蒸發,同時,矩形框內的U形片滑過環片,避免鹽分結晶粘連在環片上,同時刮片與鐵芯接觸刮落其表面粘連的結晶體,使得內管、鐵芯和環片均能夠對廢水進行加熱,且結晶體不會粘連在蒸發機構內,并且矩形框的側邊具有一定的厚度,在其旋轉時能夠將處于內管底部的廢水帶動至高處后滑落在鐵芯和環片表面,如此即可實現廢水在內管與多個發熱體接觸加速水分的蒸發,同時在主軸旋轉時能夠帶動貼心和環片快速的旋轉,使高鹽廢水蒸發后形成的晶體不易粘連,且能夠更好的散發熱量,同時在矩形框旋轉時,矩形框帶動中軸和支撐架使刮板做圓周運動,刮板做圓周運動時能夠逐漸攪動結晶體,使其與高溫的內管均勻接觸進一步蒸發出水分。
(發明人:王非;裘碧英)






