公布日:2023.09.05
申請日:2023.07.21
分類號:C02F1/74(2023.01)I;C02F103/18(2006.01)N;C02F101/30(2006.01)N
摘要
本發明公開了一種船舶脫硫廢水的處理裝置,涉及廢水處理技術領域,具體包括裝置箱以及設置于裝置箱頂部的頂箱,所述頂箱的內部開設有進水腔,且頂箱的側邊設置有與進水腔內部連通的進水管,所述裝置箱的內部為中空結構,且裝置箱的頂部開設有與進水腔內部連通的通孔。本發明通過轉動螺桿能夠調整第一錐形塊與第一錐形孔之間的縫隙大小(以下稱為縫隙A),同時也能夠調整第二錐形塊與第二錐形孔之間的縫隙大小(以下稱為縫隙B),通過縫隙A和縫隙B能夠有效對廢水中的雜質進行有效過濾,且過濾效果可通過螺桿進行控制,使得適用范圍更廣,同時在過濾完成后,通過下降滑動箱則能夠對沉淀物進行有效收集,便于后續處理,使用更方便快捷。

權利要求書
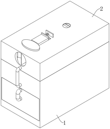
1.一種船舶脫硫廢水的處理裝置,包括裝置箱(1)以及設置于裝置箱(1)頂部的頂箱(2),其特征在于,所述頂箱(2)的內部開設有進水腔(201),且頂箱(2)的側邊設置有與進水腔(201)內部連通的進水管(3),所述裝置箱(1)的內部為中空結構,且裝置箱(1)的頂部開設有與進水腔(201)內部連通的通孔(4);所述裝置箱(1)的內部設置有滑動箱(5)以及固定于裝置箱(1)內側壁的固定板(6),所述滑動箱(5)的頂部設置有頂板(7),且頂板(7)的頂部設置有套筒(8),所述套筒(8)的內部轉動連接有貫穿至套筒(8)外部的第一錐形塊(9),所述固定板(6)上開設有與第一錐形塊(9)適配的第一錐形孔(10);所述滑動箱(5)的側邊還連通有第一連接管(11),且第一連接管(11)的另一端延伸至裝置箱(1)內部,所述裝置箱(1)的外底部還設置有與其內部連通的出水管(12);所述固定板(6)的底部固定有固定桿(17),且固定桿(17)的底部設置有第二錐形塊(18),所述頂板(7)上開設有與第二錐形塊(18)適配的第二錐形孔(19);所述裝置箱(1)的內部還固定有固定塊(13),且固定塊(13)上螺紋連接有螺桿(14),所述螺桿(14)的頂部通過軸承轉動連接有承載板(16),所述螺桿(14)的底部固定有把手(15),所述承載板(16)的頂部與滑動箱(5)的底部之間貼合。
2.根據權利要求1所述的船舶脫硫廢水的處理裝置,其特征在于:所述滑動箱(5)的內底部設置有傾斜板(20),所述裝置箱(1)的內部還固定有位于固定板(6)上方的橫板(21)。
3.根據權利要求1所述的船舶脫硫廢水的處理裝置,其特征在于:所述頂箱(2)的內部還開設有進風腔(202)以及與進風腔(202)連通的孔洞(203),且頂箱(2)側邊開設有與進風腔(202)內部連通的進風孔(22),每兩個相鄰所述套筒(8)之間通過第二連接管(24)連通,其中,位于最左端的套筒(8)外部設置有與其內部連通的出風管(23),位于最右端的套筒(8)外部設置有與其內部連通的第三連接管(27),所述出風管(23)的另一端與孔洞(203)連通。
4.根據權利要求3所述的船舶脫硫廢水的處理裝置,其特征在于:所述滑動箱(5)的底部固定有具有中空結構的連接盤(28),且所述連接盤(28)中心處貫穿設置有轉桿(29),所述轉桿(29)的內部具有中空結構,所述轉桿(29)上開設有與其內部連通的氣孔(30),所述第三連接管(27)的另一端與連接盤(28)的內部連通;所述轉桿(29)外部沿其圓周方向均勻設置有轉板(31),且轉板(31)的內部開設有與轉桿(29)內部連通的通道(32),所述轉板(31)的內部還開設有與通道(32)連通的支孔(33),所述支孔(33)至少具有一段橫截面減小的收縮段。
5.根據權利要求1所述的船舶脫硫廢水的處理裝置,其特征在于:所述第一錐形塊(9)的底部中心處通過軸承轉動連接有第一轉軸(25),且第一轉軸(25)外部沿其圓周方向均勻設置有位于套筒(8)內部的第一扇葉(26),其中一根所述第一轉軸(25)的底部與轉桿(29)的頂部連接。
6.根據權利要求3所述的船舶脫硫廢水的處理裝置,其特征在于:所述頂箱(2)的內部還開設有儲料腔(204),且頂箱(2)的頂部開設有與儲料腔(204)內部聯通的進料口,所述儲料腔(204)的內底部開設有與進水腔(201)內部連通的第一下料孔(34);所述進水腔(201)的內頂部設置有滑板(35),且滑板(35)上開設有與第一下料孔(34)配合的第二下料孔(36);所述滑板(35)的頂部的一端設置有貫穿至頂箱(2)外部的連接板(37),且頂箱(2)頂部與連接板(37)一側之間連接有彈簧(38)。
7.根據權利要求6所述的船舶脫硫廢水的處理裝置,其特征在于:所述進風腔(202)的內底部轉動連接有第二轉軸(40),且第二轉軸(40)的外部沿其圓周方向均勻設置有第二扇葉(41),所述第二轉軸(40)的頂部貫穿頂箱(2)并連接有凸輪(42),所述連接板(37)遠離彈簧(38)的一側設置有與凸輪(42)配合的抵觸板(39)。
發明內容
本發明的目的在于提供一種船舶脫硫廢水的處理裝置,以解決上述背景技術中提出的問題。
為實現上述發明目的,本發明采用如下技術方案:
本發明提供的一種船舶脫硫廢水的處理裝置,包括裝置箱以及設置于裝置箱頂部的頂箱,所述頂箱的內部開設有進水腔,且頂箱的側邊設置有與進水腔內部連通的進水管,所述裝置箱的內部為中空結構,且裝置箱的頂部開設有與進水腔內部連通的通孔;所述裝置箱的內部設置有滑動箱以及固定于裝置箱內側壁的固定板,所述滑動箱的頂部設置有頂板,且頂板的頂部設置有套筒,所述套筒的內部轉動連接有貫穿至套筒外部的第一錐形塊,所述固定板上開設有與第一錐形塊適配的第一錐形孔;所述滑動箱的側邊還連通有第一連接管,且第一連接管的另一端延伸至裝置箱內部,所述裝置箱的外底部還設置有與其內部連通的出水管;所述固定板的底部固定有固定桿,且固定桿的底部設置有第二錐形塊,所述頂板上開設有與第二錐形塊適配的第二錐形孔;所述裝置箱的內部還固定有固定塊,且固定塊上螺紋連接有螺桿,所述螺桿的頂部通過軸承轉動連接有承載板,所述螺桿的底部固定有把手,所述承載板的頂部與滑動箱的底部之間貼合。
優選的,所述滑動箱的內底部設置有傾斜板,所述裝置箱的內部還固定有位于固定板上方的橫板。
優選的,所述頂箱的內部還開設有進風腔以及與進風腔連通的孔洞,且頂箱側邊開設有與進風腔內部連通的進風孔,每兩個相鄰所述套筒之間通過第二連接管連通,其中,位于最左端的套筒外部設置有與其內部連通的出風管,位于最右端的套筒外部設置有與其內部連通的第三連接管,所述出風管的另一端與孔洞連通。
優選的,所述滑動箱的底部固定有具有中空結構的連接盤,且所述連接盤中心處貫穿設置有轉桿,所述轉桿的內部具有中空結構,所述轉桿上開設有與其內部連通的氣孔,所述第三連接管的另一端與連接盤的內部連通;所述轉桿外部沿其圓周方向均勻設置有轉板,且轉板的內部開設有與轉桿內部連通的通道,所述轉板的內部還開設有與通道連通的支孔,所述支孔至少具有一段橫截面減小的收縮段。
優選的,所述第一錐形塊的底部中心處通過軸承轉動連接有第一轉軸,且第一轉軸外部沿其圓周方向均勻設置有位于套筒內部的第一扇葉,其中一根所述第一轉軸的底部與轉桿的頂部連接。
優選的,所述頂箱的內部還開設有儲料腔,且頂箱的頂部開設有與儲料腔內部聯通的進料口,所述儲料腔的內底部開設有與進水腔內部連通的第一下料孔;所述進水腔的內頂部設置有滑板,且滑板上開設有與第一下料孔配合的第二下料孔;所述滑板的頂部的一端設置有貫穿至頂箱外部的連接板,且頂箱頂部與連接板一側之間連接有彈簧。
優選的,所述進風腔的內底部轉動連接有第二轉軸,且第二轉軸的外部沿其圓周方向均勻設置有第二扇葉,所述第二轉軸的頂部貫穿頂箱并連接有凸輪,所述連接板遠離彈簧的一側設置有與凸輪配合的抵觸板。
與現有技術相比,以上一個或多個技術方案存在以下有益效果:
1、通過握持把手使得螺桿進行轉動,由于螺桿與固定塊之間螺紋連接,而固定塊與裝置箱的內壁之間固定,因此螺桿的轉動能夠帶動承載板上升或者下降,而承載板的升降能夠帶動滑動箱以及套筒和第一錐形塊同步升降,因此,通過轉動螺桿能夠調整第一錐形塊與第一錐形孔之間的縫隙大小(以下稱為縫隙A),同時也能夠調整第二錐形塊與第二錐形孔之間的縫隙大小(以下稱為縫隙B),通過縫隙A和縫隙B能夠有效對廢水中的雜質進行有效過濾,且過濾效果可通過螺桿進行控制,使得適用范圍更廣,同時在過濾完成后,通過下降滑動箱則能夠對沉淀物進行有效收集,便于后續處理,使用更方便快捷;
2、由于本裝置是應用于船舶上的,而水上工作常見大風,因此在使用時將裝置設置在船艙外或者將外界風引入至進風孔處,使得風流進入到進風腔的內部,而后風流通過孔洞、各個套筒以及第三連接管后進入到連接盤的內部,然后經由轉桿上的氣孔進入到轉桿的內部,最后經過通道后從支孔處噴出,第三連接管上還開設有與裝置箱內部連通的圓形孔,進而使得被過濾后的廢水會進入到連接盤的內部并隨著風流從支孔處噴出,由于支孔至少具有一段橫截面減小的收縮段,因此廢水在經過該收縮段時壓力會下降,當壓力下降到一定程度后,會出現空化氣泡,空化泡隨著空氣流動,在此過程中,如遇壓力突增的情況時,空化泡的體積將迅速縮小直至潰滅,與此同時釋放出具有氧化活性的羥基自由基,羥基自由基會與脫硫廢水中的有機物或其他還原性物質進行氧化反應,因此能夠對脫硫廢水進行空化氧化,繼而對脫硫廢水進行提取副鹽,有利于節約資源,綠色低碳且環保;
3、在風流經過套筒的內部時,會帶動第一扇葉和第一轉軸進行轉動,進而使得第一錐形塊進行轉動,第一錐形塊的轉動有利于避免縫隙A處雜質堵塞的情況,使得能夠進行高效過濾,使用效果更好。
(發明人:沈海濤;汪成;姚盛翔;龔良豐;陸葉;方豐;鐘志平;陳煜;蔡日新;蔣學鵬)






