公布日:2024.03.01
申請日:2023.12.25
分類號:C02F1/00(2023.01)I;C02F1/52(2023.01)I;C02F1/56(2023.01)I
摘要
本發明提供一種污水預處理系統及污水預處理方法,包括控制器和多級過濾箱;各過濾箱均包括外殼、濾筒和濾物提升裝置;濾物提升裝置包括提升電機、豎直螺旋輸送葉、同軸設置在豎直螺旋輸送葉外的濾物輸送管;濾物輸送管的底端設有與對應濾筒筒底連通的濾物進口,濾物輸送管的上端外側設有濾物排出管;各外殼設有濾箱進水口和濾箱排水口;除初級過濾箱外的各級過濾箱的濾箱進水口與前一級過濾箱的濾箱排水口連通,末級過濾箱的濾箱排水口與終極絮凝池連通;本發明通過多級過濾箱對污水進行多級過濾,并利用濾物提升裝置將各濾筒過濾出來的濾物自動提升至濾筒外進行排放,實現各濾筒內濾物的自動清理,大幅減少或避免工作人員的清理作業量。

權利要求書
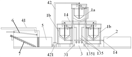
1.一種污水預處理系統,其特征在于,包括控制器和自上而下依次設置的多級過濾箱;各過濾箱均包括外殼(11)、位于外殼(11)內的濾筒(12)和將濾筒(12)內濾物向上提升的濾物提升裝置;前一級過濾箱的濾筒濾徑大于相鄰后一級過濾箱的濾筒濾徑;所述濾物提升裝置包括提升電機(131)、與提升電機(131)相連的豎直螺旋輸送葉(132)、同軸設置在豎直螺旋輸送葉(132)外的濾物輸送管(133);所述濾物輸送管(133)的底端設有與對應濾筒(12)筒底連通的濾物進口,所述濾物輸送管(133)的上端外側設有濾物排出管(134);所述濾物排出管(134)與污物排放管(135)相連;各外殼(11)的頂部設有濾箱進水口,且各外殼(11)的底部設有濾箱排水口;除初級過濾箱外的各級過濾箱的濾箱進水口與前一級過濾箱的濾箱排水口連通,末級過濾箱的濾箱排水口與終極絮凝池(2)連通;所述提升電機(131)與控制器相連。
2.根據權利要求1所述的一種污水預處理系統,其特征在于,所述濾筒(12)的上方均設有導污箱(16),且導污箱(16)與濾物排出管(134)位于濾物輸送管(133)的同一側;所述導污箱(16)內設有導污過濾板(161),且導污過濾板(161)自內而外向下傾斜;所述濾物排出管(134)的出口位于導污過濾板(161)的上方,且導污箱(16)上設有位于導污過濾板最低位置處的排污口;所述排污口與對應的污物排放管(135)相連;所述導污箱(16)的底部設有與對應濾筒(12)連通的出水口。
3.根據權利要求1或2所述的一種污水預處理系統,其特征在于,所述污水預處理系統包括用于停放垃圾輸送車的停車位(3);各污物排放管(135)的出口位于停車位(3)上方的預設高度處,且各污物排放管(135)的出口處均設有污物排放閥(1351);所述停車位(3)處設有檢測停車位預設位置處有無垃圾輸送車的檢測裝置(31);所述污物排放閥(1351)和檢測裝置(31)均與控制器相連。
4.根據權利要求3所述的一種污水預處理系統,其特征在于,所述檢測裝置(31)為圖像傳感器或紅外避障傳感器。
5.根據權利要求1所述的一種污水預處理系統,其特征在于,所述污水預處理系統包括污水蓄水池(5);所述污水蓄水池(5)的頂部設有污水進水口,且污水蓄水池(5)的池壁上設有與外界連通的大雜物排出口及與初級過濾箱(1a)上濾箱進水口連通的污水出水口;所述污水蓄水池(5)內設有過濾大雜物并將過濾出來的大雜物傳輸至大雜物排出口外的大雜物過濾傳輸裝置(6);所述大雜物過濾傳輸裝置(6)包括兩個轉動設置的水平轉軸(62)和套設在水平轉軸(62)上的傳送帶(63),且至少一個水平轉軸(62)由轉軸電機(64)驅動自轉;所述污水進水口位于傳送帶(63)的上方,且傳送帶(63)上間隔設有多個用于過濾大雜物的濾槽;所述轉軸電機(64)與控制器相連。
6.根據權利要求5所述的一種污水預處理系統,其特征在于,一個水平轉軸(62)位于污水蓄水池(5)內遠離大雜物排出口的一側,另一個水平轉軸(62)位于大雜物排出口處。
7.根據權利要求5所述的一種污水預處理系統,其特征在于,兩個水平轉軸(62)均位于污水蓄水池(5)內;一個水平轉軸(62)位于污水蓄水池(5)內遠離大雜物排出口的一側,且所述大雜物排出口處設有與另一水平轉軸(62)上傳送帶(63)對接的垃圾導引件(65)。
8.根據權利要求5所述的一種污水預處理系統,其特征在于,所述污水蓄水池(5)內設有豎直過濾板(51),所述豎直過濾板(51)將污水蓄水池(5)分隔為第一蓄水腔(5a)和第二蓄水腔(5b);所述大雜物過濾傳輸裝置(6)位于第一蓄水腔(5a)內,且大雜物排出口位于第一蓄水腔(5a)除豎直過濾板(51)之外的腔壁上;污水出水口位于第二蓄水腔(5b)除豎直過濾板(51)之外的腔壁上,且污水出水口經污水輸送管(42)與初級過濾箱的濾箱進水口連通;所述污水輸送管(42)上設有污水輸送泵(421),所述污水輸送泵(421)與控制器連接。
9.根據權利要求8所述的一種污水預處理系統,其特征在于,所述第一蓄水腔(5a)內設有污泥輸送裝置(7);所述污泥輸送裝置(7)包括輸送電機(71)、傾斜設置并與輸送電機(71)相連的輸送螺旋葉(72)及同軸設置在輸送螺旋葉(72)外的污泥輸送管(73);所述污泥輸送管(73)的最低端設有與第一蓄水腔(5a)底部連通的污泥進口;所述污泥輸送管(73)的外壁上設有通向第一蓄水腔(5a)外的排泥管(74);所述輸送電機(71)與控制器連接。
10.根據權利要求8所述的一種污水預處理系統,其特征在于,所述第二蓄水腔(5b)為初級絮凝腔。
11.根據權利要求1或2所述的一種污水預處理系統,其特征在于,各外殼(12)的底部呈倒錐形。
12.一種污水預處理方法,其特征在于,采用如權利要求9所述的污水預處理系統進行污水預處理;所述污水預處理方法包括:通過第一蓄水腔(5a)中的大雜物過濾傳輸裝置(6)對進入第一蓄水腔(5a)中的污水進行大雜物濾除,并將濾除后的大雜物傳輸至大雜物排出口外進行排放;大雜物濾除后的污水在第一蓄水池(5a)內進行污泥沉降,并經豎直過濾板(51)過濾后進入第二蓄水池(5b)內;當第一蓄水池(5a)內的污泥沉降厚度滿足要求時,啟動污泥輸送裝置(7)以將第一蓄水池(5a)內沉降的污泥移送至第一蓄水池(5a)外;第二蓄水池(5b)內的污水經污水輸送管(42)送入初級過濾箱的濾筒(11)內進行初級過濾,初級過濾后的污水在自重作用下依次進入后續各級過濾箱的濾筒(11)中進行精細過濾,精細過濾后的污水送入終極絮凝池(2)進行絮凝處理;在此過程中,各濾物提升裝置將對應濾筒(11)中過濾出來的濾物提升至濾筒(11)外并經對應的污物排放管(135)排出。
13.根據權利要求12所述的一種污水預處理方法,其特征在于,所述第二蓄水池(5b)內添加有絮凝劑。
發明內容
鑒于以上所述現有技術的缺點,本發明要解決的技術問題在于提供一種污水預處理系統及污水預處理工藝,其可對污水進行分級過濾,并自動清除過濾出來的雜質,有效減輕人工強度和后續污水的凈化壓力。
為實現上述目的及其它相關目的,本發明提供一種污水預處理系統,包括控制器和自上而下依次設置的多級過濾箱;各過濾箱均包括外殼、位于外殼內的濾筒和將濾筒內濾物向上提升的濾物提升裝置;前一級過濾箱的濾筒濾徑大于相鄰后一級過濾箱的濾筒濾徑;所述濾物提升裝置包括提升電機、與提升電機相連的豎直螺旋輸送葉、同軸設置在豎直螺旋輸送葉外的濾物輸送管;所述濾物輸送管的底端設有與對應濾筒筒底連通的濾物進口,所述濾物輸送管的上端外側設有濾物排出管;所述濾物排出管與污物排放管相連;各外殼的頂部設有濾箱進水口,且各外殼的底部設有濾箱排水口;除初級過濾箱外的各級過濾箱的濾箱進水口與前一級過濾箱的濾箱排水口連通,末級過濾箱的濾箱排水口與終極絮凝池連通;所述提升電機與控制器相連;本發明通過多級過濾箱對污水進行多級過濾處理,并利用濾物提升裝置將各濾筒過濾出來的濾物自動提升至濾筒外進行排放,實現各濾筒內濾物的自動清理,從而在提高過濾效果的基礎上,大幅減少或避免工作人員的清理作業量。
優選地,所述濾筒的上方均設有導污箱,且導污箱與濾物排出管位于濾物輸送管的同一側;所述導污箱內設有導污過濾板,且導污過濾板自內而外向下傾斜;所述濾物排出管的出口位于導污過濾板的上方,且導污箱上設有位于導污過濾板最低位置處的排污口;所述排污口與對應的污物排放管相連;所述導污箱的底部設有與對應濾筒連通的出水口;利用導污箱中的導污過濾板對提升出來的濾物進行再次過濾處理,以進一步降低濾物含水量,從而便于濾物的后續運輸與處理。
優選地,所述污水預處理系統包括用于停放垃圾輸送車的停車位;各污物排放管的出口位于停車位上方的預設高度處,且各污物排放管的出口處均設有污物排放閥;所述停車位處設有檢測停車位預設位置處有無垃圾輸送車的檢測裝置;所述污物排放閥和檢測裝置均與控制器相連;利用檢測裝置檢測停車位預設位置處是否存在垃圾輸送車,以便控制器根據檢測結果控制各污物排放閥的開關,從而實現濾物的自動排放與停止。
優選地,所述檢測裝置為圖像傳感器或紅外避障傳感器。
優選地,所述污水預處理系統包括污水蓄水池;所述污水蓄水池的頂部設有污水進水口,且污水蓄水池池壁上設有與外界連通的大雜物排出口及與初級過濾箱上濾箱進水口連通的污水出水口;所述污水蓄水池內設有過濾大雜物并將過濾出來的大雜物傳輸至大雜物排出口外的大雜物過濾傳輸裝置;所述大雜物過濾傳輸裝置包括兩個轉動設置的水平轉軸和套設在水平轉軸上的傳送帶,且至少一個水平轉軸由轉軸電機驅動自轉;所述污水進水口位于傳送帶的上方,且傳送帶上間隔設有多個用于過濾大雜物的濾槽;所述轉軸電機與控制器相連;本發明利用大雜物過濾傳輸裝置實現污水中大雜物的自動分離,并將分離出來的大雜物自動傳輸至指定位置進行排放,有效降低工作人員的雜物清理作業量。
優選地,一個水平轉軸位于污水蓄水池內遠離大雜物排出口的一側,另一個水平轉軸位于大雜物排出口處,以使傳送帶局部伸至大雜物排出口外,從而便于移送至大雜物排出口外的大雜物在重力作用下自動脫離傳送帶,實現傳送帶上大雜物的自動清理。
優選地,兩個水平轉軸均位于污水蓄水池內;一個水平轉軸位于污水蓄水池內遠離大雜物排出口的一側,且所述大雜物排出口處設有與另一水平轉軸上傳送帶對接的垃圾導引件。
優選地,所述污水蓄水池內設有豎直過濾板,所述豎直過濾板將污水蓄水池分隔為第一蓄水腔和第二蓄水腔;所述大雜物過濾傳輸裝置位于第一蓄水腔內,,且大雜物排出口位于第一蓄水腔除豎直過濾板之外的腔壁上;污水出水口位于第二蓄水腔除豎直過濾板之外的腔壁上,且污水出水口經經污水輸送管與初級過濾箱的濾箱進水口連通;所述污水輸送管上設有污水輸送泵,所述污水輸送泵與控制器連接;豎直過濾板可對大雜物去除后的污水進行再次過濾,以降低后續處理壓力;同時第二蓄水腔也可作為初始絮凝腔進行污水初始絮凝處理,提高污水處理效果。
優選地,所述第一蓄水腔內設有污泥輸送裝置;所述污泥輸送裝置包括輸送電機、傾斜設置并與輸送電機相連的輸送螺旋葉及同軸設置在輸送螺旋葉外的污泥輸送管;所述污泥輸送管的最低端設有與第一蓄水腔底部連通的污泥進口;所述污泥輸送管的外壁上設有通向第一蓄水腔外的排泥管;所述輸送電機與控制器連接;由于污泥輸送裝置可將沉積在第一蓄水腔腔底的沉積物自動轉運至第一蓄水腔外進行收集與轉運,進一步減少人工清理作業。
優選地,各外殼的底部呈倒錐形,便于處理后污水的順利排出。
本發明還提供一種污水預處理方法,其采用上述的污水預處理系統進行污水預處理;所述污水預處理方法包括:
通過第一蓄水腔中的大雜物過濾傳輸裝置對進入第一蓄水腔中的污水進行大雜物濾除,并將濾除后的大雜物傳輸至大雜物排出口外進行排放;
大雜物濾除后的污水在第一蓄水池內進行污泥沉降,并經豎直過濾板過濾后進入第二蓄水池內;當第一蓄水池內的污泥沉降厚度滿足要求時,啟動污泥輸送裝置以將第一蓄水池內沉降的污泥移送至第一蓄水池外;
第二蓄水池內的污水經污水輸送管送入初級過濾箱的濾筒內進行初級過濾,初級過濾后的污水在自重作用下依次進入后續各級過濾箱的濾筒中進行精細過濾,精細過濾后的污水送入終極絮凝池進行絮凝處理;在此過程中,各濾物提升裝置將對應濾筒中過濾出來的濾物提升至濾筒外并經對應的污物排放管排出。
優選地,所述第二蓄水池內添加有絮凝劑。
如上所述,本發明涉及的一種污水預處理系統及污水預處理方法,其可對污水依次進行大雜物去除、粗過濾、初級絮凝處理、多級過濾和終極絮凝處理,以提高污水的預處理效果,降低后續污水凈化處理壓力;同時可在污水預處理過程中,自動清理過濾出來的濾物和沉積污泥,不僅大幅減少或避免污水預處理的清理作業,而且提升了污水預處理效率,便于大范圍推廣應用。
(發明人:胡琪勇;李思潔;劉海臣;楊紅)






