公布日:2023.08.29
申請日:2023.06.01
分類號:C02F11/13(2019.01)I
摘要
本發明公開了一種便于水汽回收的循環式污泥熱泵干燥裝置,包括:用于起承載限位作用的外筒體、外筒體內固定連接的內筒體、外筒體上端中部卡合貫穿的螺旋輸送桿及外筒體左上端內側螺釘固定安裝的熱風泵和熱風泵右前側設置的處理箱;還包括:所述外筒體的后上端內側阻尼轉動連接有筒蓋;所述外筒體和內筒體的內側形成空腔。該便于水汽回收的循環式污泥熱泵干燥裝置,便于循環通風對污泥進行干燥,并便于避免因污泥堵塞而影響通風干燥,便于對污泥進行攪拌和刮動,使得干燥的效果好、效率高,便于使干燥后的污泥進行完全出料,便于對水汽冷卻和冷凝進行回收,以及便于保證密封性能,使之水汽回收、水分吸收、過濾和凈化的效果好。

權利要求書
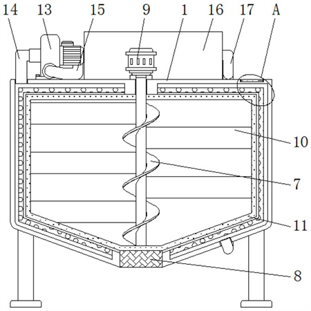
1.一種便于水汽回收的循環式污泥熱泵干燥裝置,包括:用于起承載限位作用的外筒體(1)、外筒體(1)內固定連接的內筒體(4)、外筒體(1)上端中部卡合貫穿的螺旋輸送桿(7)及外筒體(1)左上端內側螺釘固定安裝的熱風泵(13)和熱風泵(13)右前側設置的處理箱(16);其特征在于,還包括:所述外筒體(1)的后上端內側阻尼轉動連接有筒蓋(2),且筒蓋(2)的外側粘貼固定有與外筒體(1)緊密貼合連接的第一密封墊(3);所述外筒體(1)和內筒體(4)的內側形成空腔(5),且內筒體(4)的內部為多孔狀結構;所述螺旋輸送桿(7)的下方設置有與外筒體(1)固定安裝的電磁閥(8),且螺旋輸送桿(7)的上側經聯軸器連接有電機(9);所述熱風泵(13)的左端和后端分別螺紋連接有通風管(14)和回風管(15),且通風管(14)的下端螺紋連接在外筒體(1)的左上端內側;所述處理箱(16)固定在外筒體(1)的前端上表面,且處理箱(16)的右端內側螺紋連接有導風管(17)。
2.根據權利要求1所述的一種便于水汽回收的循環式污泥熱泵干燥裝置,其特征在于:所述內筒體(4)的內側貼合設置有外端與之粘貼連接的透氣膜(6),且透氣膜(6)的內表面與外筒體(1)和電磁閥(8)的內表面為同面,并且外筒體(1)的右上端內側鑲嵌安裝有控制器(12)。
3.根據權利要求1所述的一種便于水汽回收的循環式污泥熱泵干燥裝置,其特征在于:所述螺旋輸送桿(7)的外側固定連接有交錯設置的攪拌板(10),且螺旋輸送桿(7)和攪拌板(10)的外側固定連接有刮板(11)。
4.根據權利要求3所述的一種便于水汽回收的循環式污泥熱泵干燥裝置,其特征在于:所述刮板(11)的外側與外筒體(1)、透氣膜(6)和電磁閥(8)為貼合連接,且回風管(15)和導風管(17)的外端分別螺紋連接在處理箱(16)的左端中部內側和外筒體(1)的右下端內側,并且通風管(14)和導風管(17)均與空腔(5)構成聯通結構。
5.根據權利要求1所述的一種便于水汽回收的循環式污泥熱泵干燥裝置,其特征在于:所述處理箱(16)的前端內側嵌套設置有箱蓋(18),且箱蓋(18)的外側粘貼固定有與外筒體(1)和處理箱(16)緊密貼合連接的第二密封墊(19),并且處理箱(16)的上端前側對稱設置有與之阻尼轉動連接的限位塊(20)。
6.根據權利要求5所述的一種便于水汽回收的循環式污泥熱泵干燥裝置,其特征在于:所述限位塊(20)貼合設置于箱蓋(18)和第二密封墊(19)的上端前側,且箱蓋(18)和第二密封墊(19)的后側貼合設置有盛水盒(21)、集水盒(26)、水分吸附板(27)、雜質過濾板(28)和活性炭凈化板(29)。
7.根據權利要求6所述的一種便于水汽回收的循環式污泥熱泵干燥裝置,其特征在于:所述盛水盒(21)位于處理箱(16)的右下端內側,且盛水盒(21)的右端內側固定有限制條(22),并且限制條(22)內卡扣貼合設置有導風管(17)。
8.根據權利要求6所述的一種便于水汽回收的循環式污泥熱泵干燥裝置,其特征在于:所述盛水盒(21)的左側貼合設置有與處理箱(16)固定連接的支撐板(23),且支撐板(23)的上端內側等間距粘貼固定有第三密封墊(24),并且第三密封墊(24)的內側貼合貫穿有傾斜設置的冷凝管(25),而且冷凝管(25)的左端下方設置有集水盒(26)。
9.根據權利要求6所述的一種便于水汽回收的循環式污泥熱泵干燥裝置,其特征在于:所述集水盒(26)的左側依次設置有與處理箱(16)貼合連接的水分吸附板(27)、雜質過濾板(28)和活性炭凈化板(29),且雜質過濾板(28)的左右兩側分別與活性炭凈化板(29)和水分吸附板(27)貼合連接。
發明內容
本發明的目的在于提供一種便于水汽回收的循環式污泥熱泵干燥裝置,以解決上述背景技術中提出在使用過程中,干燥箱體右端內部開設的第二通風孔易因污泥而堵塞,從而影響循環通風,干燥箱體的下端內側易殘留有污泥,難以使之出料完全,密封性能有限,且不便于對水汽進行回收,易影響污泥的干燥的問題。
為實現上述目的,本發明提供如下技術方案:一種便于水汽回收的循環式污泥熱泵干燥裝置,包括:用于起承載限位作用的外筒體、外筒體內固定連接的內筒體、外筒體上端中部卡合貫穿的螺旋輸送桿及外筒體左上端內側螺釘固定安裝的熱風泵和熱風泵右前側設置的處理箱;
還包括:
所述外筒體的后上端內側阻尼轉動連接有筒蓋,且筒蓋的外側粘貼固定有與外筒體緊密貼合連接的第一密封墊;
所述外筒體和內筒體的內側形成空腔,且內筒體的內部為多孔狀結構;
所述螺旋輸送桿的下方設置有與外筒體固定安裝的電磁閥,且螺旋輸送桿的上側經聯軸器連接有電機;
所述熱風泵的左端和后端分別螺紋連接有通風管和回風管,且通風管的下端螺紋連接在外筒體的左上端內側;
所述處理箱固定在外筒體的前端上表面,且處理箱的右端內側螺紋連接有導風管。
作為本發明的優選技術方案,所述內筒體的內側貼合設置有外端與之粘貼連接的透氣膜,且透氣膜的內表面與外筒體和電磁閥的內表面為同面,并且外筒體的右上端內側鑲嵌安裝有控制器。
通過采用上述技術方案,由于內筒體的內側貼合設置有外端與之粘貼連接的透氣膜,且透氣膜的內表面與外筒體和電磁閥的內表面為同面,并且外筒體的右上端內側鑲嵌安裝有控制器,因此便于經透氣膜、電磁閥和控制器進行透氣、排料和控制。
作為本發明的優選技術方案,所述螺旋輸送桿的外側固定連接有交錯設置的攪拌板,且螺旋輸送桿和攪拌板的外側固定連接有刮板。
通過采用上述技術方案,由于螺旋輸送桿的外側固定連接有交錯設置的攪拌板,且螺旋輸送桿和攪拌板的外側固定連接有刮板,因此便于經攪拌板和刮板對污泥進行攪拌和刮動。
作為本發明的優選技術方案,所述刮板的外側與外筒體、透氣膜和電磁閥為貼合連接,且回風管和導風管的外端分別螺紋連接在處理箱的左端中部內側和外筒體的右下端內側,并且通風管和導風管均與空腔構成聯通結構。
通過采用上述技術方案,由于刮板的外側與外筒體、透氣膜和電磁閥為貼合連接,且回風管和導風管的外端分別螺紋連接在處理箱的左端中部內側和外筒體的右下端內側,并且通風管和導風管均與空腔構成聯通結構,因此便于使該裝置對污泥進行循環干燥。
作為本發明的優選技術方案,所述處理箱的前端內側嵌套設置有箱蓋,且箱蓋的外側粘貼固定有與外筒體和處理箱緊密貼合連接的第二密封墊,并且處理箱的上端前側對稱設置有與之阻尼轉動連接的限位塊。
通過采用上述技術方案,由于處理箱的前端內側嵌套設置有箱蓋,且箱蓋的外側粘貼固定有與外筒體和處理箱緊密貼合連接的第二密封墊,并且處理箱的上端前側對稱設置有與之阻尼轉動連接的限位塊,因此便于經第二密封墊和限位塊保證處理箱和箱蓋之間的密封性能。
作為本發明的優選技術方案,所述限位塊貼合設置于箱蓋和第二密封墊的上端前側,且箱蓋和第二密封墊的后側貼合設置有盛水盒、集水盒、水分吸附板、雜質過濾板和活性炭凈化板。
通過采用上述技術方案,由于限位塊貼合設置于箱蓋和第二密封墊的上端前側,且箱蓋和第二密封墊的后側貼合設置有盛水盒、集水盒、水分吸附板、雜質過濾板和活性炭凈化板,因此便于經限位塊對箱蓋進行限位。
作為本發明的優選技術方案,所述盛水盒位于處理箱的右下端內側,且盛水盒的右端內側固定有限制條,并且限制條內卡扣貼合設置有導風管。
通過采用上述技術方案,由于盛水盒位于處理箱的右下端內側,且盛水盒的右端內側固定有限制條,并且限制條內卡扣貼合設置有導風管,因此便于使回流的水汽進入盛水盒內的水內冷卻再排出。
作為本發明的優選技術方案,所述盛水盒的左側貼合設置有與處理箱固定連接的支撐板,且支撐板的上端內側等間距粘貼固定有第三密封墊,并且第三密封墊的內側貼合貫穿有傾斜設置的冷凝管,而且冷凝管的左端下方設置有集水盒。
通過采用上述技術方案,由于盛水盒的左側貼合設置有與處理箱固定連接的支撐板,且支撐板的上端內側等間距粘貼固定有第三密封墊,并且第三密封墊的內側貼合貫穿有傾斜設置的冷凝管,而且冷凝管的左端下方設置有集水盒,因此便于使通出水后的蒸汽進行冷凝,以達到對水汽進行回收的目的。
作為本發明的優選技術方案,所述集水盒的左側依次設置有與處理箱貼合連接的水分吸附板、雜質過濾板和活性炭凈化板,且雜質過濾板的左右兩側分別與活性炭凈化板和水分吸附板貼合連接。
通過采用上述技術方案,由于集水盒的左側依次設置有與處理箱貼合連接的水分吸附板、雜質過濾板和活性炭凈化板,且雜質過濾板的左右兩側分別與活性炭凈化板和水分吸附板貼合連接,因此便于使冷卻和冷凝后的水汽進行水分吸收、過濾和凈化。
與現有技術相比,本發明的有益效果是:該便于水汽回收的循環式污泥熱泵干燥裝置,便于循環通風對污泥進行干燥,并便于避免因污泥堵塞而影響通風干燥,便于對污泥進行攪拌和刮動,使得干燥的效果好、效率高,便于使干燥后的污泥進行完全出料,便于對水汽冷卻和冷凝進行回收,以及便于保證密封性能,使之水汽回收、水分吸收、過濾和凈化的效果好;
1.設置有外筒體、內筒體、空腔和透氣膜,由于外筒體的內側固定連接有內部呈多孔狀結構的內筒體,外筒體和內筒體的內側形成有空腔,而內筒體的內側貼合設置有與之粘貼固定的透氣膜,外筒體的左上端螺釘固定安裝有外端螺紋連接通風管和回風管的熱風泵,且通風管螺紋連接在外筒體的左上端與空腔構成聯通結構,回風管和導風管分別螺紋連接在處理箱的左右兩端中部內側,導風管的外端螺紋連接在外筒體的右下端與空腔構成聯通結構,因此便于循環通風對污泥進行干燥,并便于避免因污泥堵塞而影響通風干燥;
2.設置有外筒體、螺旋輸送桿、攪拌板和刮板,由于外筒體的上端中部內側卡合貫穿有外側固定攪拌板和刮板的螺旋輸送桿,螺旋輸送桿上經聯軸器連接有電機,外筒體的下端內側固定安裝有電磁閥,而刮板的外側與外筒體、透氣膜和電磁閥為貼合連接,因此便于對污泥進行攪拌和刮動,使得干燥的效果好、效率高,并便于使干燥后的污泥進行完全出料;
3.設置有第一密封墊、第二密封墊、水分吸附板和雜質過濾板,由于外筒體后上端阻尼轉動連接筒蓋的外側粘貼固定有第一密封墊,第一密封墊與外筒體為緊密貼合連接,而箱蓋的外側粘貼固定有與處理箱緊密貼合連接的第二密封墊,外筒體、處理箱和箱蓋的左側內側嵌套貼合有水分吸附板、雜質過濾板和活性炭凈化板,因此便于保證該裝置的密封性能,使之水汽回收、水分吸收、過濾和凈化的效果好;
4.設置有處理箱、箱蓋、盛水盒和限制條,由于處理箱和箱蓋的右端內貼合設置有盛水盒,盛水盒的右上端內側固定有與導風管卡扣貼合的限制條,且盛水盒的左側貼合設置有與處理箱固定連接的支撐板,支撐板內等間距粘貼固定有內側嵌套貼合冷凝管的第三密封墊,而冷凝管的左端下側設置有集水盒,因此便于對水汽進行冷卻和冷凝,達到回收的目的。
(發明人:黃志洋;李紅軍)






