公布日:2023.10.10
申請日:2023.08.14
分類號:C02F1/48(2023.01)I;C02F103/16(2006.01)N;C02F101/20(2006.01)N
摘要
本發明屬于化工生產技術領域,尤其是一種化學鍍鎳廢水處理設備,針對在處理過程中需要反復的沉淀過濾,這導致了處理的效率緩慢,現提出以下方案,包括處理筒,所述處理筒的下側固定連接有筒座,處理筒上開設有進水口,進水口的內部固定連接有進水管,且處理筒的底部開設有出水口,出水口的內部固定連接有排水管,進水管和排水管上均設置有閥門,所述處理筒的上方設置有頂板。本發明公開的一種化學鍍鎳廢水處理設備利用磁鐵對鎳的磁性進行廢水中固體鎳的吸附,從而便于進行廢水中固體鎳的吸附去除,利用電磁鐵通電產生磁性的性質能夠實現固體鎳的快速吸附和后續的脫落分離操作,無需反復過濾,提高廢水中固體鎳的回收效率。

權利要求書
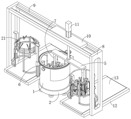
1.一種化學鍍鎳廢水處理設備,包括處理筒(1),其特征在于,所述處理筒(1)的下側固定連接有筒座(2),處理筒(1)上開設有進水口,進水口的內部固定連接有進水管(3),且處理筒(1)的底部開設有出水口,出水口的內部固定連接有排水管(4),進水管(3)和排水管(4)上均設置有閥門,所述處理筒(1)的上方設置有頂板(5),且頂板(5)的下側設置有兩個對稱的電磁回收組件(6),所述電磁回收組件(6)包括主桿(601)和頂環(602),且主桿(601)與頂板(5)的下側固定連接,所述頂環(602)位于主桿(601)的外部,頂環(602)的下側固定連接有多個圓周等距的L型豎座(603),且L型豎座(603)與主桿(601)之間均固定連接有連接桿(604),所述L型豎座(603)上兩個相對的一側均固定連接有連接板(605),且兩個連接板(605)上相對的一側均固定連接有電磁板(606)。
2.根據權利要求1所述的一種化學鍍鎳廢水處理設備,其特征在于,所述處理筒(1)的內部設置有混勻組件(7)。
3.根據權利要求2所述的一種化學鍍鎳廢水處理設備,其特征在于,所述混勻組件(7)包括環齒(701)和驅動電機(702),處理筒(1)的頂部開設有環形滑槽,環齒(701)與環形滑槽的內部活動連接,環齒(701)上固定連接有多個圓周等距的凸塊(703),凸塊(703)位于環齒(701)的內圈,凸塊(703)的下側均固定連接有混勻桿(704),且處理筒(1)的外部固定連接有電機架(705),驅動電機(702)與電機架(705)之間固定連接,驅動電機(702)的輸出端通過聯軸器連接有短軸,短軸的另一端固定連接有主動齒輪(706),主動齒輪(706)與環齒(701)之間通過齒槽嚙合。
4.根據權利要求1所述的一種化學鍍鎳廢水處理設備,其特征在于,所述處理筒(1)的兩側設置有龍門架(8),龍門架(8)的頂端固定連接有軌桿(9),軌桿(9)的內部活動連接有滑座(10),且滑座(10)的中部開設有安裝槽,安裝槽的內部固定連接有第一液壓缸(11),第一液壓缸(11)的輸出端向下,第一液壓缸(11)的輸出端與頂板(5)的上側固定連接。
5.根據權利要求4所述的一種化學鍍鎳廢水處理設備,其特征在于,所述處理筒(1)的兩側均設置有底臺(12),兩個底臺(12)均位于龍門架(8)與處理筒(1)之間,且兩個底臺(12)上均設置有輸送帶(13)。
6.根據權利要求5所述的一種化學鍍鎳廢水處理設備,其特征在于,兩個所述底臺(12)的上側均固定連接有兩個對稱的安裝座(14),安裝座(14)的兩側均固定連接有撐架(15),撐架(15)呈半弧形且位于同一個安裝座(14)上的兩個撐架(15)相互對稱,撐架(15)的上側均固定連接有撐桿(16),位于同一側安裝座(14)上的兩個撐桿(16)頂端固定連接有同一個固位環(17)。
7.根據權利要求6所述的一種化學鍍鎳廢水處理設備,其特征在于,多個所述安裝座(14)的內部均固定連接有第二液壓缸(18),液壓缸的頂端均固定連接有Z型架(19),且位于同一個底臺(12)上的兩個Z型架(19)上固定連接有同一個底環(20)。
8.根據權利要求7所述的一種化學鍍鎳廢水處理設備,其特征在于,所述底環(20)的上方均設置有輔助脫離組件(21)。
9.根據權利要求8所述的一種化學鍍鎳廢水處理設備,其特征在于,所述輔助脫離組件(21)包括連接環(2101)和多個放置座(2102),連接環(2101)位于底環(20)的上方,底環(20)的上側固定連接有多個圓周等距的支桿(2103),多個支桿(2103)的頂端與連接環(2101)的下側均固定連接,且連接環(2101)上均開設有多個圓周等距的凹槽,多個放置座(2102)分別與多個凹槽的內部固定連接。
10.根據權利要求9所述的一種化學鍍鎳廢水處理設備,其特征在于,多個所述放置座(2102)的下側均固定連接有底凸(2104),多個放置座(2102)上均開設有安裝槽,安裝槽的內部活動連接有翻轉座(2105),翻轉座(2105)上固定連接有兩個對稱的臂桿(2106),臂桿(2106)上相對的一側均設置有刮臺(2107),且翻轉座(2105)的另一側固定連接有尾板(2108),尾板(2108)與底凸(2104)之間固定連接有復位彈簧(2109)。
發明內容
本發明公開一種化學鍍鎳廢水處理設備,旨在解決背景技術中的在處理過程中需要反復的沉淀過濾,這導致了處理的效率緩慢技術問題。
本發明提出的一種化學鍍鎳廢水處理設備,包括處理筒,所述處理筒的下側固定連接有筒座,處理筒上開設有進水口,進水口的內部固定連接有進水管,且處理筒的底部開設有出水口,出水口的內部固定連接有排水管,進水管和排水管上均設置有閥門,所述處理筒的上方設置有頂板,且頂板的下側設置有兩個對稱的電磁回收組件,所述電磁回收組件包括主桿和頂環,且主桿與頂板的下側固定連接,所述頂環位于主桿的外部,頂環的下側固定連接有多個圓周等距的L型豎座,且L型豎座與主桿之間均固定連接有連接桿,所述L型豎座上兩個相對的一側均固定連接有連接板,且兩個連接板上相對的一側均固定連接有電磁板。
通過設置有電磁回收組件,電磁回收組件利用磁鐵對鎳的磁性進行廢水中固體鎳的吸附,從而便于進行廢水中固體鎳的吸附去除,利用電磁鐵通電產生磁性的性質能夠實現固體鎳的快速吸附和后續的脫落分離操作,無需反復過濾,提高廢水中固體鎳的回收效率;利用兩個電磁回收組件進行交替運作,能夠同時完成處理筒內固體鎳的吸附和處理筒外電磁回收組件上電磁板的固體鎳脫落分離操作,保證裝置運作的連續性。
在一個優選的方案中,所述處理筒的內部設置有混勻組件;所述混勻組件包括環齒和驅動電機,處理筒的頂部開設有環形滑槽,環齒與環形滑槽的內部活動連接,環齒上固定連接有多個圓周等距的凸塊,凸塊位于環齒的內圈,凸塊的下側均固定連接有混勻桿,且處理筒的外部固定連接有電機架,驅動電機與電機架之間固定連接,驅動電機的輸出端通過聯軸器連接有短軸,短軸的另一端固定連接有主動齒輪,主動齒輪與環齒之間通過齒槽嚙合。
通過設置有混勻組件,混勻組件利用混勻桿在混合筒內轉動帶動筒內的廢水進行旋轉,從而使得廢水中的固體鎳能夠處于懸浮狀態,提高廢水中固體鎳與電磁板之間的接觸效果,提高電磁回收組件的回收效果。
在一個優選的方案中,所述處理筒的兩側設置有龍門架,龍門架的頂端固定連接有軌桿,軌桿的內部活動連接有滑座,且滑座的中部開設有安裝槽,安裝槽的內部固定連接有第一液壓缸,第一液壓缸的輸出端向下,第一液壓缸的輸出端與頂板的上側固定連接。
在一個優選的方案中,所述處理筒的兩側均設置有底臺,兩個底臺均位于龍門架與處理筒之間,且兩個底臺上均設置有輸送帶;兩個所述底臺的上側均固定連接有兩個對稱的安裝座,安裝座的兩側均固定連接有撐架,撐架呈半弧形且位于同一個安裝座上的兩個撐架相互對稱,撐架的上側均固定連接有撐桿,位于同一側安裝座上的兩個撐桿頂端固定連接有同一個固位環;多個所述安裝座的內部均固定連接有第二液壓缸,液壓缸的頂端均固定連接有Z型架,且位于同一個底臺上的兩個Z型架上固定連接有同一個底環。
通過設置有固位環和底環,利用固位環能夠對輔助脫離組件的尾板進行限位,從而保證電磁回收組件在進入固位環時,翻轉座是處于翻轉向上的狀態,避免臂桿與電磁回收組件接觸造成卡位情況。
在一個優選的方案中,所述底環的上方均設置有輔助脫離組件;所述輔助脫離組件包括連接環和多個放置座,連接環位于底環的上方,底環的上側固定連接有多個圓周等距的支桿,多個支桿的頂端與連接環的下側均固定連接,且連接環上均開設有多個圓周等距的凹槽,多個放置座分別與多個凹槽的內部固定連接;多個所述放置座的下側均固定連接有底凸,多個放置座上均開設有安裝槽,安裝槽的內部活動連接有翻轉座,翻轉座上固定連接有兩個對稱的臂桿,臂桿上相對的一側均設置有刮臺,且翻轉座的另一側固定連接有尾板,尾板與底凸之間固定連接有復位彈簧。
通過設置有輔助脫離組件,利用輔助脫離組件能夠輔助電磁板上粘附的固體鎳進行脫落分離,避免電磁板斷電后,固體鎳因粘附在電磁板上而無法脫落,提高電磁回收組件在固體鎳脫落分離過程中的效果。
由上可知,本發明提供的一種化學鍍鎳廢水處理設備具有電磁回收組件利用磁鐵對鎳的磁性進行廢水中固體鎳的吸附,從而便于進行廢水中固體鎳的吸附去除,利用電磁鐵通電產生磁性的性質能夠實現固體鎳的快速吸附和后續的脫落分離操作,無需反復過濾,提高廢水中固體鎳的回收效率。
(發明人:周彪;安巖;何妙妙)






