公布日:2023.10.13
申請日:2023.09.07
分類號:C02F1/20(2023.01)I;C02F1/00(2023.01)I;B01D33/04(2006.01)I;B01D33/41(2006.01)I;B01D33/46(2006.01)I;B01D33/64(2006.01)I;B01D33/76(2006.01)I
摘要
本發明屬于廢水處理技術領域,具體涉及一種可實現氣固液分離的廢水處理裝置,包括導流槽,導流槽的一側連通有沉淀池,將廢水經導流槽的內部導流至沉淀池的上部,廢水在導流槽的內部時經過打撈部的初步打撈過濾,然后廢水流入沉淀池上部經過過濾部的第二次過濾流入沉淀池的底部,過濾部的一端設置擠壓部,擠壓部和過濾部的一端均設置有清洗部,擠壓部和過濾部的一側設置有驅動部,驅動部與打撈部的上端相連接。該發明利用驅動電機的動力實現對打撈部、過濾部、擠壓部以及清洗部的驅動,通過打撈部、過濾部和擠壓部實現對于固體廢棄物運輸和收集,同時清洗部也能夠對過濾部和擠壓部進行清洗,避免過濾部受到廢棄物堵塞、影響過濾效果。

權利要求書
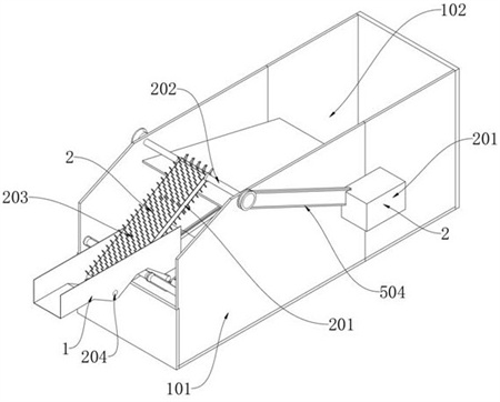
1.一種可實現氣固液分離的廢水處理裝置,其特征在于:包括導流槽(1),所述導流槽(1)的一側連通有沉淀池(101),將廢水經導流槽(1)的內部導流至沉淀池(101)的上部,廢水在導流槽(1)的內部時經過打撈部(2)的初步打撈過濾,然后廢水流入沉淀池(101)上部經過過濾部(3)的第二次過濾流入沉淀池(101)的底部,所述過濾部3的一端設置擠壓部(4),所述擠壓部(4)和過濾部(3)的一端均設置有清洗部(6),所述擠壓部(4)和過濾部(3)的一側設置有驅動部(5),所述驅動部(5)與打撈部(2)的上端相連接,將驅動部(5)的動力輸送至打撈部(2),所述沉淀池(101)的另一側設置有儲存槽(102);其中,驅動部(5)包括驅動箱(501)、驅動電機(502)、驅動輪(503)、傳動皮帶(504)、驅動雙聯齒輪(505)、從動雙聯齒輪(506)和隨動齒輪(507),所述驅動箱(501)與打撈部(2)的一側固定連接,所述驅動電機(502)與驅動箱(501)的內部的一側固定連接,所述驅動輪(503)一側的軸心處于驅動電機(502)的輸出端固定連接,所述傳動皮帶(504)內側一端與驅動輪(503)的外緣相配合,且傳動皮帶(504)內側的另一端與打撈部(2)的上端相配合,所述驅動雙聯齒輪(505)一側齒心處于驅動輪(503)的另一側固定連接,驅動雙聯齒輪(505)另一側的齒心處于過濾部(3)固定連接,所述從動雙聯齒輪(506)與驅動雙聯齒輪(505)齒徑較小的外緣相嚙合,所述從動雙聯齒輪(506)的齒心處的一側與擠壓部(4)固定連接,所述隨動齒輪(507)設置有兩個,兩個所述隨動齒輪(507)與對應的驅動雙聯齒輪(505)和從動雙聯齒輪(506)齒徑較大的外緣相嚙合,所述隨動齒輪(507)的一側與清洗部(6)固定連接。
2.根據權利要求1所述的一種可實現氣固液分離的廢水處理裝置,其特征在于:所述驅動雙聯齒輪的(505)與從動雙聯齒輪(506)較小齒徑外緣的齒數相同。
3.根據權利要求1所述的一種可實現氣固液分離的廢水處理裝置,其特征在于:所述驅動雙聯齒輪的(505)、從動雙聯齒輪(506)較大齒徑外緣齒數是對應的隨動齒輪(507)外緣齒數的兩倍。
4.根據權利要求1所述的一種可實現氣固液分離的廢水處理裝置,其特征在于:所述打撈部(2)包括固定架(201)、驅動桿(202)、鏈條網帶(203)和轉動桿(204),所述固定架(201)傾斜設置在沉淀池(101)的上部,所述驅動桿(202)與固定架(201)的上部轉動連接,所述鏈條網帶(203)的內部一側以驅動桿(202)外緣相配合,所述轉動桿(204)的兩端轉動設置在導流槽(1)的底部,且轉動桿(204)的外緣與鏈條網帶(203)內側的另一端相配合。
5.根據權利要求4所述的一種可實現氣固液分離的廢水處理裝置,其特征在于:所述鏈條網帶(203)的外緣固定設置有多組打撈柱,且多組打撈柱呈交錯設置,所述打撈柱的整體采用橡膠材質。
6.根據權利要求1所述的一種可實現氣固液分離的廢水處理裝置,其特征在于:所述過濾部(3)包括主動軸(301)、過濾帶(302)、限位軸(303)、從動軸(304),所述主動軸(301)的主動設置在固定架(201)的內部,且主動軸(301)的一端與驅動雙聯齒輪(505)的另一側固定連接,所述過濾帶(302)內緣的一側與主動軸(301)的外緣相配合,所述限位軸(303)設置有兩根,且限位軸(303)的外緣與過濾帶(302)的中部相配合,所述從動軸(304)的外緣與過濾帶(302)內緣的另一端相配合。
7.根據權利要求6所述的一種可實現氣固液分離的廢水處理裝置,其特征在于:所述限位軸(303)的垂直高度低于主動軸(301)和從動軸(304),所述過濾帶(302)受到限位軸(303)、主動軸(301)和從動軸(304)三者的導向和限位使得過濾帶(302)的整體呈彎曲狀。
8.根據權利要求6所述的一種可實現氣固液分離的廢水處理裝置,其特征在于:所述過濾帶(302)的內部設置有分流脊。
9.根據權利要求1所述的一種可實現氣固液分離的廢水處理裝置,其特征在于:所述擠壓部(4)包括擠壓座(401)、安裝座(402)、擠壓柱(403)、限位柱(404)、彈性擠壓件(405)和擠壓帶(407),所述擠壓座(401)與固定架(201)的內部固定連接,所述安裝座(402)在擠壓座(401)的內部滑動設置有多個,所述擠壓柱(403)與安裝座(402)的下端轉動連接,所述限位柱(404)的下端與安裝座(402)中部的上端固定連接,且限位柱(404)上端與擠壓座(401)的內部滑動連接,所述彈性擠壓件(405)設置在擠壓座(401)與安裝座(402)之間,所述擠壓帶(407)的內緣與多個擠壓柱(403)的外緣相配合。
10.根據權利要求1所述的一種可實現氣固液分離的廢水處理裝置,其特征在于:所述清洗部(6)包括清洗桿(601)和清洗刷(602),所述清洗桿(601)的一端與對應的隨動齒輪(507)的齒心處固定連接。
發明內容
本發明的目的是提供一種可實現氣固液分離的廢水處理裝置,能夠利用驅動電機的動力實現對打撈部、過濾部、擠壓部以及清洗部的驅動,通過打撈部、過濾部和擠壓部實現對于固體廢棄物運輸和收集,同時清洗部也能夠對過濾部和擠壓部進行清洗,避免過濾部受到廢棄物堵塞、影響過濾效果。
本發明采取的技術方案具體如下:一種可實現氣固液分離的廢水處理裝置,包括導流槽,所述導流槽的一側連通有沉淀池,將廢水經導流槽的內部導流至沉淀池的上部,廢水在導流槽的內部時經過打撈部的初步打撈過濾,然后廢水流入沉淀池上部經過過濾部的第二次過濾流入沉淀池的底部,所述過濾部的一端設置擠壓部,所述擠壓部和過濾部的一端均設置有清洗部,所述擠壓部和過濾部的一側設置有驅動部,所述驅動部與打撈部的上端相連接,將驅動部的動力輸送至打撈部,所述沉淀池的另一側設置有儲存槽;其中,驅動部包括驅動箱、驅動電機、驅動輪、傳動皮帶、驅動雙聯齒輪、從動雙聯齒輪和隨動齒輪,所述驅動箱與打撈部的一側固定連接,所述驅動電機與驅動箱的內部的一側固定連接,所述驅動輪一側的軸心處于驅動電機的輸出端固定連接,所述傳動皮帶內側一端與驅動輪的外緣相配合,且傳動皮帶內側的另一端與打撈部的上端相配合,所述驅動雙聯齒輪一側齒心處于驅動輪的另一側固定連接,驅動雙聯齒輪另一側的齒心處于過濾部固定連接,所述從動雙聯齒輪與驅動雙聯齒輪齒徑較小的外緣相嚙合,所述從動雙聯齒輪的齒心處的一側與擠壓部固定連接,所述隨動齒輪設置有兩個,兩個所述隨動齒輪與對應的驅動雙聯齒輪和從動雙聯齒輪齒徑較大的外緣相嚙合,所述隨動齒輪的一側與清洗部固定連接。
在一種優選方案中,所述驅動雙聯齒輪的與從動雙聯齒輪較小齒徑外緣的齒數相同。
在一種優選方案中,所述驅動雙聯齒輪的、從動雙聯齒輪較大齒徑外緣齒數是對應的隨動齒輪外緣齒數的兩倍。
在一種優選方案中,所述打撈部包括固定架、驅動桿、鏈條網帶和轉動桿,所述固定架傾斜設置在沉淀池的上部,所述驅動桿與固定架的上部轉動連接,所述鏈條網帶的內部一側以驅動桿外緣相配合,所述轉動桿的兩端轉動設置在導流槽的底部,且轉動桿的外緣與鏈條網帶內側的另一端相配合。
在一種優選方案中,所述鏈條網帶的外緣固定設置有多組打撈柱,且多組打撈柱呈交錯設置,所述打撈柱的整體采用橡膠材質。
在一種優選方案中,所述過濾部包括主動軸、過濾帶、限位軸、從動軸,所述主動軸的主動設置在固定架的內部,且主動軸的一端與驅動雙聯齒輪的另一側固定連接,所述過濾帶內緣的一側與主動軸的外緣相配合,所述限位軸設置有兩根,且限位軸的外緣與過濾帶的中部相配合,所述從動軸的外緣與過濾帶內緣的另一端相配合。
在一種優選方案中,所述限位軸的垂直高度低于主動軸和從動軸,所述過濾帶受到限位軸、主動軸和從動軸三者的導向和限位使得過濾帶的整體呈彎曲狀。
在一種優選方案中,所述過濾帶的內部設置有分流脊。
在一種優選方案中,所述擠壓部包括擠壓座、安裝座、擠壓柱、限位柱、彈性擠壓件和擠壓帶,所述擠壓座與固定架的內部固定連接,所述安裝座在擠壓座的內部滑動設置有多個,所述擠壓柱與安裝座的下端轉動連接,所述限位柱的下端與安裝座中部的上端固定連接,且限位柱上端與擠壓座的內部滑動連接,所述彈性擠壓件設置在擠壓座與安裝座之間,所述擠壓帶的內緣與多個擠壓柱的外緣相配合。
在一種優選方案中,所述清洗部包括清洗桿和清洗刷,所述清洗桿的一端與對應的隨動齒輪的齒心處固定連接。
本發明取得的技術效果為:本發明采用驅動部設計,利用驅動電機的動力實現對打撈部、過濾部、擠壓部以及清洗部四者進行轉動,利用打撈部、過濾部和擠壓部的轉動,實現對于廢水中氣固液的分離和運輸和收集,利用清洗部能夠對擠壓帶和過濾帶表面附著的固體廢棄物進行清潔,從而提升擠壓帶和過濾帶的使用壽命;集成化程度高。
本發明采用打撈部的設計,通過驅動桿的轉動帶動鏈條網帶在驅動桿和轉動桿的外緣進行轉動,通過鏈條網帶的轉動不僅能夠將固體廢棄物進行收集和運輸,將收集的固體廢棄物運輸至固定架的上端后掉落至收納槽的內部進行收集,同時轉動的鏈條網帶還能夠對廢水進行攪動,使得廢水當中的氣體加速散發到空氣當中,提升氣體的散發效率;本發明的和過濾部的設計,彎曲的過濾帶廢水能夠進行較長的過濾時間,進而提升過濾效果,同時過濾帶的轉動,能夠將過濾廢水后留下的固體廢棄為進行運輸,避免廢棄物堆積降低過濾帶的過濾效果,進而提升過濾效率。
(發明人:寇清芬;張風兆)






