公布日:2024.04.05
申請日:2022.09.27
分類號:C02F3/20(2006.01)I
摘要
本發明公開了一種生化污水處理池的曝氣系統,包括送氣機構和曝氣機構,曝氣機構用于將送氣機構充入的氣體均勻的擴散到污水生化池內的污水中,并對積聚在污水生化池底部的活性污泥進行沖刷、攪拌。本發明通過由曝氣頭、沖刷機構、套管、密封軸承和轉動管構成的曝氣機構,實現了對積聚在污水生化池底部的活性污泥和未分解的沉淀雜質進行沖洗和攪拌,從而使沉淀在池底的活性污泥得到充分氧氣,并擴散到污水中提高活性污泥對污水中有機物的分解效率,而且通過沖刷機構帶動曝氣頭進行旋轉,可以有效將落在曝氣頭上的雜質通過與污水的摩擦沖刷掉,有效防止曝氣頭出現堵塞的現象。

權利要求書
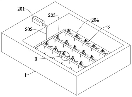
1.一種生化污水處理池的曝氣系統,其特征在于,包括:送氣機構,所述送氣機構用于向污水生化池(1)的內部充入空氣以增加所述污水生化池(1)內的含氧量,所述送氣機構設置在所述污水生化池(1)的一側;曝氣機構,所述曝氣機構設置有若干個,所述曝氣機構與所述送氣機構相連接后鋪設在所述污水生化池(1)的內底部,所述曝氣機構用于將所述送氣機構充入的氣體均勻的擴散到所述污水生化池(1)內的污水中,并對積聚在所述污水生化池(1)底部的污泥進行沖刷、攪拌。
2.根據權利要求1所述的一種生化污水處理池的曝氣系統,其特征在于:所述送氣機構包括鼓風機(201),所述鼓風機(201)的出氣口與進氣管(202)的一端相連通,所述進氣管(202)的下端伸入所述污水生化池(1)的內部下端,連接總管(203)通過第一支架鋪設在所述污水生化池(1)的內部,所述連接總管(203)與所述進氣管(202)的下端相連通,所述連接總管(203)上連通有若干連接支管(204),每個所述連接支管(204)上安裝有若干所述曝氣機構。
3.根據權利要求2所述的一種生化污水處理池的曝氣系統,其特征在于:所述曝氣機構包括套管(301)和轉動管(305),所述套管(301)與所述連接支管(204)相連通,所述套管(301)內部的上端和下端均固定連接有密封軸承(309),所述套管(301)的進氣口位于兩個所述密封軸承(309)之間,所述轉動管(305)通過所述密封軸承(309)轉動套設在所述套管(301)的內部,所述轉動管(305)的外壁開設有若干與所述轉動管(305)內部相連通的氣孔(3051),若干所述氣孔(3051)均位于兩個所述密封軸承(309)之間,所述轉動管(305)的上端密封固定連接有曝氣頭(304),所述轉動管(305)的下端密封固定連接有用于驅動所述轉動管(305)轉動的沖刷機構。
4.根據權利要求3所述的一種生化污水處理池的曝氣系統,其特征在于:所述沖刷機構包括中空板(306),所述中空板(306)的頂部連通有導氣管,所述導氣管與所述轉動管(305)的下端密封固定連通,所述中空板(306)的外壁等距設置有若干與所述中空板(306)內部相連通的噴氣管(307)。
5.根據權利要求4所述的一種生化污水處理池的曝氣系統,其特征在于:還包括啟閉組件,所述啟閉組件包括連接桿(3072),所述連接桿(3072)通過兩組固定架(3071)滑動設置在所述噴氣管(307)的內部,所述連接桿(3072)靠近所述中空板(306)的一端固定連接有限位塊(3074),所述連接桿(3072)上套設有第一彈簧(3073),所述第一彈簧(3073)的一端壓在所述限位塊(3074)的一側,所述第一彈簧(3073)的另一端壓在其中一個所述固定架(3071)的一側,所述連接桿(3072)遠離所述中空板(306)的一端伸出所述噴氣管(307)的出氣口后固定連接有擋塊(3075)。
6.根據權利要求4所述的一種生化污水處理池的曝氣系統,其特征在于:所述曝氣頭(304)的下端和所述導氣管的上端均設置有用于與所述轉動管(305)固定連接有卡接機構,所述轉動管(305)的頂部和底部均開設有裝配槽(3054),所述轉動管(305)的頂部和底部均開設有與所述裝配槽(3054)相連通的導向槽(3052),所述轉動管(305)外壁的上端和下端均開設有與所述導向槽(3052)相連通的卡孔(3053),所述卡接機構包括中空塊(401),屬于所述導氣管上的所述卡接機構中的所述中空塊(401)固定連接在所述導氣管的上端外壁上,屬于所述曝氣頭(304)上的所述卡接機構中的所述中空塊(401)固定連接在所述曝氣頭(304)的下端外壁上,所述中空塊(401)的內部設置有第二彈簧(404)和圓形板(403),所述第二彈簧(404)的一端壓在所述中空塊(401)的一側內壁,所述第二彈簧(404)的另一端壓在所述圓形板(403)的一側,所述圓形板(403)遠離所述第二彈簧(404)的一側固定連接有卡塊(402),所述卡塊(402)的一端滑動穿出所述中空塊(401)的一側后卡入所述卡孔(3053)的內部。
7.根據權利要求6所述的一種生化污水處理池的曝氣系統,其特征在于:所述轉動管(305)的外壁固定連接有擠壓組件,所述擠壓組件包括弧形彈片(501),所述弧形彈片(501)的兩端固定連接在所述轉動管(305)的外壁上,所述卡孔(3053)被所述弧形彈片(501)遮住,所述弧形彈片(501)的內側固定連接有壓塊(502)。
8.根據權利要求6所述的一種生化污水處理池的曝氣系統,其特征在于:所述曝氣頭(304)與所述轉動管(305)上端的所述裝配槽(3054)之間和所述導氣管與所述轉動管(305)下端的所述裝配槽(3054)之間均設置有密封圈。
9.根據權利要求3所述的一種生化污水處理池的曝氣系統,其特征在于:所述連接支管(204)上等距連通有若干連接管(205),所述連接管(205)的一端外壁開設有外螺紋,所述套管(301)的進氣口連通有送氣管(302),所述送氣管(302)遠離所述套管(301)的一端轉動設置有接頭螺母(303),所述接頭螺母(303)通過螺紋固定連接在所述連接管(205)上,所述送氣管(302)與所述連接管(205)相連通,所述連接管(205)上設置有閥門(206)。
10.根據權利要求9所述的一種生化污水處理池的曝氣系統,其特征在于:所述送氣管(302)上固定連接有毛刷(308),所述毛刷(308)靠近所述曝氣頭(304)的一面設置有刷毛,所述刷毛與所述曝氣頭(304)的表面相接觸。
發明內容
本發明的目的在于:提供一種生化污水處理池的曝氣系統,從而解決或者至少緩解了現有技術中存在的上述問題和其他方面的問題中的一個或多個。
為實現上述目的,本發明提供如下技術方案:
一種生化污水處理池的曝氣系統,包括:
送氣機構,所述送氣機構用于向污水生化池的內部充入空氣以增加所述污水生化池內的含氧量,所述送氣機構設置在所述污水生化池的一側;
曝氣機構,所述曝氣機構設置有若干個,所述曝氣機構與所述送氣機構相連接后鋪設在所述污水生化池的內底部,所述曝氣機構用于將所述送氣機構充入的氣體均勻的擴散到所述污水生化池內的污水中,并對積聚在所述污水生化池底部的活性污泥進行沖刷、攪拌。
進一步,所述送氣機構包括鼓風機,所述鼓風機的出氣口與進氣管的一端相連通,所述進氣管的下端伸入所述污水生化池的內部下端,連接總管通過第一支架鋪設在所述污水生化池的內部,所述連接總管與所述進氣管的下端相連通,所述連接總管上連通有若干連接支管,每個所述連接支管上安裝有若干所述曝氣機構。
進一步,所述曝氣機構包括套管和轉動管,所述套管與所述連接支管相連通,所述套管內部的上端和下端均固定連接有密封軸承,所述套管的進氣口位于兩個所述密封軸承之間,所述轉動管通過所述密封軸承轉動套設在所述套管的內部,所述轉動管的外壁開設有若干與所述轉動管內部相連通的氣孔,若干所述氣孔均位于兩個所述密封軸承之間,所述轉動管的上端密封固定連接有曝氣頭,所述轉動管的下端密封固定連接有用于驅動所述轉動管轉動的沖刷機構。
進一步,所述沖刷機構包括中空板,所述中空板的頂部連通有導氣管,所述導氣管與所述轉動管的下端密封固定連通,所述中空板的外壁等距設置有若干與所述中空板內部相連通的噴氣管。
進一步,還包括啟閉組件,所述啟閉組件包括連接桿,所述連接桿通過兩組固定架滑動設置在所述噴氣管的內部,所述連接桿靠近所述中空板的一端固定連接有限位塊,所述連接桿上套設有第一彈簧,所述第一彈簧的一端壓在所述限位塊的一側,所述第一彈簧的另一端壓在其中一個所述固定架的一側,所述連接桿遠離所述中空板的一端伸出所述噴氣管的出氣口后固定連接有擋塊。
進一步,所述曝氣頭的下端和所述導氣管的上端均設置有用于與所述轉動管固定連接有卡接機構,所述轉動管的頂部和底部均開設有裝配槽,所述轉動管的頂部和底部均開設有與所述裝配槽相連通的導向槽,所述轉動管外壁的上端和下端均開設有與所述導向槽相連通的卡孔,所述卡接機構包括中空塊,屬于所述導氣管上的所述卡接機構中的所述中空塊固定連接在所述導氣管的上端外壁上,屬于所述曝氣頭上的所述卡接機構中的所述中空塊固定連接在所述曝氣頭的下端外壁上,所述中空塊的內部設置有第二彈簧和圓形板,所述第二彈簧的一端壓在所述中空塊的一側內壁,所述第二彈簧的另一端壓在所述圓形板的一側,所述圓形板遠離所述第二彈簧的一側固定連接有卡塊,所述卡塊的一端滑動穿出所述中空塊的一側后卡入所述卡孔的內部。
進一步,所述轉動管的外壁固定連接有擠壓組件,所述擠壓組件包括弧形彈片,所述弧形彈片的兩端固定連接在所述轉動管的外壁上,所述卡孔被所述弧形彈片遮住,所述弧形彈片的內側固定連接有壓塊。
進一步,所述曝氣頭與所述轉動管上端的所述裝配槽之間和所述導氣管與所述轉動管下端的所述裝配槽之間均設置有密封圈。
進一步,所述連接支管上等距連通有若干連接管,所述連接管的一端外壁開設有外螺紋,所述套管的進氣口連通有送氣管,所述送氣管遠離所述套管的一端轉動設置有接頭螺母,所述接頭螺母通過螺紋固定連接在所述連接管上,所述送氣管與所述連接管相連通,所述連接管上設置有閥門。
進一步,所述送氣管上固定連接有毛刷,所述毛刷靠近所述曝氣頭的一面設置有刷毛,所述刷毛與所述曝氣頭的表面相接觸。
與現有技術相比,本發明的有益效果是:
1、本發明通過由曝氣頭、沖刷機構、套管、密封軸承和轉動管構成的曝氣機構,實現了對積聚在污水生化池底部的活性污泥和未分解的沉淀雜質進行沖洗和攪拌,從而使沉淀在池底的活性污泥得到充分氧氣,并擴散到污水中提高活性污泥對污水中有機物的分解效率,而且通過沖刷機構帶動曝氣頭進行旋轉,可以有效將落在曝氣頭上的雜質通過與污水的摩擦沖刷掉,有效防止曝氣頭出現堵塞的現象;
2、通過由第一彈簧、擋塊、限位塊、固定架和連接桿組成的啟閉組件,當噴氣管內的遠氣壓大于擋塊受到的水壓時,第一彈簧受到擠壓,擋塊被氣壓壓出噴氣管的出氣口,當間歇曝氣時間結束后,噴氣管內的氣壓下降后,在第一彈簧的復位彈力下,擋塊被連接桿拉回噴氣管的出氣口,將噴氣管的出氣口堵住,有效避免污水中的雜質通過噴氣管的出氣口積聚到噴氣管內,對噴氣管造成堵塞的現象;
3、通過設置的卡孔配合卡接機構,可以方便對曝氣頭和沖刷機構的快速拆裝,便于后期的維護。
(發明人:李云峰;虞素飛;張建鵬;張建勛)






