公布日:2023.10.24
申請日:2023.09.13
分類號:C02F1/66(2023.01)I;C02F1/00(2023.01)I;G01N1/10(2006.01)I;G01N33/18(2006.01)I;C02F103/10(2006.01)N
摘要
本發明公開了一種利用石灰石處理酸性礦山廢水的反應裝置,涉及廢水處理裝置技術領域,包括底座、第一轉、限位環、支撐套架、連接轉管、排水管、連接端蓋、密封圈、輸水管、采樣機構。本發明通過設置采樣機構,通過驅動機構使連接轉管帶動第一轉筒轉動,此時第一轉筒帶動第二轉筒、堵塞組件轉動,之后通過連接轉管、排水管將廢水排放至第二轉筒的內部,并通過第二轉筒內部的石灰石對廢水凈化,同時部分凈化中的廢水通過第二采樣孔流動至第一轉筒的內腔中,然后通過回收筒、回收槽可將廢水回收至第二轉筒的內腔中,當需要對凈化中的廢水進行采樣時,此時堵塞組件與取樣組件的相互配合,可實現對廢水的不停機采樣的目的。

權利要求書
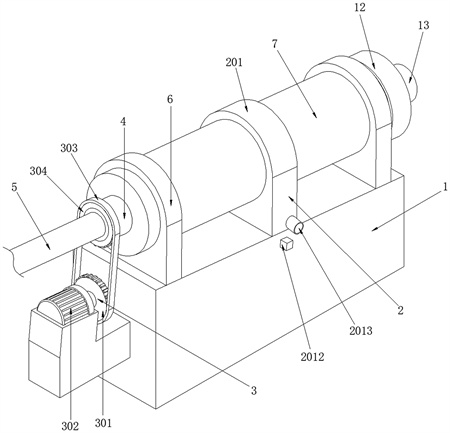
1.一種利用石灰石處理酸性礦山廢水的反應裝置,包括底座(1),所述底座(1)的上方設置有第一轉筒(7),所述第一轉筒(7)的外壁對稱成型有兩個限位環(10),所述第一轉筒(7)、限位環(10)的外壁套接有與底座(1)固定連接的支撐套架(6),所述第一轉筒(7)的一端外部一體成型有貫穿至第一轉筒(7)內腔的連接轉管(4),所述連接轉管(4)遠離第一轉筒(7)的一端外壁設置有貫穿至連接轉管(4)內腔的排水管(5),所述排水管(5)通過軸承與連接轉管(4)轉動連接,所述第一轉筒(7)的另一端外套接有連接端蓋(12),所述連接端蓋(12)的內部設置有與第一轉筒(7)的外壁相接觸的密封圈(11),且與第一轉筒(7)螺紋連接,所述連接端蓋(12)遠離第一轉筒(7)的一端一體成型有輸水管(13),其特征在于,所述第一轉筒(7)上設置有采樣機構(2),所述采樣機構(2)用于對過濾中的廢水進行不停機采樣;所述采樣機構(2)包括有:堵塞組件、取樣組件;設置在第一轉筒(7)上且位于兩個限位環(10)之間的堵塞組件,用于避免取樣的廢水泄漏;設置在底座(1)上且位于堵塞組件外側的取樣組件,用于對廢水進行不停機采樣;所述底座(1)的一端設置有驅動機構(3),所述驅動機構(3)用于帶動底座(1)進行轉動。
2.根據權利要求1所述的一種利用石灰石處理酸性礦山廢水的反應裝置,其特征在于,所述堵塞組件包括有:周向開設在第一轉筒(7)外壁的多個第一采樣孔(202),所述第一轉筒(7)的內壁且位于第一采樣孔(202)的端口處固定連接有固定筒(203),所述固定筒(203)的外壁周向開設有多個通水孔(2015),所述固定筒(203)的外壁套接有密封套筒(205),所述密封套筒(205)的內壁固定連接有與固定筒(203)滑動連接的連接推桿(2016),所述連接推桿(2016)遠離密封套筒(205)的一端固定連接有連接擋塊(207),所述連接擋塊(207)的外壁呈半球狀且位于第一轉筒(7)的外側,所述連接推桿(2016)的外壁套接有第一彈簧(204),所述第一彈簧(204)的兩端端部分別與連接擋塊(207)的外壁和固定筒(203)的內壁相接觸,所述固定筒(203)的內壁固定連接有與連接擋塊(207)固定連接的波紋管(206),所述波紋管(206)位于第一彈簧(204)的外側。
3.根據權利要求2所述的一種利用石灰石處理酸性礦山廢水的反應裝置,其特征在于,所述取樣組件包括有:固定連接在底座(1)的頂端,且套接在第一轉筒(7)外壁的連接套板(201),所述連接套板(201)位于多個連接擋塊(207)的外側,所述連接套板(201)的底端內部上下滑動連接有升降推板(2011),所述升降推板(2011)的外壁對稱固定連接有與連接套板(201)滑動連接的限位滑板(2010),所述連接套板(201)位于升降推板(2011)的一端開設有貫穿至連接套板(201)一側外壁的采樣槽(2014),所述連接套板(201)的一側外壁且位于采樣槽(2014)的端口處固定連接有采樣管(2013),所述升降推板(2011)的下表面設置有移動壓板(2012),所述移動壓板(2012)貫穿連接套板(201)至底座(1)的一側外壁,所述移動壓板(2012)的一側固定連接有與底座(1)滑動連接的限位軸(208),所述限位軸(208)的外壁套接有第二彈簧(209),所述第二彈簧(209)的兩端端部分別與底座(1)的內壁和移動壓板(2012)的外壁相接觸。4.根據權利要求1所述的一種利用石灰石處理酸性礦山廢水的反應裝置,其特征在于,所述驅動機構(3)包括有:通過固定座安裝在底座(1)一端外壁的電機(302),所述電機(302)的輸出端固定連接有傳動輪(301),所述傳動輪(301)的外壁嚙合套接有同步帶(303),所述同步帶(303)遠離傳動輪(301)的一端內部嚙合套接有傳動環(304),所述傳動環(304)與連接轉管(4)固定連接,且位于排水管(5)的外側。
5.根據權利要求2所述的一種利用石灰石處理酸性礦山廢水的反應裝置,其特征在于,所述第一轉筒(7)的內部設置有套接在連接轉管(4)外壁的第二轉筒(9),所述第二轉筒(9)的外壁周向開設有多個貫穿至第二轉筒(9)內腔的第二采樣孔(8),多個所述第二采樣孔(8)位于多個所述第一采樣孔(202)的一端,所述第二采樣孔(8)的內部固定連接有過濾網。
6.根據權利要求5所述的一種利用石灰石處理酸性礦山廢水的反應裝置,其特征在于,所述第二轉筒(9)靠近輸水管(13)的一端外壁一體成型有回收筒(14),所述回收筒(14)靠近密封套筒(205)的一端豎截面的外壁呈斜面狀,所述回收筒(14)的一端周向開設有多個貫穿回收筒(14)至第二轉筒(9)內部的回收槽(15)。
7.根據權利要求6所述的一種利用石灰石處理酸性礦山廢水的反應裝置,其特征在于,所述回收槽(15)的內壁呈L字狀,所述第二轉筒(9)的內壁對稱安裝有兩個過濾網,所述第二轉筒(9)的內腔且位于兩個過濾網之間設置有石灰石。
8.根據權利要求3所述的一種利用石灰石處理酸性礦山廢水的反應裝置,其特征在于,所述升降推板(2011)一側下表面呈斜面狀,所述移動壓板(2012)與升降推板(2011)相接位置處相互吻合,所述升降推板(2011)的頂端成型有對稱的相互對稱的斜面。
9.根據權利要求3所述的一種利用石灰石處理酸性礦山廢水的反應裝置,其特征在于,所述移動壓板(2012)的外壁呈L字狀,所述底座(1)上開設有供限位軸(208)、移動壓板(2012)滑動的連接推槽。
發明內容
本發明的目的在于:為了實現為了提升廢水處理效率且對廢水進行不停機采樣的目的,提供一種利用石灰石處理酸性礦山廢水的反應裝置。
為實現上述目的,本發明提供如下技術方案:一種利用石灰石處理酸性礦山廢水的反應裝置,包括底座,所述底座的上方設置有第一轉筒,所述第一轉筒的外壁對稱成型有兩個限位環,所述第一轉筒、限位環的外壁套接有與底座固定連接的支撐套架,所述第一轉筒的一端外部一體成型有貫穿至第一轉筒內腔的連接轉管,所述連接轉管遠離第一轉筒的一端外壁設置有貫穿至連接轉管內腔的排水管,所述排水管通過軸承與連接轉管轉動連接,所述第一轉筒的另一端外套接有連接端蓋,所述連接端蓋的內部設置有與第一轉筒的外壁相接觸的密封圈,且與第一轉筒螺紋連接,所述連接端蓋遠離第一轉筒的一端一體成型有輸水管,所述第一轉筒上設置有采樣機構,所述采樣機構用于對過濾中的廢水進行不停機采樣;所述采樣機構包括有:堵塞組件、取樣組件;設置在第一轉筒上且位于兩個限位環之間的堵塞組件,用于避免取樣的廢水泄漏;設置在底座上且位于堵塞組件外側的取樣組件,用于對廢水進行不停機采樣;所述底座的一端設置有驅動機構,所述驅動機構用于帶動底座進行轉動。
作為本發明再進一步的方案:所述堵塞組件包括有:周向開設在第一轉筒外壁的多個第一采樣孔,所述第一轉筒的內壁且位于第一采樣孔的端口處固定連接有固定筒,所述固定筒的外壁周向開設有多個通水孔,所述固定筒的外壁套接有密封套筒,所述密封套筒的內壁固定連接有與固定筒滑動連接的連接推桿,所述連接推桿遠離密封套筒的一端固定連接有連接擋塊,所述連接擋塊的外壁呈半球狀且位于第一轉筒的外側,所述連接推桿的外壁套接有第一彈簧,所述第一彈簧的兩端端部分別與連接擋塊的外壁和固定筒的內壁相接觸,所述固定筒的內壁固定連接有與連接擋塊固定連接的波紋管,所述波紋管位于第一彈簧的外側。
作為本發明再進一步的方案:所述取樣組件包括有:固定連接在底座的頂端,且套接在第一轉筒外壁的連接套板,所述連接套板位于多個連接擋塊的外側,所述連接套板的底端內部上下滑動連接有升降推板,所述升降推板的外壁對稱固定連接有與連接套板滑動連接的限位滑板,所述連接套板位于升降推板的一端開設有貫穿至連接套板一側外壁的采樣槽,所述連接套板的一側外壁且位于采樣槽的端口處固定連接有采樣管,所述升降推板的下表面設置有移動壓板,所述移動壓板貫穿連接套板至底座的一側外壁,所述移動壓板的一側固定連接有與底座滑動連接的限位軸,所述限位軸的外壁套接有第二彈簧,所述第二彈簧的兩端端部分別與底座的內壁和移動壓板的外壁相接觸。
作為本發明再進一步的方案:所述驅動機構包括有:通過固定座安裝在底座一端外壁的電機,所述電機的輸出端固定連接有傳動輪,所述傳動輪的外壁嚙合套接有同步帶,所述同步帶遠離傳動輪的一端內部嚙合套接有傳動環,所述傳動環與連接轉管固定連接,且位于排水管的外側。
作為本發明再進一步的方案:所述第一轉筒的內部設置有套接在連接轉管外壁的第二轉筒,所述第二轉筒的外壁周向開設有多個貫穿至第二轉筒內腔的第二采樣孔,多個所述第二采樣孔位于多個所述第一采樣孔的一端,所述第二采樣孔的內部固定連接有過濾網。
作為本發明再進一步的方案:所述第二轉筒靠近輸水管的一端外壁一體成型有回收筒,所述回收筒靠近密封套筒的一端豎截面的外壁呈斜面狀,所述回收筒的一端周向開設有多個貫穿回收筒至第二轉筒內部的回收槽。
作為本發明再進一步的方案:所述回收槽的內壁呈L字狀,所述第二轉筒的內壁對稱安裝有兩個過濾網,所述第二轉筒的內腔且位于兩個過濾網之間設置有石灰石。
作為本發明再進一步的方案:所述升降推板一側下表面呈斜面狀,所述移動壓板與升降推板相接位置處相互吻合,所述升降推板的頂端成型有對稱的相互對稱的斜面。
作為本發明再進一步的方案:所述移動壓板的外壁呈L字狀,所述底座上開設有供限位軸、移動壓板滑動的連接推槽。
與現有技術相比,本發明的有益效果是:通過設置采樣機構,通過驅動機構使連接轉管帶動第一轉筒進行轉動,同時第一轉筒通過限位環沿著支撐套架的外壁進行轉動,此時第一轉筒通過回收筒帶動第二轉筒進行同步轉動,同時堵塞組件隨著第一轉筒一同轉動,之后通過連接轉管、排水管將廢水排放至第二轉筒的內部,此時通過第二轉筒內部的石灰石可對廢水進行凈化,同時部分凈化中的廢水通過第二采樣孔流動至第一轉筒的內腔中,此時廢水沿著第一轉筒的內壁與回收筒的外壁相接觸,然后通過回收筒、回收槽可將廢水回收至第二轉筒的內腔中,當需要對凈化中的廢水進行采樣時,此時堵塞組件與取樣組件的相互配合,可實現高效處理廢水的同時對廢水的不停機采樣的目的,并有效避免廢水的泄漏。
(發明人:周建偉;劉鵬;杜澤平;陳寶;王興杰;費迎響;尚敬)






