公布日:2023.11.03
申請日:2023.09.26
分類號:C02F1/52(2023.01)I;C02F1/28(2023.01)I;C02F101/34(2006.01)N
摘要
本發明屬于廢水處理的技術領域,涉及一種腐殖酸生產廢水處理設備及處理方法,包括有處理罐、行走平臺和爬梯,所述處理罐頂部連接有行走平臺,所述處理罐上連接有與對準行走平臺進入端的爬梯,所述處理罐底部連通有排液管,所述排液管處設置有閥門,所述處理罐頂部為敞開設置,所述處理罐內上部連接有料斗,所述處理罐上連通有用于加入廢水的進液管,所述行走平臺上設有用于對水中的腐殖酸類物質處理的處理機構。本發明在進行濾框和活性炭的更換過程中,僅需控制氣缸伸縮桿縮回,使得對接盤移出,再通過轉動旋轉架調換兩個對接盤的位置,隨后再控制氣缸伸縮桿伸長即可實現濾框的更換,整體操作無需人工進行拆裝,更加的方便,效率更高。

權利要求書
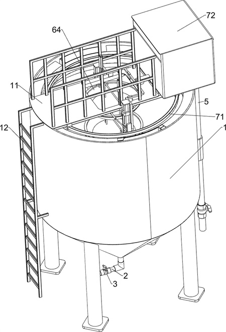
1.一種腐殖酸生產廢水處理設備,包括有處理罐(1)、行走平臺(11)和爬梯(12),所述處理罐(1)頂部連接有行走平臺(11),所述處理罐(1)上連接有對準行走平臺(11)進入端的爬梯(12),所述處理罐(1)底部連通有排液管(2),所述排液管(2)處設置有閥門(3),所述處理罐(1)頂部為敞開設置,其特征是,所述處理罐(1)內上部連接有料斗(4),所述料斗(4)中部開設進料口,所述處理罐(1)上連通有用于加入廢水的進液管(5),所述行走平臺(11)上設有用于對水中的腐殖酸類物質處理的處理機構,所述行走平臺(11)與所述處理罐(1)之間設有用于添加絮凝劑的加液機構,所述處理機構包括有氣缸(60)和導向套一(61),所述氣缸(60)設置有兩個并分別安裝在行走平臺(11)兩側,所述導向套一(61)設有兩個并分別連接在料斗(4)兩側,所述導向套一(61)內滑動連接有滑動支架(62),所述氣缸(60)的伸縮桿與所述滑動支架(62)連接,所述滑動支架(62)上部轉動連接有旋轉架(63),兩個旋轉架(63)兩側之間均轉動連接有能夠與進液口卡接的對接盤(64),所述對接盤(64)上均勻間隔開設有多個通孔,所述對接盤(64)內卡接有內部填充活性炭濾框(65),所述濾框(65)擋住通孔,所述濾框(65)頂部連接有提拉架(66);加液機構包括有連接在行走平臺(11)上的環形噴灑架(71)和連接在處理罐(1)頂部的儲液箱(72),所述儲液箱(72)與所述環形噴灑架(71)之間連通有連通管(73),所述連通管(73)內上部呈環形陣列連接有四個等間距間隔設置的阻隔塊(731),所述連通管(73)上滑動連接有推動桿(74),所述推動桿(74)上連接有開設有漏液口的漏液盤(741),所述漏液盤(741)上連接有與四個阻隔塊(731)契合的十字堵塊(742),所述儲液箱(72)內上部連接有過濾網一(75),所述儲液箱(72)上連通有加液管架(76);還包括有自動翻轉機構,所述自動翻轉機構包括有齒輪(81)和齒條(82),所述齒輪(81)設有兩個并分別連接在兩個旋轉架(63)相互遠離的一側,所述旋轉架(63)與所述齒輪(81)的連接處設置有單向離合器,所述齒條(82)設有兩個并分別連接在所述料斗(4)兩側,所述齒條(82)位于所述齒輪(81)的移動軌跡處,所述齒輪(81)上連接有導向軌道(83),所述導向軌道(83)上滑動連接有配重塊(84);還包括有自動解扣機構,所述自動解扣機構包括有導向架(91)導向套二(93)和轉環(921),所述導向架(91)設有兩個并分別連接在行走平臺(11)頂部兩側,兩側導向架(91)上均滑動連接有提拉塊(94),所述提拉塊(94)位于所述提拉架(66)下方,所述導向套二(93)設有兩個并分別連接在行走平臺(11)底部兩側,所述提拉塊(94)上連接有連接繩(92),所述轉環(921)設置有兩個并分別轉動連接在兩個旋轉架(63)的傳動軸上,所述連接繩(92)繞過所述導向架(91)再穿過所述導向套二(93)與所述轉環(921)連接;還包括有自動封堵機構,所述自動封堵機構包括有滑動連接在所述行走平臺(11)頂部的抬升架(121)和連接在所述滑動支架(62)上的推板(123),所述抬升架(121)底部與所述推板(123)頂部接觸,所述抬升架(121)上連接有楔形推塊(122),所述推動桿(74)位于所述楔形推塊(122)的移動軌跡處。
2.按照權利要求1所述的一種腐殖酸生產廢水處理設備,其特征是,還包括有粗濾機構,所述粗濾機構包括有連接在處理罐(1)內上部的導液框(101),所述導液框(101)底部連接有過濾網二(102),所述進液管(5)穿入處理罐(1)的位置位于所述導液框(101)內。
3.按照權利要求2所述的一種腐殖酸生產廢水處理設備,其特征是,還包括有掃除機構,所述掃除機構包括有安裝在導液框(101)內的環形電動滑軌(114),所述導液框(101)頂部開設有兩個呈對稱設置的開口,所述環形電動滑軌(114)的移動體上連接有環形連接塊(111),所述環形連接塊(111)上連接有兩個呈對稱設置的刮框(112),所述刮框(112)底部與所述過濾網二(102)頂部貼合,所述刮框(112)內滑動連接有提拉板(113)。
4.利用權利要求1所述腐殖酸生產廢水處理設備的腐殖酸生產廢水處理方法,其特征是,具體步驟如下:S1:通過進液管(5)往處理罐(1)內加入廢水;S2:再往處理罐(1)處加入混凝劑與廢水混合,絮凝劑投加量和pH范圍內混凝,去除水樣中的腐殖酸,通過助凝作用,活性炭粉末將腐殖酸去除;S3:廢水在處理罐(1)內經過濾框(65),濾框(65)內的活性炭能夠吸附廢水中的腐殖酸,完成對廢水中腐殖酸的去除操作。
發明內容
為了克服現有方式在更換活性炭時的操作較為繁瑣,且效率較低的缺點,本發明提供一種操作更加簡單,能夠提高更換效率的腐殖酸生產廢水處理設備及處理方法。
本發明的技術方案為:一種腐殖酸生產廢水處理設備及處理方法,包括有處理罐、行走平臺和爬梯,所述處理罐頂部連接有行走平臺,所述處理罐上連接有與對準行走平臺進入端的爬梯,所述處理罐底部連通有排液管,所述排液管處設置有閥門,所述處理罐頂部為敞開設置,所述處理罐內上部連接有料斗,所述料斗中部開設進料口,所述處理罐上連通有用于加入廢水的進液管,所述行走平臺上設有用于對水中的腐殖酸類物質處理的處理機構,所述行走平臺與所述處理罐之間設有用于添加絮凝劑的加液機構,所述處理機構包括有氣缸和導向套一,所述氣缸設置有兩個并分別安裝在行走平臺兩側,所述導向套一設有兩個并分別連接在料斗兩側,所述導向套一內滑動連接有滑動支架,所述氣缸的伸縮桿與所述滑動支架連接,所述滑動支架上部轉動連接有旋轉架,兩個旋轉架兩側之間均轉動連接有能夠與進液口卡接的對接盤,所述對接盤上均勻間隔開設有多個通孔,所述對接盤內卡接有內部填充活性炭濾框,所述濾框擋住通孔,所述濾框頂部連接有提拉架。
在其中一個實施例中,加液機構包括有連接在行走平臺上的環形噴灑架和與連接在處理罐頂部的儲液箱,所述儲液箱與所述環形噴灑架之間連通有連通管,所述連通管內上部呈環形陣列連接有等距間隔設置的四個阻隔塊,所述連通管上滑動連接有推動桿,所述推動桿上連接有開設有漏液口的漏液盤,所述漏液盤上連接有與四個阻隔塊契合的十字堵塊,所述儲液箱內上部連接有過濾網一,所述儲液箱上連通有加液管架。
在其中一個實施例中,還包括有自動翻轉機構,所述自動翻轉機構包括有齒輪和齒條,所述齒輪設有兩個并分別連接在兩個旋轉架相互遠離的一側,所述旋轉架與所述齒輪的連接處設置有單向離合器,所述齒條設有兩個并分別連接在所述料斗兩側,所述齒條位于所述齒輪的移動軌跡處,所述齒輪上連接有導向軌道,所述導向軌道上滑動連接有配重塊。
在其中一個實施例中,還包括有自動解扣機構,所述自動解扣機構包括有導向架導向套二和轉環,所述導向架設有兩個并分別連接在行走平臺頂部兩側,兩側導向架上均滑動連接有提拉塊,所述提拉塊位于所述提拉架下方,所述導向套二設有兩個并分別連接在行走平臺底部兩側,所述提拉塊上連接有連接繩,所述轉環設置有兩個并分別轉動連接在兩個旋轉架的傳動軸上,所述連接繩繞過所述導向架再穿過所述導向套二與所述轉環連接。
在其中一個實施例中,還包括有粗濾機構,所述粗濾機構包括有連接在處理罐內上部的導液框,所述導液框底部連接有過濾網二,所述進液管穿入處理罐的位置位于所述導液框內。
在其中一個實施例中,還包括有掃除機構,所述掃除機構包括有安裝在導液框內的環形電動滑軌,所述導液框頂部開設有兩個呈對稱設置的開口,所述環形電動滑軌的移動體上連接有環形連接塊,所述環形連接塊上連接有兩個呈對稱設置的刮框,所述刮框底部與所述過濾網二頂部貼合,所述刮框內滑動連接有提拉板。
在其中一個實施例中,還包括有自動封堵機構,所述自動封堵機構包括有滑動連接在所述行走平臺頂部的抬升架和連接在所述滑動支架上的推板,所述抬升架底部與所述推板頂部接觸,所述抬升架上連接有楔形推塊,所述推動桿位于所述楔形推塊的移動軌跡處。
本發明還提供腐殖酸生產廢水處理方法,具體步驟如下:
S1:通過進液管往處理罐內加入廢水;
S2:再往處理罐處加入混凝劑與廢水混合,絮凝劑投加量和pH范圍內混凝,去除水樣中的腐殖酸,通過助凝作用,活性炭粉末將腐殖酸去除;
S3:廢水在處理罐內經過濾框,濾框內的活性炭能夠吸附廢水中的腐殖酸,完成對廢水中腐殖酸的去除操作。
與現有技術相比,本發明具有如下優點:1、本發明在進行濾框和活性炭的更換過程中,僅需控制氣缸伸縮桿縮回,使得對接盤移出,再通過轉動旋轉架調換兩個對接盤的位置,隨后再控制氣缸伸縮桿伸長即可實現濾框的更換,整體操作無需人工進行拆裝,更加的方便,效率更高,且在控制氣缸伸縮桿伸縮的過程中,能夠通過齒輪與齒條之間的傳動使得旋轉架自動翻轉,以實現兩個對接盤位置的調換,進而無需人工控制旋轉架轉動,進一步的使得操作更加方便。
2、本發明在操作的過程中,能夠在滑動支架移動的同時,通過拉繩拉動提拉塊移動,從而使得提拉塊與提拉架接而出,將換下的濾框卸下,如此,就無需人工操作將換下的濾框卸下,便于操作。
3、本發明在處理時,能夠在滑動支架向上移動進行濾框的更換時,帶動推板移動,從而通過抬升架和楔形推塊擠壓推動桿移動,將連通管堵住,以實現在更換濾框時自動阻隔混凝劑的作用。
(發明人:姚淑霞;王娟;王海珍;趙學臣;王靜)






