公布日:2024.04.26
申請日:2024.03.22
分類號:G01N1/10(2006.01)I;B01D29/09(2006.01)I;B01D29/96(2006.01)I;B01D29/64(2006.01)I
摘要
本發明公開了污水取樣技術領域的一種工業污水取樣用自過濾裝置,包括支撐板,所述支撐板轉動連接有支桿,所述支桿前方設置有過濾層,所述過濾層的頂部設置有多個檢測管,所述檢測管的管口均朝下設置且管口均與過濾層接觸,所述過濾層下方設置有若干個取樣筒,所述取樣筒呈管狀,驅動組會使若干個推桿同時向取樣筒內部移動,那么取樣筒內部的污水在密封塞的擠壓下就會透過濾層向檢測管內部流動,那么污水中的雜質就會被快速地過濾,使進入檢測管內部的污水是經過過濾之后的,使取樣的同時即可快速的過濾,不需要再單獨的過濾,極大程度地提高了效率。

權利要求書
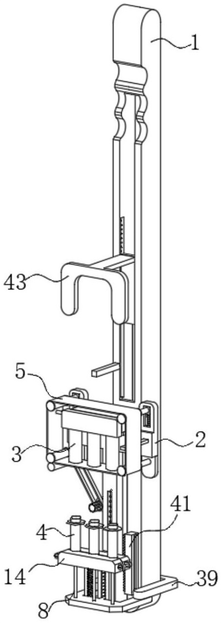
1.一種工業污水取樣用自過濾裝置,包括支撐板(1),其特征在于:所述支撐板(1)轉動連接有支桿(2),所述支桿(2)前方設置有過濾層(5),所述過濾層(5)的頂部設置有多個檢測管(3),所述檢測管(3)的管口均朝下設置且管口均與過濾層(5)接觸,所述過濾層(5)下方設置有若干個取樣筒(4),所述取樣筒(4)呈管狀,所述檢測管(3)均位于取樣筒(4)的正上方且其數量相同,所述檢測管(3)均略大于取樣筒(4);所述支桿(2)前方靠近頂端的位置設置有第一支撐組,所述第一支撐組用于對檢測管(3)和過濾層(5)進行支撐,所述取樣筒(4)內部靠近底端的位置均設置有密封塞(7),所述密封塞(7)的底部均固定連接有推桿(8),所述支桿(2)前方設置有第二支撐組,所述第二支撐組用于對取樣筒(4)進行支撐以及帶動取樣筒(4)和推桿(8)垂直移動;所述支桿(2)一側設置有驅動組,所述驅動組用于控制第二支撐組垂直移動以及支桿(2)的轉動,在支桿(2)轉動完成后會同時使若干個推桿(8)向取樣筒(4)內部移動和退出。
2.根據權利要求1所述的一種工業污水取樣用自過濾裝置,其特征在于:所述第二支撐組包括支撐塊(9)、分離塊(14)、滑槽(10)和推板(12),所述分離塊(14)與支撐塊(9)之間設置有分離組,所述分離組用于驅動支撐塊(9)和分離塊(14)分離,所述支撐塊(9)呈T形,若干個所述取樣筒(4)靠近底部的位置均位于支撐塊(9)與分離塊(14)之間,所述滑槽(10)開設在支桿(2)上,所述支撐塊(9)滑動連接在滑槽(10)內部,所述支撐塊(9)與滑槽(10)之間固定連接有第一彈簧(11),所述推板(12)呈U形且固定連接在若干個所述推桿(8)的底端,所述推板(12)與支撐塊(9)在豎直方向上滑動連接,所述支撐塊(9)與推板(12)之間固定連接有第二彈簧(13)。
3.根據權利要求2所述的一種工業污水取樣用自過濾裝置,其特征在于:所述分離組包括兩個螺桿(15),兩個螺桿(15)分別位于分離塊(14)的兩側,所述分離塊(14)與支撐塊(9)的兩側均開設有螺栓孔,兩個所述螺桿(15)均與分離塊(14)和支撐塊(9)螺紋連接。
4.根據權利要求3所述的一種工業污水取樣用自過濾裝置,其特征在于:所述取樣筒(4)靠近頂端的位置與靠近底端的位置分別固定連接有第一限位環(16)和第二限位環(17),所述分離塊(14)與支撐塊(9)之間均設置有與第二限位環(17)相匹配的讓位槽(18),所述讓位槽(18)的頂部與底部均貫穿所述分離塊(14)和支撐塊(9)。
5.根據權利要求2所述的一種工業污水取樣用自過濾裝置,其特征在于:所述驅動組包括第二齒輪(37)、第一氣缸(38)、壓板(43)和阻攔桿(47),所述阻攔桿(47)固定連接在支撐板(1)側壁,所述第二齒輪(37)固定連接在支桿(2)的轉動軸上,所述第一氣缸(38)固定連接在支撐板(1)內部的空腔之中,所述第一氣缸(38)的底端固定連接有壓桿(39),所述壓桿(39)滑動與支撐板(1)滑動連接,所述壓桿(39)的底端呈向前延伸的U型,所述壓桿(39)的端部能夠下壓推板(12),所述壓桿(39)滑動連接有第二齒條桿(41),所述第二齒條桿(41)與壓桿(39)之間固定連接有第五彈簧(40),所述壓桿(39)側壁固定連接有第三齒條桿(42),所述第三齒條桿(42)正上方設置有第三齒輪(46),所述第三齒輪(46)轉動連接在支撐板(1)的空腔內部,所述第三齒條桿(42)在上升一定程度后能夠與第三齒輪(46)嚙合,所述壓板(43)固定連接有第四齒條桿(44),所述第四齒條桿(44)與支撐板(1)位于支撐板(1)的空腔內部且與支撐板(1)在豎直方向上滑動連接,所述第四齒條桿(44)與支撐板(1)之間固定連接有第七彈簧(45),所述第四齒條桿(44)與第二齒輪(37)嚙合,所述壓板(43)位于推板(12)的正上方且用于下壓推板(12)。
6.根據權利要求2所述的一種工業污水取樣用自過濾裝置,其特征在于:所述第一支撐組包括固定塊(19)和滑動片(20),所述固定塊(19)與支桿(2)滑動連接,所述固定塊(19)與支桿(2)之間固定連接有第二氣缸(48),所述第二氣缸(48)用于驅動固定塊(19)沿著支桿(2)滑動,所述固定塊(19)與滑動片(20)滑動連接,所述固定塊(19)的底部滑動連接有抵制片(22),所述固定塊(19)與抵制片(22)之間固定連接有第三彈簧(21),所述固定塊(19)與滑動片(20)之間均設置有與檢測管(3)一一對應的放置槽(24),所述固定塊(19)一側壁轉動連接有連接桿(25),所述連接桿(25)側壁轉動連接有第一圓桿(26),所述滑動片(20)側壁轉動連接有第二圓桿(27),所述第一圓桿(26)和第二圓桿(27)之間固定連接有第四彈簧(23)。
7.根據權利要求6所述的一種工業污水取樣用自過濾裝置,其特征在于:所述支桿(2)上方靠近兩側的位置滑動連接有兩個受力片(28),兩個所述受力片(28)與支桿(2)之間均固定連接有第六彈簧(36),兩個所述受力片(28)上均轉動連接有第一驅動軸(29),兩個所述第一驅動軸(29)的正下方均設置有第二驅動軸(30),兩個所述第二驅動軸(30)均轉動連接在支桿(2)上,所述過濾層(5)呈環形且其搭設在兩個第一驅動軸(29)和兩個第二驅動軸(30)上;其中一個所述第二驅動軸(30)的正下方設置有主動輥(31),所述主動輥(31)的圓周面與位于其上方的第二驅動軸(30)的圓周面接觸,所述主動輥(31)與支桿(2)轉動連接,所述推板(12)內側壁固定連接有第一齒條桿(32),所述第一齒條桿(32)位于與第二齒條桿(41)相對的一側,所述第一齒條桿(32)正上方設置有第一齒輪(33),所述第一齒輪(33)的后端設置有單向軸承(34),所述單向軸承(34)與支桿(2)轉動連接,所述單向軸承(34)與主動輥(31)之間傳動連接有皮帶(35)。
8.根據權利要求7所述的一種工業污水取樣用自過濾裝置,其特征在于:所述支桿(2)上固定連接有刮板(6)。
發明內容
本發明的目的在于提供一種工業污水取樣用自過濾裝置,以解決上述背景技術中提出的問題。
為實現上述目的,本發明提供如下技術方案:一種工業污水取樣用自過濾裝置,包括支撐板,所述支撐板轉動連接有支桿,所述支桿前方設置有過濾層,所述過濾層的頂部設置有多個檢測管,所述檢測管的管口均朝下設置且管口均與過濾層接觸,所述過濾層下方設置有若干個取樣筒,所述取樣筒呈管狀,所述檢測管均位于取樣筒的正上方且其數量相同,所述檢測管均略大于取樣筒;所述支桿前方靠近頂端的位置設置有第一支撐組,所述第一支撐組用于對檢測管和過濾層進行支撐,所述取樣筒內部靠近底端的位置均設置有密封塞,所述密封塞的底部均固定連接有推桿,所述支桿前方設置有第二支撐組,所述第二支撐組用于對取樣筒進行支撐以及帶動取樣筒和推桿垂直移動;所述支桿一側設置有驅動組,所述驅動組用于控制第二支撐組垂直移動以及支桿的轉動,在支桿轉動完成后會同時使若干個推桿向取樣筒內部移動和退出。
作為本發明的進一步方案,所述第二支撐組包括支撐塊、分離塊、滑槽和推板,所述分離塊與支撐塊之間設置有分離組,所述分離組用于驅動支撐塊和分離塊分離,所述支撐塊呈T型,若干個所述取樣筒靠近底部的位置均位于支撐塊與分離塊之間,所述滑槽開設在支桿上,所述支撐塊滑動連接在滑槽內部,所述支撐塊與滑槽之間固定連接有第一彈簧,所述推板呈U形且固定連接在若干個所述推桿的底端,所述推板與支撐塊在豎直方向上滑動連接,所述支撐塊與推板之間固定連接有第二彈簧。
作為本發明的進一步方案,所述分離組包括兩個螺桿,兩個螺桿分別位于分離塊的兩側,所述分離塊與支撐塊的兩側均開設有螺栓孔,兩個所述螺桿均與分離塊和支撐塊螺紋連接。
作為本發明的進一步方案,所述取樣筒靠近頂端的位置與靠近底端的位置分別固定連接有第一限位環和第二限位環,所述分離塊與支撐塊之間均設置有與第二限位環相匹配的讓位槽,所述讓位槽的頂部與底部均貫穿所述分離塊和支撐塊。
作為本發明的進一步方案,所述驅動組包括第二齒輪、第一氣缸、壓板和阻攔桿,所述阻攔桿固定連接在支撐板側壁,所述第二齒輪固定連接在支桿的轉動軸上,所述第一氣缸固定連接在支撐板內部的空腔之中,所述第一氣缸的底端固定連接有壓桿,所述壓桿滑動與支撐板滑動連接,所述壓桿的底端呈向前延伸的U形,所述壓桿的端部能夠下壓推板,所述壓桿滑動連接有第二齒條桿,所述第二齒條桿與壓桿之間固定連接有第五彈簧,所述壓桿側壁固定連接有第三齒條桿,所述第三齒條桿正上方設置有第三齒輪,所述第三齒輪轉動連接在支撐板的空腔內部,所述第三齒條桿在上升一定程度后能夠與第三齒輪嚙合,所述壓板固定連接有第四齒條桿,所述第四齒條桿與支撐板位于支撐板的空腔內部且與支撐板在豎直方向上滑動連接,所述第四齒條桿與支撐板之間固定連接有第七彈簧,所述第四齒條桿與第二齒輪嚙合,所述壓板位于推板的正上方且用于下壓推板。
作為本發明的進一步方案,所述第一支撐組包括固定塊和滑動片,所述固定塊與支桿滑動連接,所述固定塊與支桿之間固定連接有第二氣缸,所述第二氣缸用于驅動固定塊沿著支桿滑動,所述固定塊與滑動片滑動連接,所述固定塊的底部滑動連接有抵制片,所述固定塊與抵制片之間固定連接有第三彈簧,所述固定塊與滑動片之間均設置有與檢測管一一對應的放置槽,所述固定塊一側壁轉動連接有連接桿,所述連接桿側壁轉動連接有第一圓桿,所述滑動片側壁轉動連接有第二圓桿,所述第一圓桿和第二圓桿之間固定連接有第四彈簧。
作為本發明的進一步方案,所述支桿上方靠近兩側的位置滑動連接有兩個受力片,兩個所述受力片與支桿之間均固定連接有第六彈簧,兩個所述受力片上均轉動連接有第一驅動軸,兩個所述第一驅動軸的正下方均設置有第二驅動軸,兩個所述第二驅動軸均轉動連接在支桿上,所述過濾層呈環形且其搭設在兩個第一驅動軸和兩個第二驅動軸上;其中一個所述第二驅動軸的正下方設置有主動輥,所述主動輥的圓周面與位于其上方的第二驅動軸的圓周面接觸,所述主動輥與支桿轉動連接,所述推板內側壁固定連接有第一齒條桿,所述第一齒條桿位于與第二齒條桿相對的一側,所述第一齒條桿正上方設置有第一齒輪,所述第一齒輪的后端設置有單向軸承,所述單向軸承與支桿轉動連接,所述單向軸承與主動輥之間傳動連接有皮帶。
作為本發明的進一步方案,所述支桿上固定連接有刮板。
與現有技術相比,本發明的有益效果是:驅動組會使若干個推桿同時向取樣筒內部移動,那么取樣筒內部的污水在密封塞的擠壓下就會透過濾層向檢測管內部流動,那么污水中的雜質就會被快速地過濾,使進入檢測管內部的污水是經過過濾之后的,使取樣的同時即可快速的過濾,不需要再單獨的過濾,極大程度地提高了效率。
取樣筒略微小于檢測管,這就使得即可取樣筒內部充滿污水,在經過過濾層過濾后進入檢測管內部的污水不會充滿檢測管,從而方便檢測管蓋體的閉合和直接進行檢測的效率,能夠防止外泄,提高便捷程度,且檢測管與取樣筒均為多個,能夠同時取樣多個,方便對照與保存。
通過第一支撐組和第二支撐組能夠方便檢測管的取拿和放置以及取樣筒長時間使用之后的更換。
4.主動輥轉動時其與第二驅動軸接觸的圓周面通過摩擦力的作用就會帶動第二驅動軸轉動,進而使過濾層沿著第一驅動軸傳動,第一驅動軸也會繞受力片轉動,從而在每一次過濾工作完成后都能夠進行過濾面的更換,確保后續的過濾效果,且在過濾層換面的時候,通過刮板能夠將過濾層上殘留的雜質給清理下去。
(發明人:賈書慶;龔興曉;閆偉彬)






