公布日:2024.04.30
申請日:2024.01.31
分類號:C02F9/00(2023.01)I;C02F11/12(2019.01)I;B01F27/706(2022.01)I;C02F1/52(2023.01)N;C02F3/30(2023.01)N
摘要
本發明公開了一種餐廚廢棄物污水生化處理系統及方法,涉及餐廚廢棄物污水生化處理技術領域,包括污水處理單元、污泥處理單元、排氣組件和配藥機構,所述污水處理單元用于餐廚污水處理,所述污水處理單元包括調節池、混凝沉淀、厭氧UASB、A/O池和MBR池,所述污泥處理單元用于處理污水中的污泥,所述污泥處理單元包括污泥池和污泥脫水機,所述排氣組件用于對污水處理過程中產生的異味進行收集,所述配藥機構用于對混凝沉淀提供藥劑,本發明通過設置配藥機構,起到了能夠自動配制混凝劑的效果,從而能夠減少人工的作業量,配制組件和控制組件能夠實現自動配制作業,攪拌組件能夠對混凝劑進行攪拌,儲藥箱用于存儲配制完成的混凝劑藥劑。

權利要求書
1.一種餐廚廢棄物污水生化處理系統,包括污水處理單元(1)、污泥處理單元(2)、排氣組件(3)和配藥機構(4),其特征在于:所述污水處理單元(1)用于餐廚污水處理,所述污水處理單元(1)包括調節池(11)、混凝沉淀(12)、厭氧UASB(13)、A/O池(14)和MBR池(15),所述污泥處理單元(2)用于處理污水中的污泥,所述污泥處理單元(2)包括污泥池(21)和污泥脫水機(22),所述排氣組件(3)用于對污水處理過程中產生的異味進行收集,所述配藥機構(4)用于對混凝沉淀(12)提供藥劑,所述配藥機構(4)包括儲藥箱(41)、配制組件(42)、攪拌組件(43)和控制組件(44),所述儲藥箱(41)用于存儲藥劑,所述配制組件(42)用于配制藥劑,所述攪拌組件(43)用于提供攪拌,所述控制組件(44)用于控制配藥流程。
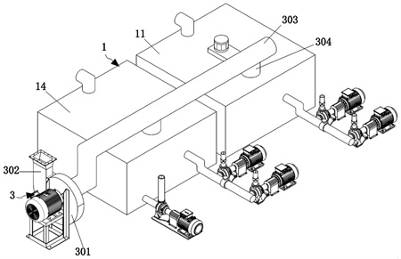
2.根據權利要求1所述的一種餐廚廢棄物污水生化處理系統,其特征在于:所述排氣組件(3)包括離心風機(301)、排氣管(302)、進氣管(303)和連接管(304),所述進氣管(303)的一端與離心風機(301)的進氣端連通,所述排氣管(302)的一端與離心風機(301)的出氣端連通,所述連接管(304)的一端與進氣管(303)連通。
3.根據權利要求1所述的一種餐廚廢棄物污水生化處理系統,其特征在于:所述配制組件(42)包括存儲罐(421)、輸送管(422)、第一電機(423)、螺桿(424)、混合箱(425)、進水管(426)和分流管(427),所述混合箱(425)固定于儲藥箱(41)的底部,所述輸送管(422)安裝于混合箱(425)的頂部,所述存儲罐(421)安裝于輸送管(422)的頂部,所述第一電機(423)固定于輸送管(422)的一端,所述螺桿(424)安裝與輸送管(422)的內腔,所述第一電機(423)的輸出軸貫穿至輸送管(422)的內腔并與螺桿(424)傳動連接。
4.根據權利要求3所述的一種餐廚廢棄物污水生化處理系統,其特征在于:所述進水管(426)的一端與混合箱(425)的內腔連通,所述分流管(427)的數量為兩個,且分別安裝于混合箱(425)的兩側,所述分流管(427)的兩端分別與儲藥箱(41)和混合箱(425)的內腔連通。
5.根據權利要求1所述的一種餐廚廢棄物污水生化處理系統,其特征在于:所述攪拌組件(43)包括安裝箱(431)、第二電機(432)、主動輪(433)、從動輪(434)、張緊輪(435)、第一傳動桿(436)、第一攪拌器(437)、第二傳動桿(438)和第二攪拌器(439),所述安裝箱(431)的兩端分別與混合箱(425)和儲藥箱(41)固定連接,所述第二電機(432)安裝于安裝箱(431)的表面,所述主動輪(433)、從動輪(434)、張緊輪(435)、和第一傳動桿(436)均安裝于安裝箱(431)的內腔。
6.根據權利要求5所述的一種餐廚廢棄物污水生化處理系統,其特征在于:所述第二電機(432)的輸出軸貫穿至安裝箱(431)的內腔并與主動輪(433)傳動連接,所述主動輪(433)和從動輪(434)之間通過皮帶傳動連接,所述從動輪(434)的數量為兩個,且分別安裝于安裝箱(431)內腔下端的兩側,所述張緊輪(435)的內腔與皮帶的表面接觸,所述第一傳動桿(436)的一端與從動輪(434)固定連接,所述第一傳動桿(436)的另一端貫穿至儲藥箱(41)的內腔并與第一攪拌器(437)固定連接,所述第二傳動桿(438)的一端與主動輪(433)固定連接,所述第二傳動桿(438)的另一端貫穿至混合箱(425)的內腔并與第二攪拌器(439)固定連接。
7.根據權利要求1所述的一種餐廚廢棄物污水生化處理系統,其特征在于:所述控制組件(44)包括PLC控制器(441)、出藥電磁閥(442)、進水電磁閥(443)、液位傳感器(444)和PAC濃度計(445),所述PLC控制器(441)安裝于儲藥箱(41)的表面,所述出藥電磁閥(442)安裝于分流管(427)的表面,所述進水電磁閥(443)安裝于進水管(426)的表面,所述液位傳感器(444)安裝于儲藥箱(41)的內腔,所述PAC濃度計(445)安裝于混合箱(425)的內腔,所述PLC控制器(441)的輸出端分別與出藥電磁閥(442)、進水電磁閥(443)、第一電機(423)和第二電機(432)的輸入端電性連接,所述液位傳感器(444)和PAC濃度計(445)的輸出端均與PLC控制器(441)的輸入端電性連接。
8.根據權利要求1-7任意一項所述的一種餐廚廢棄物污水生化處理系統的方法,其特征在于:其使用方法包括如下步驟:A、廢水生化處理;A1、廢水通過污水收集池進行收集暫存,污水收集池中的廢水通過提升泵輸送至調節池(11),廢水經過調節池(11)的調節后,使污水中的微生物進行充分混合;A2、混合均勻的污水通過提升泵輸送至混凝沉淀(12)進行沉淀,配藥機構(4)向混凝沉淀(12)投加混凝藥劑,使污水中的污泥能夠與污水分離,分離的污水進入厭氧UASB(13)中繼續處理,分離出的污泥排至污泥池(21)中;A3、分離后的污水進入到厭氧UASB(13)中進行厭氧處理,廢水經過厭氧UASB(13)的處理后分解成甲烷氣體、污泥以及污水三路,甲烷氣體可輸送至鍋爐助燃,污泥排至污泥池(21)中,污水通過A/O池(14)繼續生化處理;A4、污水輸送至A/O池(14)進行缺氧和好氧處理,經過A/O池(14)處理后的污水通過MBR池(15)進行凈化,使其達到排放標準,并輸送至清水池內備用,MBR池(15)中產生的硝化液回流至A/O池(14),MBR池(15)定期反洗和化學清洗的污水回流至污水收集池中也可回流至A/O池(14)中;B、污泥處理;B1、混凝沉淀(12)、厭氧UASB(13)和A/O池(14)產生的污泥輸送至污泥池(21)中存儲,通過螺桿泵將污泥輸送至污泥脫水機(22)中進行脫水處理,分離的污泥可直接外運或運至鍋爐燃燒,分離的污水排至污水收集池內;C、混凝劑配制;C1、首先通過配制組件(42)進行混凝劑的配制,第一電機(423)的輸出軸轉動帶動螺桿(424)進行轉動,存儲罐(421)內腔的混凝劑下落至輸送管(422)的內腔,螺桿(424)轉動時帶動輸送管(422)內腔的混凝劑向混合箱(425)的內腔運動,通過進水管(426)向混合箱(425)的內腔添加清水;C2、第二電機(432)的輸出軸轉動帶動主動輪(433)進行轉動,主動輪(433)轉動時通過皮帶帶動兩個從動輪(434)進行轉動,張緊輪(435)能夠對皮帶進行限位,主動輪(433)轉動時通過第二傳動桿(438)帶動第二攪拌器(439)在混合箱(425)的內腔進行轉動,從動輪(434)轉動時通過第一傳動桿(436)帶動第一攪拌器(437)在儲藥箱(41)的內腔進行轉動了,從而能夠對混凝劑進行攪拌,配制完成的混凝劑可通過分流管(427)和出藥電磁閥(442)流至儲藥箱(41)的內腔備用,儲藥箱(41)內腔的混凝劑通過加藥泵向混凝沉淀(12)輸送;C3、通過PLC控制器(441)可設定混凝劑配制濃度和混凝劑加藥量,液位傳感器(444)能夠對儲藥箱(41)內腔的液位進行監測,并將數據發送至PLC控制器(441),根據儲藥箱(41)內腔的液位,使PLC控制器(441)能夠控制配制組件(42)進行藥劑的配制,PAC濃度計(445)能夠對配制濃度進行監測,PLC控制器(441)控制出藥電磁閥(442)開啟,能夠將混合箱(425)內腔配置的藥劑輸送至儲藥箱(41)的內腔使用,從而能夠實現藥劑的自動配制,減少了人工作業;D、異味收集;D1、調節池(11)、混凝沉淀(12)、A/O池(14)和污水收集池均連通有連接管(304),離心風機(301)高速旋轉產生的離心力帶動異味通過進氣管(303)輸送至離心風機(301)并通過排氣管(302)輸送至鍋爐燃燒,或采用化學洗滌的方式進行處理,使其達到排放標準。
發明內容
本發明的目的在于提供一種餐廚廢棄物污水生化處理系統及方法,具備了能夠自動配制混凝藥劑和減少異味的優點,解決了對比案例中的餐廚廢水處理裝置在處理的過程中混凝加藥時不能根據處理需求進行自動配藥,需要人工進行配藥作業,而且各級水池還會產生大量的異味,異味容易對周圍環境及工作人員的身體造成損害,從而給餐廚污水的處理作業帶來了不便的問題。
為實現上述目的,本發明提供如下技術方案:一種餐廚廢棄物污水生化處理系統,包括污水處理單元、污泥處理單元、排氣組件和配藥機構,所述污水處理單元用于餐廚污水處理,所述污水處理單元包括調節池、混凝沉淀、厭氧UASB、A/O池和MBR池,所述污泥處理單元用于處理污水中的污泥,所述污泥處理單元包括污泥池和污泥脫水機,所述排氣組件用于對污水處理過程中產生的異味進行收集,所述配藥機構用于對混凝沉淀提供藥劑,所述配藥機構包括儲藥箱、配制組件、攪拌組件和控制組件,所述儲藥箱用于存儲藥劑,所述配制組件用于配制藥劑,所述攪拌組件用于提供攪拌,所述控制組件用于控制配藥流程。
優選的,所述排氣組件包括離心風機、排氣管、進氣管和連接管,所述進氣管的一端與離心風機的進氣端連通,所述排氣管的一端與離心風機的出氣端連通,所述連接管的一端與進氣管連通。
優選的,所述配制組件包括存儲罐、輸送管、第一電機、螺桿、混合箱、進水管和分流管,所述混合箱固定于儲藥箱的底部,所述輸送管安裝于混合箱的頂部,所述存儲罐安裝于輸送管的頂部,所述第一電機固定于輸送管的一端,所述螺桿安裝與輸送管的內腔,所述第一電機的輸出軸貫穿至輸送管的內腔并與螺桿傳動連接。
優選的,所述進水管的一端與混合箱的內腔連通,所述分流管的數量為兩個,且分別安裝于混合箱的兩側,所述分流管的兩端分別與儲藥箱和混合箱的內腔連通。
優選的,所述攪拌組件包括安裝箱、第二電機、主動輪、從動輪、張緊輪、第一傳動桿、第一攪拌器、第二傳動桿和第二攪拌器,所述安裝箱的兩端分別與混合箱和儲藥箱固定連接,所述第二電機安裝于安裝箱的表面,所述主動輪、從動輪、張緊輪、和第一傳動桿均安裝于安裝箱的內腔。
優選的,所述第二電機的輸出軸貫穿至安裝箱的內腔并與主動輪傳動連接,所述主動輪和從動輪之間通過皮帶傳動連接,所述從動輪的數量為兩個,且分別安裝于安裝箱內腔下端的兩側,所述張緊輪的內腔與皮帶的表面接觸,所述第一傳動桿的一端與從動輪固定連接,所述第一傳動桿的另一端貫穿至儲藥箱的內腔并與第一攪拌器固定連接,所述第二傳動桿的一端與主動輪固定連接,所述第二傳動桿的另一端貫穿至混合箱的內腔并與第二攪拌器固定連接。
優選的,所述控制組件包括PLC控制器、出藥電磁閥、進水電磁閥、液位傳感器和PAC濃度計,所述PLC控制器安裝于儲藥箱的表面,所述出藥電磁閥安裝于分流管的表面,所述進水電磁閥安裝于進水管的表面,所述液位傳感器安裝于儲藥箱的內腔,所述PAC濃度計安裝于混合箱的內腔,所述PLC控制器的輸出端分別與出藥電磁閥、進水電磁閥、第一電機和第二電機的輸入端電性連接,所述液位傳感器和PAC濃度計的輸出端均與PLC控制器的輸入端電性連接。
優選的,其使用方法包括如下步驟:
A、廢水生化處理;
A1、廢水通過污水收集池進行收集暫存,污水收集池中的廢水通過提升泵輸送至調節池,廢水經過調節池的調節后,使污水中的微生物進行充分混合;
A2、混合均勻的污水通過提升泵輸送至混凝沉淀進行沉淀,配藥機構向混凝沉淀投加混凝藥劑,使污水中的污泥能夠與污水分離,分離的污水進入厭氧UASB中繼續處理,分離出的污泥排至污泥池中;
A3、分離后的污水進入到厭氧UASB中進行厭氧處理,廢水經過厭氧UASB的處理后分解成甲烷氣體、污泥以及污水三路,甲烷氣體可輸送至鍋爐助燃,污泥排至污泥池中,污水通過A/O池繼續生化處理;
A4、污水輸送至A/O池進行缺氧和好氧處理,經過A/O池處理后的污水通過MBR池進行凈化,使其達到排放標準,并輸送至清水池內備用,MBR池中產生的硝化液回流至A/O池,MBR池定期反洗和化學清洗的污水回流至污水收集池中也可回流至A/O池中;
B、污泥處理;
B1、混凝沉淀、厭氧UASB和A/O池產生的污泥輸送至污泥池中存儲,通過螺桿泵將污泥輸送至污泥脫水機中進行脫水處理,分離的污泥可直接外運或運至鍋爐燃燒,分離的污水排至污水收集池內;
C、混凝劑配制;
C1、首先通過配制組件進行混凝劑的配制,第一電機的輸出軸轉動帶動螺桿進行轉動,存儲罐內腔的混凝劑下落至輸送管的內腔,螺桿轉動時帶動輸送管內腔的混凝劑向混合箱的內腔運動,通過進水管向混合箱的內腔添加清水;
C2、第二電機的輸出軸轉動帶動主動輪進行轉動,主動輪轉動時通過皮帶帶動兩個從動輪進行轉動,張緊輪能夠對皮帶進行限位,主動輪轉動時通過第二傳動桿帶動第二攪拌器在混合箱的內腔進行轉動,從動輪轉動時通過第一傳動桿帶動第一攪拌器在儲藥箱的內腔進行轉動了,從而能夠對混凝劑進行攪拌,配制完成的混凝劑可通過分流管和出藥電磁閥流至儲藥箱的內腔備用,儲藥箱內腔的混凝劑通過加藥泵向混凝沉淀輸送;
C3、通過PLC控制器可設定混凝劑配制濃度和混凝劑加藥量,液位傳感器能夠對儲藥箱內腔的液位進行監測,并將數據發送至PLC控制器,根據儲藥箱內腔的液位,使PLC控制器能夠控制配制組件進行藥劑的配制,PAC濃度計能夠對配制濃度進行監測,PLC控制器控制出藥電磁閥開啟,能夠將混合箱內腔配置的藥劑輸送至儲藥箱的內腔使用,從而能夠實現藥劑的自動配制,減少了人工作業;
D、異味收集;
D1、調節池、混凝沉淀、A/O池和污水收集池均連通有連接管,離心風機高速旋轉產生的離心力帶動異味通過進氣管輸送至離心風機并通過排氣管輸送至鍋爐燃燒,或采用化學洗滌的方式進行處理,使其達到排放標準。
與現有技術相比,本發明的有益效果如下:
1、本發明通過設置污水處理單元和污泥處理單元,起到了能夠對餐廚廢棄物中的污水進行生化處理的效果,從而能夠使污水達到排污的標準,污水處理單元用于污水進行處理,污泥處理單元用于對污水中的污泥進行處理,通過設置排氣組件,起到了能夠對污水處理過程中產生的異味進行收集的效果,從而能夠減少異味對周圍環境造成污染的情況發生。
2、本發明通過設置配藥機構,起到了能夠自動配制混凝劑的效果,從而能夠減少人工的作業量,配制組件和控制組件能夠實現自動配制作業,攪拌組件能夠對混凝劑進行攪拌,儲藥箱用于存儲配制完成的混凝劑藥劑。
(發明人:張昕昕)






