公布日:2023.11.10
申請日:2023.09.18
分類號:C02F9/00(2023.01)I;C02F1/461(2023.01)I;C02F1/72(2023.01)I;C02F1/24(2023.01)I;C02F1/20(2023.01)I;C25B1/04(2021.01)I
摘要
本發明公開了一種廢水凈化處理及制氫裝置,不僅能夠對廢水進行氧化處理,同時能夠電解制氫,此外還能夠利用氣浮作用實現廢水凈化。包括:主筒體,所述主筒體內具有由下往上依次設置的電解區和氣浮區,所述主筒體上分別設置有與所述電解區下部對應導通的第一輸出口、與所述電解區上部對應導通的輸入口和與所述氣浮區上部對應導通的第二輸出口;電解裝置,所述電解裝置包含直流電源以及間隔布置在所述電解區中的陽極和陰極,所述陽極和所述陰極分別與所述直流電源的正負極相連;氫氣回收裝置,所述氫氣回收裝置包含與各陰極一一對應的氣體隔離部件;氧氣上浮通道以及浮沫清理機構。

權利要求書
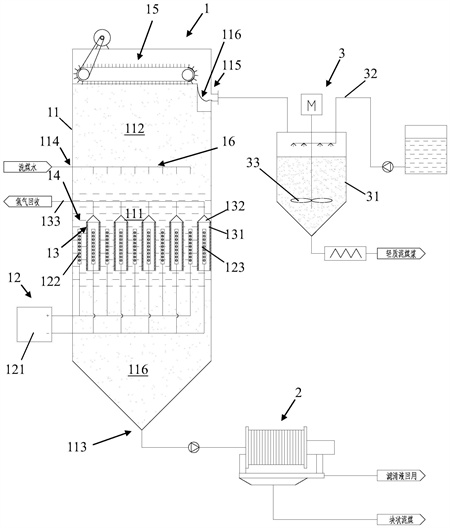
1.一種廢水凈化處理及制氫裝置,其特征在于:包括:主筒體,所述主筒體內具有由下往上依次設置的電解區和氣浮區,所述主筒體上分別設置有與所述電解區下部對應導通的第一輸出口、與所述電解區上部對應導通的輸入口和與所述氣浮區上部對應導通的第二輸出口;電解裝置,所述電解裝置包含直流電源以及間隔布置在所述電解區中的陽極和陰極,所述陽極和所述陰極分別與所述直流電源的正負極相連,工作時,所述陽極通過陽極電化學反應對通過所述輸入口進入所述電解區的廢水進行氧化處理并產生氧氣,所述陰極通過陰極電化學反應產生氫氣;氫氣回收裝置,所述氫氣回收裝置包含與各陰極一一對應的氣體隔離部件,所述氣體隔離部件套在對應的陰極外部并具有圍繞該陰極設置的側壁和位于該側壁上端的端蓋,所述側壁下端設有敞口和/或所述側壁本身采用的可透過離子和水但不能透過氣泡的膜材料,所述端蓋上設有排氣口,所述排氣口用于通過排氣管與儲氫罐相連;氧氣上浮通道,所述氧氣上浮通道由位于所述電解裝置的陽極與所述氫氣回收裝置之間的空間形成,用于將所述陽極產生的氧氣向上導入氣浮區;以及浮沫清理機構,所述浮沫清理機構安裝在所述氣浮區的頂部,用于將所述氣浮區的頂部產生的浮沫從所述第二輸出口排出。
2.如權利要求1所述的一種廢水凈化處理及制氫裝置,其特征在于:所述主筒體內位于所述電解區的下部具有沉淀區,所述第一輸出口包含與所述沉淀區上部對應導通的上清液輸出口和/或與所述沉淀區下部對應導通的排渣口。
3.如權利要求2所述的一種廢水凈化處理及制氫裝置,其特征在于:所述沉淀區的底部形成錐形卸料槽,所述排渣口位于所述錐形卸料槽的底部。
4.如權利要求1所述的一種廢水凈化處理及制氫裝置,其特征在于:所述浮沫清理機構采用刮板機。
5.如權利要求1所述的一種廢水凈化處理及制氫裝置,其特征在于:所述氣浮區上部設有位于所述主筒體內部并與所述主筒體內壁間隔一定距離的側向隔板以及連接在該側向隔板底部與所述主筒體內壁之間的底部隔板,所述側向隔板與所述底部隔板構成一個位于所述氣浮區側面偏上位置的缺口,所述第二輸出口設置在所述主筒體側壁上并與該缺口側向導通;所述浮沫清理機構安裝在所述氣浮區的頂部并用于將所述氣浮區的頂部產生的浮沫推向所述缺口。
6.如權利要求1所述的一種廢水凈化處理及制氫裝置,其特征在于:所述電解裝置包含多個所述陽極和多個所述陰極,這些陽極與這些陰極沿水平方向交錯間隔排列在所述電解區中。
7.如權利要求1所述的一種廢水凈化處理及制氫裝置,其特征在于:所述電解區上部設有布水器,所述布水器將從所述輸入口輸入的待處理廢水以在所述電解區的橫截面上均勻分布的方式輸入所述電解區。
8.如權利要求7所述的一種廢水凈化處理及制氫裝置,其特征在于:所述布水器具有與所述輸入口連接的主進水管路和間隔分布在該主進水管路上的布水歧管,所述主進水管路沿水平方向設置,所述布水歧管豎直向下設置。
9.如權利要求1-8中任意一項權利要求所述的一種廢水凈化處理及制氫裝置,其特征在于:所述電解區與所述氣浮區之間還設置有曝氣裝置。
10.如權利要求9所述的一種廢水凈化處理及制氫裝置,其特征在于:所述曝氣裝置設置在所述布水器與所述電解裝置之間;并且/或者,所述曝氣裝置具有主進氣管路和間隔分布在該主進氣管路上的曝氣點,所述主進氣管路沿水平方向設置并與氣源相連。
發明內容
本發明目的在于提供廢水凈化處理及制氫裝置、廢水凈化處理及制氫系統及廢水凈化處理及制氫方法,不僅能夠對廢水進行氧化處理,同時能夠電解制氫,此外還能夠利用氣浮作用實現廢水凈化。
第一個方面,提供了一種廢水凈化處理及制氫裝置,包括:主筒體,所述主筒體內具有由下往上依次設置的電解區和氣浮區,所述主筒體上分別設置有與所述電解區下部對應導通的第一輸出口、與所述電解區上部對應導通的輸入口和與所述氣浮區上部對應導通的第二輸出口;電解裝置,所述電解裝置包含直流電源以及間隔布置在所述電解區中的陽極和陰極,所述陽極和所述陰極分別與所述直流電源的正負極相連,工作時,所述陽極通過陽極電化學反應對通過所述輸入口進入所述電解區的廢水進行氧化處理并產生氧氣,所述陰極通過陰極電化學反應產生氫氣;氫氣回收裝置,所述氫氣回收裝置包含與各陰極一一對應的氣體隔離部件,所述氣體隔離部件套在對應的陰極外部并具有圍繞該陰極設置的側壁和位于該側壁上端的端蓋,所述側壁下端設有敞口和/或所述側壁本身采用的可透過離子和水但不能透過氣泡的膜材料,所述端蓋上設有排氣口,所述排氣口用于通過排氣管與儲氫罐相連;氧氣上浮通道,所述氧氣上浮通道由位于所述電解裝置的陽極與所述氫氣回收裝置之間的空間形成,用于將所述陽極產生的氧氣向上導入氣浮區;以及浮沫清理機構,所述浮沫清理機構安裝在所述氣浮區的頂部,用于將所述氣浮區的頂部產生的浮沫從所述第二輸出口排出。
根據本發明實施例,所述主筒體內位于所述電解區的下部具有沉淀區,所述第一輸出口包含與所述沉淀區上部對應導通的上清液輸出口和/或與所述沉淀區下部對應導通的排渣口。此外,根據本發明實施例,所述沉淀區的底部形成錐形卸料槽,所述排渣口位于所述錐形卸料槽的底部。
根據本發明實施例,所述浮沫清理機構采用刮板機。根據本發明實施例,所述氣浮區上部設有位于所述主筒體內部并與所述主筒體內壁間隔一定距離的側向隔板以及連接在該側向隔板底部與所述主筒體內壁之間的底部隔板,所述側向隔板與所述底部隔板構成一個位于所述氣浮區側面偏上位置的缺口,所述第二輸出口設置在所述主筒體側壁上并與該缺口側向導通;所述浮沫清理機構安裝在所述氣浮區的頂部并用于將所述氣浮區的頂部產生的浮沫推向所述缺口。
根據本發明實施例,所述電解裝置包含多個所述陽極和多個所述陰極,這些陽極與這些陰極沿水平方向交錯間隔排列在所述電解區中。根據本發明實施例,所述側壁和所述端蓋兩者中至少所述側壁是由可透過離子和水但不能透過氣體的膜材料制成。
根據本發明實施例,所述電解區上部設有布水器,所述布水器將從所述輸入口輸入的待處理廢水以在所述電解區的橫截面上均勻分布的方式輸入所述電解區。根據本發明實施例,所述布水器具有與所述輸入口連接的主進水管路和間隔分布在該主進水管路上的布水歧管,所述主進水管路沿水平方向設置,所述布水歧管豎直向下設置。
根據本發明實施例,所述電解區與所述氣浮區之間還設置有曝氣裝置。根據本發明實施例,所述曝氣裝置設置在所述布水器與所述電解裝置之間。根據本發明實施例,所述曝氣裝置具有主進氣管路和間隔分布在該主進氣管路上的曝氣點,所述主進氣管路沿水平方向設置并與氣源相連。
第二個方面,提供了一種廢水凈化處理及制氫裝置,包括:主筒體,所述主筒體內具有由下往上依次設置的電解區和氣浮區,所述主筒體上分別設置有與所述電解區下部對應導通的第一輸出口、與所述電解區上部對應導通的輸入口和與所述氣浮區上部對應導通的第二輸出口;電解裝置,所述電解裝置包含直流電源以及間隔布置在所述電解區中的陽極和陰極,所述陽極和所述陰極分別與所述直流電源的正負極相連,工作時,所述陽極通過陽極電化學反應對通過所述輸入口進入所述電解區的廢水進行氧化處理,所述陰極通過陰極電化學反應產生氫氣;氫氣回收裝置,所述氫氣回收裝置包含與各陰極一一對應的氣體隔離部件,所述氣體隔離部件套在對應的陰極外部并具有圍繞該陰極設置的側壁和位于該側壁上端的端蓋,所述側壁下端設有敞口和/或所述側壁本身采用的可透過離子和水但不能透過氣泡的膜材料,所述端蓋上設有排氣口,所述排氣口用于通過排氣管與儲氫罐相連;曝氣裝置,所述曝氣裝置設置在所述電解區與所述氣浮區之間,用于所述主筒體內進行曝氣;以及浮沫清理機構,所述浮沫清理機構安裝在所述氣浮區的頂部,用于將所述氣浮區的頂部產生的浮沫從所述第二輸出口排出。
根據本發明實施例,所述主筒體內位于所述電解區的下部具有沉淀區,所述第一輸出口包含與所述沉淀區上部對應導通的上清液輸出口和/或與所述沉淀區下部對應導通的排渣口。此外,根據本發明實施例,所述沉淀區的底部形成錐形卸料槽,所述排渣口位于所述錐形卸料槽的底部。
根據本發明實施例,所述浮沫清理機構采用刮板機。根據本發明實施例,所述氣浮區上部設有位于所述主筒體內部并與所述主筒體內壁間隔一定距離的側向隔板以及連接在該側向隔板底部與所述主筒體內壁之間的底部隔板,所述側向隔板與所述底部隔板構成一個位于所述氣浮區側面偏上位置的缺口,所述第二輸出口設置在所述主筒體側壁上并與該缺口側向導通;所述浮沫清理機構安裝在所述氣浮區的頂部并用于將所述氣浮區的頂部產生的浮沫推向所述缺口。
根據本發明實施例,所述電解裝置包含多個所述陽極和多個所述陰極,這些陽極與這些陰極沿水平方向交錯間隔排列在所述電解區中。根據本發明實施例,所述側壁和所述端蓋兩者中至少所述側壁是由可透過離子和水但不能透過氣體的膜材料制成。
根據本發明實施例,所述電解區上部設有布水器,所述布水器將從所述輸入口輸入的待處理廢水以在所述電解區的橫截面上均勻分布的方式輸入所述電解區。根據本發明實施例,所述布水器具有與所述輸入口連接的主進水管路和間隔分布在該主進水管路上的布水歧管,所述主進水管路沿水平方向設置,所述布水歧管豎直向下設置。
根據本發明實施例,所述曝氣裝置設置在所述布水器與所述電解裝置之間。根據本發明實施例,所述曝氣裝置具有主進氣管路和間隔分布在該主進氣管路上的曝氣點,所述主進氣管路沿水平方向設置并與氣源相連。
第三個方面,提供了一種廢水凈化處理及制氫系統,包括:A)廢水凈化處理及制氫裝置:所述廢水凈化處理及制氫裝置采用上述第一個方面的廢水凈化處理及制氫裝置或上述第二個方面的廢水凈化處理及制氫裝置;B)固液分離裝置:所述固液分離裝置與所述第一輸出口連接,用于回收所述第一輸出口排出的物料并進行固液分離處理,從而收集得到固液分離處理后的第一渣料;C)消泡裝置:所述消泡裝置與所述第二輸出口連接,用于回收從所述第二輸出口排出的物料并進行消泡處理,并收集得到消泡處理后的第二渣料。
根據本發明實施例,所述廢水為洗煤水;所述第一渣料和所述第二渣料均主要含有煤粉。
第四個方面,提供了一種廢水凈化處理及制氫方法,使用上述第三個方面的廢水凈化處理及制氫系統對廢水進行凈化處理及制氫;當所述廢水為洗煤水則所述第一渣料和所述第二渣料均主要含有煤粉時,將所述第一渣料和所述第二渣料作為燃料回收,并將所述固液分離裝置產生的清液作為用于原煤清洗。
上述第一個方面的廢水凈化處理及制氫裝置、上述第二個方面的廢水凈化處理及制氫裝置均能夠以及上述第三個方面的廢水凈化處理及制氫系統可同時實現廢水氣浮凈化、廢水氧化凈化處理和電解制氫,此外,還將氣浮結構與電解裝置一體化,能夠節省設備投資和占地。
(發明人:何志;楊光耀;趙聰;何珂橋)






