申請日2014.10.16
公開(公告)日2015.02.11
IPC分類號C02F9/14
摘要
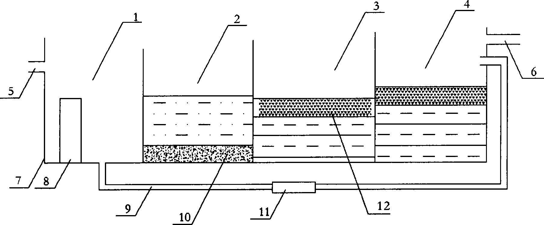
本實用新型公開了一種農村生活污水的簡易處理裝置,包括凈化水箱,所述凈化水箱內通過隔板依次分隔成第一吸收池、第二吸收池、凝聚沉淀池和檢測池,所述第一吸收池設有入水口,所述檢測池設有出水口,所述檢測池底部連接有回流管的一端,所述回流管的另一端連接至第一吸收池,所述回流管上設有回流泵,所述第一吸收池和第二吸收池內均設有水生植物層,所述凝聚沉淀池內設有金屬粉層,所述檢測池內設有氮、磷元素含量檢測裝置。本實用新型有益效果在于,結構簡單,技術合理,成本低廉,因為生活污水主要含有較高比例的氮、磷元素,導致水體富營養化,而水生植物一般生長快,能高效吸收氮、磷元素,收割后經處理還可進行二次利用。
權利要求書
1.一種農村生活污水的簡易處理裝置,包括凈化水箱,其特征在于,所 述凈化水箱內通過隔板依次分隔成第一吸收池、第二吸收池、凝聚沉淀池和檢 測池,所述第一吸收池設有入水口,所述檢測池設有出水口,所述檢測池底部 連接有回流管的一端,所述回流管的另一端連接至第一吸收池,所述回流管上 設有回流泵,所述第一吸收池和第二吸收池內均設有水生植物層,所述凝聚沉 淀池內設有金屬粉層,所述檢測池內設有氮、磷元素含量檢測裝置。
2.根據權利要求1所述的一種農村生活污水的簡易處理裝置,其特征在 于,所述水生植物層由鳳眼蓮、蘆葦、狹葉香蒲、加拿大海羅地、多穗尾藻、 麗藻、破銅錢中一種或多種組成。
3.根據權利要求1或2所述的一種農村生活污水的簡易處理裝置,其特 征在于,所述金屬粉層由鐵、鋁、鈣中的一種或兩種或三種組成。
說明書
一種農村生活污水的簡易處理裝置
技術領域
本實用新型涉及污水處理技術領域,特別是指一種農村生活污水的簡易處 理裝置。
背景技術
近年來,由于由于地域及經濟的差異性,一般農村還未對生活污水進行處理,生活污 水的處理,主要還是針對城市生活污水,污水處理方法主要分為活性污泥法、 生物濾池法以及生物接觸氧化法等,但是這些污水處理方法存在制造成本高、 工藝流程長,占地面積大并且不易管理,所以在很難推廣到農村。
隨著水資源的緊缺,目前農村也漸漸存在水污染日益加劇的情況,這些污 染主要還是來自于生活污水,導致農田和池塘出現富營養化的情況。
實用新型內容
本實用新型要解決的技術問題是提供一種農村生活污水的簡易處理裝置, 通過水生植物對生活<A style="TEXT-DECORATION: none" href="http://www.bnynw.com/"><FONT
color=#000000>污水</FONT></A>中的氮、磷元素進行代謝,從而達到對生活污水進行 處理的目的。
為解決上述技術問題,本實用新型的實施提供一種用于農村生活污水簡易 處理裝置,包括凈化水箱,所述凈化水箱內通過隔板依次分隔成第一吸收池、 第二吸收池、凝聚沉淀池和檢測池,所述第一吸收池設有入水口,所述檢測池 設有出水口,所述檢測池底部連接有回流管的一端,所述回流管的另一端連接 至第一吸收池,所述回流管上設有回流泵,所述第一吸收池和第二吸收池內均 設有水生植物層,所述凝聚沉淀池內設有金屬粉層,所述檢測池內設有氮、磷 元素含量檢測裝置。
作為優選,所述水生植物層由鳳眼蓮、蘆葦、狹葉香蒲、加拿大海羅地、 多穗尾藻、麗藻、破銅錢中一種或多種組成。
作為優選,所述金屬粉層由鐵、鋁、鈣中的一種或兩種或三種組成。
本實用新型的上述技術方案的有益效果如下:結構簡單,技術合理,成本 低廉,因為生活污水主要含有較高比例的氮、磷元素,導致水體富營養化,而 水生植物一般生長快,能高效吸收氮、磷元素,收割后經處理還可作為燃料、 飼料、或經發酵產生沼氣進行二次利用。







