申請日2014.11.03
公開(公告)日2015.01.28
IPC分類號B01D29/11; B01D29/60; B01D29/66; B01D29/56
摘要
本發明涉及一種壓載水處理系統用高精度全自動高壓反沖洗過濾器,包括濾器殼體,濾器殼體中設有主軸,主軸上設有粗濾排污導管裝置,粗濾排污導管裝置的外部設有精濾濾筒,濾器殼體的上部設有粗濾電機和精濾電機,粗濾排污導管裝置和精濾濾筒之間設有精濾吸污管,精濾吸污管與主軸中的精濾排污管相通,精濾濾筒的外部設有精濾反沖洗旋臂,精濾反沖洗旋臂與濾器殼體側壁上的高壓水進口相通,粗濾排污導管裝置的上下口均可通過粗濾反沖洗排污導管與主軸中粗濾排污通道相通,主軸的下端與粗濾排污口相通,濾器殼體的側壁上設有高壓出水口。本發明具有相對體積小、過濾面積大、功耗小、過濾效率高、過濾精度高、反沖洗效果好、使用壽命長的優點。
權利要求書
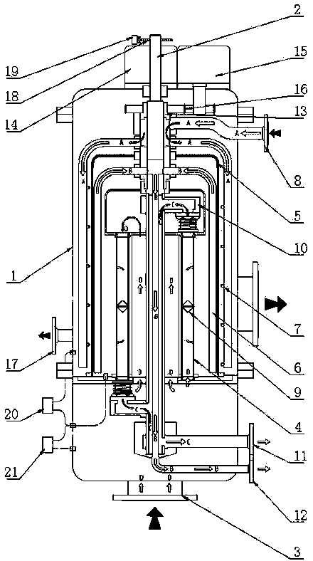
1.一種壓載水處理系統用高精度全自動高壓反沖洗過濾器,包括濾器殼體(1),所述濾器殼體(1)中設有主軸(2),所述濾器殼體(1)的底部設有濾器進口(3),其特征在于:所述主軸(2)上設有粗濾排污導管裝置(4),所述粗濾排污導管裝置(4)的外部設有精濾濾筒(5),所述精濾濾筒(5)通過軸套(13)套在所述主軸(2)上,所述濾器殼體(1)的上部設有粗濾電機(14)和精濾電機(15),所述粗濾電機(14)帶動所述主軸(2)轉動,所述精濾電機(15)通過齒輪裝置(16)帶動所述軸套(13)轉動,所述粗濾排污導管裝置(4)和所述精濾濾筒(5)置于同一水平高度,所述粗濾排污導管裝置(4)和精濾濾筒(5)之間設有精濾吸污管(6),所述精濾吸污管(6)與所述主軸(2)中的精濾排污管(12)相通,所述精濾排污管(12)的一端置于所述濾器殼體(1)的外部,所述精濾濾筒(5)的外部設有精濾反沖洗旋臂(7),所述精濾反沖洗旋臂(7)與所述濾器殼體(1)側壁上的高壓水進口(8)相通,所述粗濾排污導管裝置(4)每一個粗濾濾芯內部均設有粗濾導流裝置(9),所述粗濾排污導管裝置(4)在主軸旋轉時每個粗濾濾芯的上下口均可通過粗濾排污導管(10)與所述主軸(2)相通,所述主軸(2)的下端與粗濾排污口(11)相通,所述粗濾排污口(11)的一端置于所述濾器殼體(1)的外部,所述濾器殼體(1)的側壁上設有高壓出水口(17),所述過濾器設有配電箱。
2.根據權利要求1所述壓載水處理系統用高精度全自動高壓反沖洗過濾器,其特征在于:所述粗濾排污導管裝置(4)與所述精濾濾筒(5)置于同一濾器腔,并處于同一位置高度,所述粗濾排污導管裝置(4)和所述精濾濾筒(5)的反沖洗分別由所述粗濾電機(14)和所述精濾電機(15)控制,用于提高濾器的過濾精度及過濾水量,所述精濾濾筒(5)置于所述粗濾排污導管裝置(4)的外部,用于增加粗濾濾芯反沖洗背壓,提高粗濾濾芯反沖洗效果。
3.根據權利要求1所述壓載水處理系統用高精度全自動高壓反沖洗過濾器,其特征在于:所述粗濾排污導管裝置(4)的每一個粗濾濾芯內部均設有粗濾導流裝置(9)。
4.根據權利要求1所述壓載水處理系統用高精度全自動高壓反沖洗過濾器,其特征在于:所述主軸(2)的頂端套有光電刻度盤(18),所述光電刻度盤(18)旁設有光電開關(19),所述濾器殼體(1)的側壁上設有粗濾壓差發訊器(20)和精濾壓差發訊器(21),通過光電刻度盤(18)、光電開關(19)、粗濾壓差發訊器(20)、精濾壓差發訊器(21)和控制電路,實現對濾器反沖洗的全自動控制。
說明書
壓載水處理系統用高精度全自動高壓反沖洗過濾器
技術領域
本發明屬于船舶航運過程中的壓載水處理技術領域,是壓載水處理系統中的關鍵過濾設備。
背景技術
世界80%以上的商品貿易都是通過船舶運輸的。壓載水是船舶安全航行的重要保證,它可以保證船舶的安全、平穩和高效地運行。據估計,目前全球船舶攜帶的壓載水每年大約有120億噸,并隨著航運業的發展仍在逐年遞增中。然而壓載水也給生態環境、社會經濟和人類健康造成了威脅。每天存在于船舶壓載水中隨船周游世界的生物超過4500種。海船壓載水中的生物在全世界范圍內的遷徙所造成的生物入侵和流行病傳播等對海洋環境和人類的侵害事件屢有發生,已經引起國際社會的廣泛關注。因此國際海事組織(IMO)于2004年2月13日制定了《關于船舶壓載水及其沉積物管理和控制的國際公約》(以下簡稱《公約》)。該公約使壓載水處理系統變成國際海事組織強制安裝上船的關鍵設備和進入其他國家港口的“通行證”。所有遠洋船舶的壓載水都要滿足排放標準,才能進入目的港口。因此,海船壓載水的凈化處理相關技術及設備的研究和產業化將會對我國航運經濟產生直接影響,各航運企業迫切需要采用相關技術解決船舶壓載水排放達標的問題。
在船舶壓載水處理系統中,對壓載水的過濾是處理系統的最基本也是最重要和最關鍵的處理工序。
經市場調研獲知,全球范圍內有30多家企業單位在研發壓載水處理系統。從國外的產品看,該系統安裝的過濾裝置主要分為兩大類:
1、德國波爾過濾器為主流的產品,即燭式濾芯過濾。其市場占有率大于50%。其產品的優勢是:專為船舶壓載水系統設計配套。具有壓差控制,自動反沖洗技術優勢,過濾面積較大、體積偏大。同時其劣勢在只有一級過濾,反沖洗不徹底,濾網易腐蝕,易堵塞,維護頻率高,價格昂貴。
2、負壓吸管筒式過濾器。其優點是:反沖洗不依賴出水水頭,反沖洗效果好。缺點是:單位體積內有效過濾面積小,同等流量產品體積稍大。
從國內十幾家生產壓載水處理設備的廠家看,大部分廠家選用的過濾裝置依賴進口。其它形式的過濾器用量較少 ,且存在許多問題,主要為:
1)需要穩定的水流(水損耗大);
2)單個濾器過濾量小(最大50-60m3/h),大流量需要并聯組合,體積大結構復雜,對密度和水接近的生物和雜質無法分離,存在失效的可能。
發明內容
本發明的目的是為了克服以上的不足,提供一種相對體積小、過濾面積大、功耗小、過濾效率高、過濾精度高、反沖洗效果好、使用壽命長的壓載水處理系統用高精度全自動高壓反沖洗過濾器。
本發明的目的通過以下技術方案來實現:一種壓載水處理系統用高精度全自動高壓反沖洗過濾器,包括濾器殼體,濾器殼體中設有主軸,濾器殼體的底部設有濾器進口,主軸上設有粗濾濾芯排污導管裝置,粗濾排污導管裝置的外部設有精濾濾筒,精濾濾筒套在軸套并套在主軸上,濾器殼體的上部設有粗濾電機和精濾電機,粗濾電機帶動主軸轉動,精濾電機通過齒輪裝置帶動所述軸套轉動,粗濾排污導管裝置和精濾濾筒置于同一水平高度,粗濾排污導管裝置和精濾濾筒之間設有精濾吸污管,精濾吸污管與主軸中的精濾排污管相通,精濾排污管的一端置于濾器殼體的外部,精濾濾筒的外部套有精濾反沖洗旋臂,精濾反沖洗旋臂通過軸套與濾器殼體側壁上的高壓水進口相通,精濾吸污管和沖洗旋臂都固定在軸套上,粗濾排污導管裝置每一個粗濾濾芯內部均設有粗濾導流裝置,粗濾濾芯在主軸旋轉時粗濾濾芯的上下均通過粗濾排污導管與主軸相通,主軸的下端與粗濾排污口相通,粗濾排污口的一端置于濾器殼體的外部,濾器殼體的側壁上設有高壓出水口。
本發明的進一步改進在于:所述粗濾排污導管裝置與精濾濾筒置于同一濾器腔,并處于同一位置高度,粗濾排污導管裝置和精濾濾筒的反沖洗分別由所述粗濾電機和精濾電機分別單獨控制,用于提高濾器的過濾精度及過濾水量,精濾濾筒置于粗濾排污導管裝置的外部,用于增加粗濾濾芯反沖洗背壓,提高粗濾濾芯反沖洗效果。
本發明的進一步改進在于:所述每個粗濾濾芯內部設有粗濾導流裝置。
本發明的進一步改進在于:所述主軸的頂端套有光電刻度盤,光電刻度盤旁設有光電開關,濾器殼體的側壁上設有粗濾壓差發訊器和精濾壓差發訊器,通過光電刻度盤、光電開關、粗濾壓差發訊器、精濾壓差發訊器和控制電路,實現對濾器反沖洗的全自動控制。
本發明與現有技術相比具有以下優點:
1、粗濾芯、精濾筒布置在同一本體腔內高度,并處于同一位置高度,內部粗濾、外部精濾,充分有效地利用濾器有限的內部空間進行分級過濾,而且粗濾濾芯及精濾濾筒的反沖洗由兩個清洗電機分別控制,大大提高濾器的過濾精度及過濾水量。達到過濾面積大和產品體積小的設計目的。精濾濾筒設在粗濾濾芯外部,增加粗濾濾芯反沖洗背壓,提高粗濾濾芯反沖洗效果。
2、由于分粗濾和精濾,使主要過濾任務在粗濾階段完成,大大降低了精濾芯的工作量,延長了精濾濾網的使用壽命。
3、由于精濾芯在粗濾芯外部,能增加粗濾芯反沖洗的沖洗背壓,提高粗濾濾芯反沖洗效果。
4、由于精濾高壓噴嘴和精濾吸污管在轉動,提高了精濾芯的清洗效果。同時粗濾芯在精濾筒內,在精濾過程中產生壓降,有利于提高粗濾芯的反沖洗效果。
5、在粗濾濾芯內部,加設粗濾導流裝置,大大提高粗濾的過濾效率。
6、由于加設了粗濾壓差發訊器、精濾壓差發訊器、光電刻度盤以及光電開關,結合控制電路,能達到反沖洗的全自動控制。
7、粗濾、精濾的濾芯控制層采用高性能防腐防腐電鍍合金的工藝制造,使用壽命長。







