申請日2015.07.22
公開(公告)日2016.01.27
IPC分類號C02F11/12; C02F11/18; B01F7/04; B01F15/06
摘要
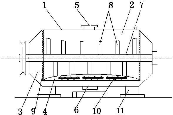
本實用新型公開了一種高效污泥干化爐,所述的污泥干化爐為圓柱形的筒體,筒體內設有橫向攪拌軸和垂直攪拌槳,筒體底部設有出料口,筒體的內部設有U型截面的干燥倉和矩形截面的攪拌倉,攪拌倉設置在干燥倉的內部,干燥倉的底部連通出料口,攪拌倉的兩側與干燥倉相連通,攪拌倉與干燥倉的連通位置上設有過濾篩網,攪拌倉的底部設有加熱層,加熱層內設有多組加熱線圈;本實用新型通過殼體內的加熱層保證了污泥對能量的充分利用,避免能量損耗,干燥效率高;同時加熱層的安裝位置特殊,不影響攪拌倉和干燥倉的正常工作,加熱層與干燥污泥的接觸面積大,方便其對污泥均勻的干燥效果,裝置操作簡單,省時省力。
權利要求書
1.一種高效污泥干化爐,所述的污泥干化爐為圓柱形的筒體,所述的筒體橫放在固定支架上,筒體內設有橫向攪拌軸和垂直攪拌槳,筒體頂部設有進料口,筒體底部設有出料口,其特征在于,所述筒體的內部設有U型截面的干燥倉和矩形截面的攪拌倉,所述的攪拌倉設置在干燥倉的內部,所述的干燥倉的底部連通出料口,所述攪拌倉的兩側與干燥倉相連通,所述攪拌倉與干燥倉的連通位置上設有過濾篩網,所述攪拌倉的底部設有加熱層,所述的加熱層內設有多組加熱線圈。
2.根據權利要求1所述的高效污泥干化爐,其特征在于,所述的加熱層的上表面為弧形表面。
3.根據權利要求2所述的高效污泥干化爐,其特征在于,所述的垂直攪拌槳均勻分布在攪拌倉內的攪拌軸上,所述的垂直攪拌槳的長度與加熱層的高度相匹配。
4.根據權利要求1所述的高效污泥干化爐,其特征在于,所述的干燥倉的兩側為圓錐形的筒體。
5.根據權利要求1所述的高效污泥干化爐,其特征在于,所述的攪拌倉的垂直高度為筒體垂直高度的4/5~5/6。
說明書
高效污泥干化爐
技術領域
本實用新型涉及污泥的回收領域設備領域,尤其涉及一種干燥效率高的污泥干化爐。
背景技術
污泥中的水分一般在80%,烘干后終水分為10~50%,一般污泥要求在30%左右,污泥在干燥過程中一般會采用污泥干化爐,通過干化爐將污泥中多余的水分去除,得到直徑較小叫的干燥污泥顆粒;干燥的污泥顆粒可用于為其他化工產品的生產原料。
但是在實際操作過程中,大部分的干燥設備的加熱系統設置在其爐體的外側,因此為了保證能量的充分利用,需要在加熱系統的外側添加輔助的保溫層,而本身保溫層存在這一定的保溫效果,而加熱層本身溫度較高,在長時間的工作情況下,還是存在能量損耗的問題;同時部分加熱裝置的保溫層設置在殼體的內側,能量利用率高,但是由于污泥在干燥過程中本身是需要攪拌的,添加在殼體的內側的加熱層影響污泥的攪拌工作,導致污泥在干燥過程中存在受熱不均的情況。
發明內容
針對上述存在的問題,本實用新型目的在于提供一種干燥效率高,能量充分利用,干燥均勻的污泥干化爐。
為了達到上述目的,本實用新型采用的技術方案如下:一種高效污泥干化爐,所述的污泥干化爐為圓柱形的筒體,所述的筒體橫放在固定支架上,筒體內設有橫向攪拌軸和垂直攪拌槳,筒體頂部設有進料口,筒體底部設有出料口,所述筒體的內部設有U型截面的干燥倉和矩形截面的攪拌倉,所述的攪拌倉設置在干燥倉的內部,所述的干燥倉的底部連通出料口,所述攪拌倉的兩側與干燥倉相連通,所述攪拌倉與干燥倉的連通位置上設有過濾篩網,所述攪拌倉的底部設有加熱層,所述的加熱層內設有多組加熱線圈。
作為本實用新型的一種改進,所述的加熱層的上表面為弧形表面;通過弧形表面方便加熱層與攪拌倉內污泥的之間的充分接觸,方便污泥充分利用加熱層中的熱量。
作為本實用新型的一種改進,所述的垂直攪拌槳均勻分布在攪拌倉內的攪拌軸上,所述的垂直攪拌槳的長度與加熱層的高度相匹配;通過垂直攪拌槳攪動攪拌倉內的污泥,方便各個位置上污泥均勻的干燥效果,同時由于加熱層的上表面為弧形表面,為了防止垂直攪拌槳與其發生摩擦,攪拌倉中部的垂直攪拌槳的長度較短,攪拌倉兩側的垂直攪拌槳長度較長。
作為本實用新型的一種改進,所述的干燥倉的兩側為圓錐形的筒體;通過圓錐形的筒體不僅方便固定攪拌軸,方便攪拌軸在筒體內穩定的工作,同時錐形殼體方便由攪拌倉排出的污泥顆粒快速的進入干燥倉的底部,在干燥倉的底部再次干燥后通過出料口出料,提高裝置的出料效率。
作為本實用新型的一種改進,所述的攪拌倉的垂直高度為筒體垂直高度的4/5~5/6;為了保證裝置適用于大批量的污泥干燥,攪拌倉的體積不能過小,而其體積也能過大,過大的體積使得干燥倉的體積縮小,不僅影響干燥倉的干燥效率,同時影響污泥顆粒的出料效率。
本實用新型的優點在于:本實用新型通過添加在殼體內的加熱層,保證了污泥在干燥過程中對能量的充分利用,避免了不必要的能量損耗,干燥效率高;同時通過加熱層特殊的安裝位置,不影響攪拌倉和和干燥倉的正常工作,加熱層與干燥污泥的接觸面積大,方便其對污泥均勻的干燥效果,同時裝置本身進料和出料方便,操作簡單,省時省力。







