申請日2015.07.22
公開(公告)日2015.12.09
IPC分類號B01D36/04
CPC分類號
摘要
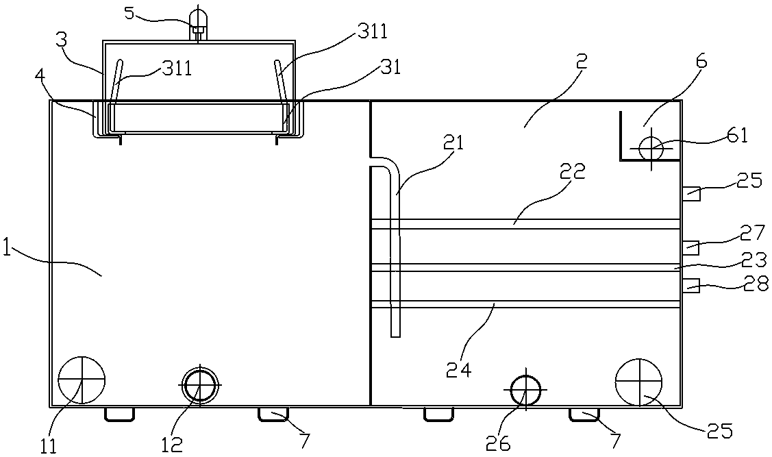
一種雨水處理裝置,其通過接籃盒內設有一用于過濾第一進水管中的雨水的接渣籃對雨水進行第一次過濾,可將雨水中大的漂浮物截留,泥沙等沉入過濾水箱的底部,過濾后的雨水通過第二進水管進入沉淀水箱,由于沉淀水箱內從上至下依次設有第一過濾板、第二過濾板及第三過濾板,第二進水管依次穿設于第一過濾板、第二過濾板及第三過濾板并伸入沉淀水箱的底部,這樣,可使得經過過濾水箱過濾后的雨水在沉淀水箱內進一步經過第一過濾板、第二過濾板及第三過濾板過濾和沉淀,從而可對進入沉淀水箱的雨水中的泥沙等進一步進行多級過濾和沉淀,可在雨水的不間斷流動下實現對其及時的有效過濾處理,從而可提高雨水利用效果。
權利要求書
1.一種雨水處理裝置,其特征在于,包括一過濾水箱和一沉淀水箱,所述過濾水箱上設有一接籃盒,所述接籃盒通過一接籃盒托件固定在所述過濾水箱上,所述接籃盒的盒蓋上設有一用于將雨水導流到所述過濾水箱的第一進水管,所述接籃盒內設有一用于過濾所述第一進水管中的雨水的接渣籃,所述接渣籃的兩側邊分別設有一用于將所述接渣籃放入所述接籃盒內或從所述接籃盒內取出的把手;所述沉淀水箱設有用于將所述過濾水箱中的雨水導流到所述沉淀水箱的第二進水管,所述沉淀水箱內從上至下依次設有第一過濾板、第二過濾板及第三過濾板,所述第二進水管依次穿設于所述第一過濾板、第二過濾板及第三過濾板并伸入所述沉淀水箱的底部,所述沉淀水箱一側的上部設有一溢流盒,所述溢流盒的底部開設有一用于將溢流到所述溢流盒中的雨水排出的第一排水口,所述沉淀水箱側壁上設有一用于將所述沉淀水箱中的雨水排到蓄水池中的第二排水口且所述第二排水口位于所述溢流盒和第一過濾板之間。
2.根據權利要求1所述的雨水處理裝置,其特征在于,所述過濾水箱的底部和所述沉淀水箱的底部分別設有至少兩個呈直線排列的加強筋。
3.根據權利要求1所述的雨水處理裝置,其特征在于,所述過濾水箱下部分別設有一用于將所述過濾水箱中的污水排放出去的第三排水口和一用于掏取所述過濾水箱內渣滓的第一掏渣口。
4.根據權利要求1所述的雨水處理裝置,其特征在于,所述沉淀水箱下部分別設有一用于將所述沉淀水箱中的污水排放出去的第四排水口和一用于掏取所述沉淀水箱內渣滓的第二掏渣口。
5.根據權利要求1所述的雨水處理裝置,其特征在于,所述第一過濾板、第二過濾板及第三過濾板上均設有過濾孔且所述第一過濾板上的過濾孔的孔徑小于所述第二過濾板上的過濾孔的孔徑,所述第二過濾板上的過濾孔小于所述第三過濾板上的過濾孔的孔徑。
6.根據權利要求1所述的雨水處理裝置,其特征在于,所述沉淀水箱還設有一第三掏渣口,所述第三掏渣口位于所述第一過濾板與所述第二過濾板之間的所述沉淀水箱的側壁上。
7.根據權利要求1所述的雨水處理裝置,其特征在于,所述沉淀水箱還設有一第四掏渣口,所述第三掏渣口位于所述第二過濾板與所述第三過濾板之間的所述沉淀水箱的側壁上。
說明書
一種雨水處理裝置
技術領域
本實用新型涉及水處理技術領域,尤其涉及一種雨水處理裝置。
背景技術
作為地面及地下水源的一種有力補充,雨水不僅可用于植被灌溉等,對其進行匯集利用更是具有很好的經濟效益和現實意義。目前人們對雨水的匯集利用,往往是采用儲水池先對其進行歸集并進行自然沉降處理,然后再添加藥劑等以進行進一步的處理。由于雨水在沿地面流動過程中摻雜進大量的懸浮物及污泥,因而采用沉降處理的方式,往往需要經常對儲水池進行清淤處理,同時這種處理方式處理效率也很低,不能滿足雨水的及時利用,或者是需要建立很大容積的儲水池,因而降低了雨水的利用效果。
實用新型內容
本實用新型的目的在于克服上述現有技術的不足,提供一種可及時有效地出來雨水,以提高對雨水的利用效果的雨水處理裝置。
本實用新型是這樣實現的,一種雨水處理裝置,包括一過濾水箱和一沉淀水箱,所述過濾水箱上設有一接籃盒,所述接籃盒通過一接籃盒托件固定在所述過濾水箱上,所述接籃盒的盒蓋上設有一用于將雨水導流到所述過濾水箱的第一進水管,所述接籃盒內設有一用于過濾所述第一進水管中的雨水的接渣籃,所述接渣籃的兩側邊分別設有一用于將所述接渣籃放入所述接籃盒內或從所述接籃盒內取出的把手;所述沉淀水箱設有用于將所述過濾水箱中的雨水導流到所述沉淀水箱的第二進水管,所述沉淀水箱內從上至下依次設有第一過濾板、第二過濾板及第三過濾板,所述第二進水管依次穿設于所述第一過濾板、第二過濾板及第三過濾板并伸入所述沉淀水箱的底部,所述沉淀水箱一側的上部設有一溢流盒,所述溢流盒的底部開設有一用于將溢流到所述溢流盒中的雨水排出的第一排水口,所述沉淀水箱側壁上設有一用于將所述沉淀水箱中的雨水排到蓄水池中的第二排水口且所述第二排水口位于所述溢流盒和第一過濾板之間。
進一步地,所述過濾水箱的底部和所述沉淀水箱的底部分別設有至少兩個呈直線排列的加強筋。
進一步地,所述過濾水箱下部分別設有一用于將所述過濾水箱中的污水排放出去的第三排水口和一用于掏取所述過濾水箱內渣滓的第一掏渣口。
進一步地,所述沉淀水箱下部分別設有一用于將所述沉淀水箱中的污水排放出去的第四排水口和一用于掏取所述沉淀水箱內渣滓的第二掏渣口。
進一步地,所述第一過濾板、第二過濾板及第三過濾板上均設有過濾孔且所述第一過濾板上的過濾孔的孔徑小于所述第二過濾板上的過濾孔的孔徑,所述第二過濾板上的過濾孔小于所述第三過濾板上的過濾孔的孔徑。
進一步地,所述沉淀水箱還設有一第三掏渣口,所述第三掏渣口位于所述第一過濾板與所述第二過濾板之間的所述沉淀水箱的側壁上。
進一步地,所述沉淀水箱還設有一第四掏渣口,所述第三掏渣口位于所述第二過濾板與所述第三過濾板之間的所述沉淀水箱的側壁上。
本實用新型提供的雨水處理裝置,通過接籃盒內設有一用于過濾第一進水管中的雨水的接渣籃對雨水進行第一次過濾,可將雨水中大的漂浮物截留,泥沙等沉入過濾水箱的底部,過濾后的雨水通過第二進水管進入沉淀水箱,由于沉淀水箱內從上至下依次設有第一過濾板、第二過濾板及第三過濾板,第二進水管依次穿設于第一過濾板、第二過濾板及第三過濾板并伸入沉淀水箱的底部,這樣,可使得經過過濾水箱過濾后的雨水在沉淀水箱內進一步經過第一過濾板、第二過濾板及第三過濾板過濾和沉淀,從而可對進入沉淀水箱的雨水中的泥沙等進一步進行多級過濾和沉淀,可在雨水的不間斷流動下實現對其及時的有效過濾處理,從而可提高雨水利用效果。







