申請日2015.07.22
公開(公告)日2015.11.18
IPC分類號B01D24/46; B01D24/10
摘要
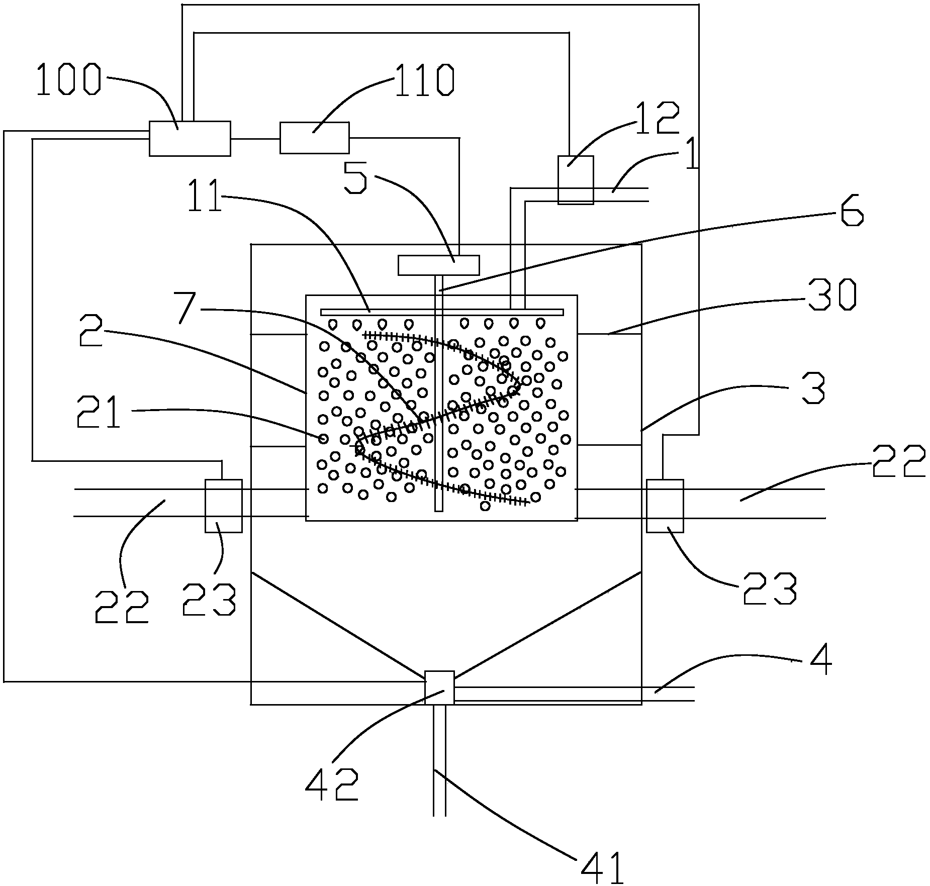
本發明提供一種農村家用型水處理設備自動反沖洗初濾系統,其包括過濾系統:進水口、內置有過濾介質的內膽、系統外殼,所述內膽的底面和周向壁由出水網構成,所述外殼設置于所述內膽外,其底部設有出水口;進水口與內膽連通,由出水網出的水由外殼的底部向下流出;還包括反沖洗系統:驅動電機、與驅動電機相連的驅動機構、與驅動機構相連的設置于內膽內的清洗刷,驅動電機通過驅動機構帶動清潔刷旋轉,攪動并清洗過濾介質;設置于內膽的底部的至少兩個排污口,該至少兩個排污口和內膽通過電磁閥控制通斷;設置于出水口處的底部排污口,該底部排污口和所述外殼通過雙向電磁閥控制通斷。本發明可有效改善農村家用型水處理設備的使用壽命和使用效果。
權利要求書
1.一種農村家用型水處理設備自動反沖洗初濾系統,其特征在于:
其包括過濾系統:
進水口、內置有過濾介質的內膽、系統外殼,所述內膽的底面和周向壁由 出水網構成,所述外殼設置于所述內膽外,其底部設有出水口;所述進水口與 所述內膽連通,由所述出水網出的水由所述外殼的底部向下流出;
還包括反沖洗系統:
單片機、與單片機連接的外部電路模塊、驅動電機、與驅動電機的輸出端 相連的驅動機構、與所述驅動機構相連的設置于所述內膽內的清洗刷,所述單 片機通過一驅動電機導向開關與所述驅動電機連接,控制所述驅動電機通過所 述驅動機構帶動所述清潔刷以設定的頻率正向反向交互地旋轉,攪動并清洗所 述過濾介質;設置于所述內膽的底部的至少兩個排污口,所述至少兩個排污口 和所述內膽分別通過電磁閥控制通斷;設置于所述出水口處的底部排污口,所 述底部排污口和所述外殼通過雙向電磁閥控制通斷;所述電磁閥和所述雙向電 磁閥均與所述單片機信號連接,由所述單片機控制其開關。
2.根據權利要求1所述的農村家用型水處理設備自動反沖洗初濾系統,其 特征在于:所述過濾介質為可被攪動的輕質介質。
3.根據權利要求1所述的農村家用型水處理設備自動反沖洗初濾系統,其 特征在于:
所述內膽內的過濾介質頂部設有與內膽內徑相匹配的圓形出水花灑,所述 進水口和所述該圓形出水花灑連通,所述圓形出水花灑向所述內膽內的過濾介 質噴灑待處理水。
4.根據權利要求1所述的農村家用型水處理設備自動反沖洗初濾系統,其 特征在于:
所述外殼的下部為漏斗型,所述出水口設置于漏斗底部,由所述出水網出 來的水進入所述外殼和出水網之間,向下流入所述漏斗內,通過所述出水口流 出。
5.根據權利要求1所述的農村家用型水處理設備自動反沖洗初濾系統,其 特征在于:
所述進水口處還設有加壓泵,其用于反沖洗系統工作時,對進水口進水的 增壓,所述加壓泵和所述單片機電連接及信號連接。
6.根據權利要求1所述的農村家用型水處理設備自動反沖洗初濾系統,其 特征在于:
當所述過濾系統工作時,所述雙向電磁閥關閉所述底部排污口,常開所述 出水口;當所述反沖洗系統工作時,所述雙向電磁閥關閉所述出水口,常開所 述底部排污口。
7.根據權利要求5所述的農村家用型水處理設備自動反沖洗初濾系統,其 特征在于:
所述內膽內部還設有壓力傳感器,其與所述單片機連接,用于感應內膽內 的水壓,所述進水口處還設有調壓電磁閥,其與所述單片機連接,所述單片機 根據壓力傳感器的感應結果調節所述加壓泵的開關和/或輸出功率,和/或,調節 所述調壓電磁閥的進水壓力。
8.根據權利要求1所述的農村家用型水處理設備自動反沖洗初濾系統,其 特征在于:
所述清洗刷為螺旋形。
9.一種權利要求1至8任一所述的農村家用型水處理設備動反沖洗初濾系 統的反沖洗方法,其特征在于:其包括以下步驟:
S1、對所述進水口的進水進行加壓,使水壓達到既定要求;
S2、打開所述至少兩個排污口處的電磁閥和用于開通所述底部排污口的雙 向電磁閥;
S3、啟動所述驅動電機,使所述驅動電機通過所述驅動機構帶動所述清洗 刷以既定的頻率正向、反向交互地攪動所述過濾介質,以及所述進水口進水對 所述過濾介質進行沖洗;
S4、所述排污口和/或底部排污口出水清潔時,關閉所述驅動電機、加壓泵、 所述至少兩個排污口及所述底部排污口;
或者,上述S1-S3同時進行。
10.根據權利要求9所述的農村家用型水處理設備動反沖洗初濾系統的反 沖洗方法,其特征在于:所述加壓泵對所述進水加壓至至少0.25Kpa。
說明書
農村家用型水處理設備自動反沖洗初濾系統
技術領域
本發明涉及水處理技術領域,具體涉及一種農村家用型水處理設備自動反 沖洗初濾系統。
背景技術
在我國很多的農村地區,飲用水的水質還得不到保障,常常需要家用型水 處理設備對自來水或井水進行過濾。
現有的家用型水處理設備一般包括自上而下三個部分:初濾系統、濾料系 統及紫外線消毒系統,初濾系統一般采用石英砂作為過濾介質,由于農村供水 管網中沒有對有機質和泥沙量的有效的初濾,因此,容易導致初濾系統的堵塞, 或者影響初濾系統的納污容量和納污時間,同時,使得濾料系統的外殼被有機 質、泥沙等雜質的損害,降低了濾料的除氟效果。
因此,有必要對現有的初濾系統進行改造,使其具有更強的初濾功能,從 而延長自身壽命和工作效果,改善濾料系統的工作負擔,從而從根本上改善農 村飲用水的質量。
發明內容
有鑒于背景技術所述,本發明的目的是提供一種可以有效提高農村家用型 水處理設備中的初濾系統的過濾能力和納污時間的新型設備。
本發明的目的是通過以下技術方案實現的:
一種農村家用型水處理設備自動反沖洗初濾系統,
其包括過濾系統:
進水口、內置有過濾介質的內膽、系統外殼,所述內膽的底面和周向壁由 出水網構成,所述外殼設置于所述內膽外,其底部設有出水口;所述進水口與 所述內膽連通,由所述出水網出的水由所述外殼的底部向下流出;
還包括反沖洗系統:
單片機、與單片機連接的外部電路模塊、驅動電機、與驅動電機的輸出端 相連的驅動機構、與所述驅動機構相連的設置于所述內膽內的清洗刷,所述單 片機通過一驅動電機導向開關與所述驅動電機連接,控制所述驅動電機通過所 述驅動機構帶動所述清潔刷以設定的頻率正向反向交互地旋轉,攪動并清洗所 述過濾介質;設置于所述內膽的底部的至少兩個排污口,所述至少兩個排污口 和所述內膽分別通過電磁閥控制通斷;設置于所述出水口處的底部排污口,所 述底部排污口和所述外殼通過雙向電磁閥控制通斷;所述電磁閥和所述雙向電 磁閥均與所述單片機信號連接,由所述單片機控制所述其開關。
優選的,所述過濾介質為容易被所述清洗刷攪動的輕質介質,例如:PP棉。
優選的,所述內膽內的過濾介質頂部設有與內膽內徑相匹配的圓形出水花 灑,所述進水口和所述該圓形出水花灑連通,所述圓形出水花灑向所述內膽內 的過濾介質噴灑待處理水。
優選的,所述外殼的下部為漏斗型,所述出水口設置于漏斗底部,由所述 出水網出來的水進入所述外殼和出水網之間,向下流入所述漏斗內,通過所述 出水口流出。
優選的,所述進水口處還設有加壓泵,其用于反沖洗系統工作時,對進水 口進水的增壓,所述加壓泵和所述單片機電連接及信號連接
優選的,所述內膽內部還設有壓力傳感器,其與所述單片機連接,用于感 應內膽內的水壓,所述進水口處還設有調壓電磁閥,其與所述單片機連接,所 述單片機根據壓力傳感器的感應結果調節所述加壓泵的開關和/或輸出功率,和/ 或,調節所述調壓電磁閥的進水壓力。優選的,當所述過濾系統工作時,所述 雙向電磁閥關閉所述底部排污口,常開所述出水口;當所述反沖洗系統工作時, 所述雙向電磁閥關閉所述出水口,常開所述底部排污口。
優選的,所述內膽和所述外殼通過二者之間的固定架相連接固定。
優選的,所述清洗刷為螺旋形。
本發明還提供一種所述農村家用型水處理設備自動反沖洗初濾系統的反沖 洗方法,其包括以下步驟:
S1、對所述進水口的進水進行加壓,使水壓達到既定要求;
S2、打開所述至少兩個排污口處的電磁閥和用于開通所述底部排污口的雙 向電磁閥;
S3、啟動所述驅動電機,使所述驅動電機通過所述驅動機構帶動所述清洗 刷以既定的頻率正向、反向交互地攪動所述過濾介質,以及所述進水口進水對 所述過濾介質進行沖洗;
S4、所述排污口和/或底部排污口出水清潔時,關閉所述驅動電機、加壓泵、 所述至少兩個排污口及所述底部排污口;
或者,上述S1-S3同時進行。
優選的,所述加壓泵對所述進水加壓至至少0.25Kpa,反沖洗時間為10分 鐘。
相對于現有技術,本發明的優點包括:
本發明的初濾系統具有反沖洗系統,在農村水質較差的情況下,可以避免 初濾系統長時間被有機物、泥沙等雜質堆積、污染造成經水處理設備處理后的 水質不達標,同時可以避免初濾系統納污容量減小、使用壽命縮短造成的損失, 既節約了成本,又改善了農村用水的水質,保證了農村生活用水的安全,在廣 大的農村有很大的推廣價值。







