申請日2015.10.19
公開(公告)日2017.04.26
IPC分類號C02F3/30
摘要
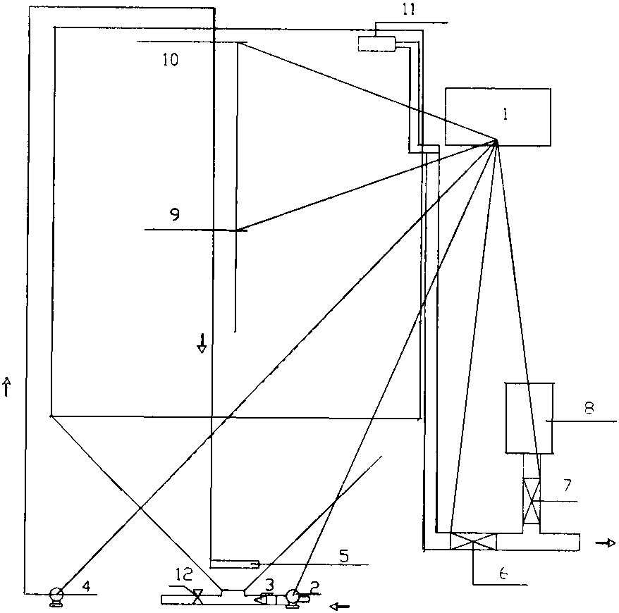
本發明公開了一種智能移動式農村生活污水處理方法及裝置,這種方法及裝置按以下過程進行:1、用鐵、塑料或玻璃鋼制成帶攪拌容器,下口接排污閥另一端與進水泵單向閥連通,排水內連浮動出水口外接電磁閥與消毒劑罐相通,安裝水位計;2、曝氣泵管于容器底部安裝曝氣頭,載體吊掛于液下支架上;3、控制點與中樞箱連通輸入數據需時排污;4、開啟電源按程序污水經水泵單向閥入容器至上水位計進行厭氧,經曝氣為有氧、沉淀至浮動出水口電磁閥、下水位計為排水與消毒。
權利要求書
1.一種智能移動式農村生活污水處理方法及裝置,其特征在于:這種處理方法及裝置按以下過程進行:
A、裝置的制備:用鐵、塑料或玻璃鋼制成圓型帶攪拌防腐容器,下端錐體與三通連接一端接排污閥另一端與進水泵單向閥連通,在適宜處開出水口內連浮動出水口外接電磁閥并串接帶三通電磁閥與消毒劑罐相通,安裝上下水位計;
B、曝氣泵管于容器底部安裝曝氣頭,載體吊掛于液下支架上;
C、各控制點與中樞箱連通并輸入各工序所需數據,需要時排污;
D、開啟中樞箱電源,按程序污水經水泵單向閥流入容器至上水位計止進行厭氧,經曝氣泵曝氣頭入有氧、沉淀和浮動出水口并連電磁閥打開至下水位計止為排水與消毒。
說明書
一種智能移動式農村生活污水處理方法及裝置
一、技術領域
本發明涉及一種污水處理和生物脫氮活性載體技術集成設計和智能化應用的方法及裝置。
二、技術背景
當前采用生物脫氮的方法有A/O、A2/O、SBR和短程硝化與厭氧氨氧化相集合的技術,這些都是應用微生物構成的菌膠團及絲狀菌和微型動物形成的污泥團。在實驗研究方面得到較好的結果,規模化的應用仍然存在不同程度缺陷。
在廣大農村和分散地區由于生活習慣不同,區域規劃村鎮建設運行費用和資金來源受到限制,實現與城市一樣現代污水處理技術十分困難。由于有了生物脫氮活性載體技術的生產方法,使生物接觸氧化法的生物脫氮載體技術向前邁進一大步,該載體可在進水、厭氧、有氧、沉淀、出水等各工序應用,這就增加生物脫氮能力,縮短和縮小了處理時間、面積和體積,高效的發揮了生物脫氮技術的潛力。
本技術是應用單片機、計數器、計時器和多個繼電器進行邏輯控制構成中樞箱,將現代污水處理和生物脫氮活性載體技術集成設計和智能化應用的一種方法及裝置,從而實現污水處理自動進水、厭氧、有氧、沉淀和出水全過程的智能化,運行是按中樞箱預先設定的數據向各執行器發出指令,裝置就可按程序運行。
三、發明內容
本發明的目的在于提供一種智能移動式農村生活污水處理方法及裝置,這種處理方法及裝置是按以下過程進行:
1、裝置的制備:用鐵、塑料或玻璃鋼制成圓型帶攪拌防腐容器,下端錐體與三通連接一端接排污閥另一端與進水泵單向閥連通,在適宜處開出水口內連浮動出水口外接電磁閥并串接帶三通電磁閥與消毒劑罐相通,安裝上下水位計;
2、曝氣泵管于容器底部安裝曝氣頭,載體吊掛于液下支架上;
3、各控制點與中樞箱連通并輸入各工序所需數據,需要時排污;
4、開啟中樞箱電源,按程序污水經水泵單向閥流入容器至上水位計止進行厭氧,經曝氣泵曝氣頭入有氧、沉淀和浮動出水口并連電磁閥打開至下水位計 止為排水與消毒。







