礦山酸性廢水pH低且含有大量重金屬,若未經處理排入江河湖泊會導致水質酸化,降低水體的自凈功能。目前處理礦山酸性廢水的方法主要有中和法、硫化物沉淀法、離子交換法、吸附法、膜分離法、人工濕地法和微生物法等。中和法工藝簡單、處理成本低,但效果較差、沉渣量大;硫化物沉淀法效果好,但處理流程長,價格昂貴;離子交換法適于處理污染物濃度低、水量小、出水要求高的廢水,故適合作為深度處理方法;膜分離法還處于起步階段,且投資較大;人工濕地法在一些發達國家被廣泛用來處理礦山酸性外排水,該法投資少,運行費用低,但占地面積大,受環境因素影響明顯,酸度較高時處理廢水有一定的局限性;生物法的研究多處在實驗室階段,尚未大規模普及。而吸附法因吸附劑對水量及水質變化有較強的抗沖擊能力,且吸附后可以再生,不易造成二次污染,來源廣泛,有較好的經濟性。近年來,利用吸附劑處理重金屬廢水成為研究熱點,其中又以一些新型價廉的環境礦物吸附材料和農林廢棄物的研發應用成為目前研究的重點。國內外一些研究表明,粉煤灰、膨潤土、花生殼、木材鋸屑、椰殼粉等對重金屬離子具有較好的吸附效果,但仍然存在一些問題,如如何提高粉煤灰、膨潤土的吸附容量、灰水分離和處理等。
筆者以廣東省清遠市某金礦區廢水為研究對象,在充分調研和參考前人研究的基礎上,以石灰作為中和劑,花生殼、改性花生殼、玉米芯、粉煤灰+花生殼作為吸附劑,對模擬含重金屬酸性廢水進行處理。試驗選用的中和劑和吸附劑來源較廣泛,價格低廉,用于處理含重金屬酸性廢水具有一定的應用價值。
1 材料與方法
1.1 試驗材料
試驗所用水樣采自廣東省清遠市某金礦區排水,石灰從市場購買,粉煤灰取自廣州某燃煤電廠,花生殼、玉米芯從某農貿市場購買。將花生殼、玉米芯洗凈、烘干,用粉碎機粉碎過2 mm篩,用密封袋保存備用。粉煤灰和石灰的理化性質見表 1。
表1 粉煤灰和石灰理化性質
![]()
1.2 改性花生殼的制備
花生殼的改性方法有酸改性法、堿改性法、有機化合物改性法等,目的是增加其表面的陰離子基團,目前應用最多的是酸改性法。改性花生殼的制備步驟如下:稱取50 g過2 mm篩并經水洗的花生殼,置于2.5 L大燒杯中,加入500 mL 1 mol/L磷酸溶液,攪拌1 h,離心去除液體部分,在50 ℃下烘干,然后升溫至180 ℃加熱1.5 h。經上述處理后的花生殼用75 ℃去離子水清洗去除游離的磷酸,然后在50 ℃下烘干備用。
1.3 試驗方法
(1)石灰中和。采取3組不同梯度投加量的石灰進行中和,投加量分別為10、20、30 g/L。取500 mL廢水置于1 000 mL錐形瓶,按設置的不同投加量把石灰投加到尼龍袋,然后放入廢水中,在恒溫振蕩機上振蕩1 h后過濾,收集濾液,測定pH和重金屬含量。分析石灰投加量對廢水pH和各類重金屬去除率的影響。
(2)吸附劑吸附。參考前人研究成果,當生物質吸附劑的用量為10~20 g/L時對重金屬有較好的去除效果,基于此,對吸附劑的投加量進行設計,見表 2。取上一步石灰中和后的水樣200 mL置于 500 mL錐形瓶中,按表 2的投加量將吸附劑置于尼龍袋中,然后放入廢水中,在恒溫振蕩機上振蕩1 h后過濾,收集濾液,測定pH和重金屬含量。
表2 不同吸附劑的投加量

所有試驗均設置空白對照和重復試驗,廢水中的重金屬采用HNO3-HClO4消解,等離子光譜儀(ICP-OES,OPTIMA 5300DV)測定消解液中重金屬含量。所得數據均為各重復試驗的平均值,原始數據的整理由Excel軟件完成,采用Origin 8.0軟件作圖。
2 結果與討論
2.1 廢水水質分析
對采集的礦區水樣進行分析,結果見表 3。
表3 廢水水質檢測結果

由表 3可知,該水樣呈強酸性,總氮、SO42-、As、Cd、Pb、Zn均不同程度地超過地表水Ⅲ類標準要求(GB 3838—2002)。可見該水樣屬于典型的重金屬污染礦山酸性廢水。
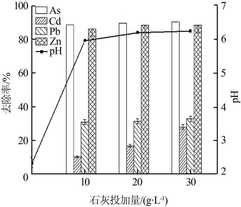
2.2 石灰投加量對pH的影響及對重金屬的去除效果
石灰投加量對廢水pH的影響及對重金屬的去除效果如圖 1所示。從圖 1可以看出,投加石灰后水樣pH顯著上升,當石灰投加量為20 g/L時,pH升高到6.21,已達到地表水Ⅲ類標準規定的pH(6~9),說明石灰能較好地中和酸性廢水。

圖 1 石灰投加量對廢水pH和重金屬去除效果的影響
投加石灰中和處理后,各組處理廢水中As、Cd、Pb、Zn含量如表 4所示。從圖 1、表 4可以看出,石灰對As、Cd、Pb、Zn都有一定的去除效果,其中對As和Zn的去除效果最好,從去除率看As>Zn>Pb>Cd。當石灰投加量為20g/L時,對As、Zn的去除率分別達到89.7%、88.5%,對Cd、Pb的去除率分別為16.8%、31.4%。這可能是由于石灰與重金屬離子形成了氫氧化物沉淀,減少了廢水中的重金屬含量。石灰投加量的增加對重金屬離子去除率的提高并不明顯。這可能是因為石灰投加量增加使廢水達到飽和狀態,生成較多的重金屬氫氧化物——礬花,使得中和渣體積增大,沉降速度降低,同時石灰有可能被沉淀包裹,降低了去除效果。由于廢水中重金屬含量比較高,經石灰中和處理后出水水質仍然達不到地表水Ⅲ類標準,因此需進一步處理。
表4 石灰中和處理后廢水的重金屬質量濃度

2.3 吸附劑對pH的影響
按照表 2的投加量,采用不同吸附劑對20 g/L石灰處理后的水樣進行吸附,吸附完成后廢水pH的變化情況如圖 2所示。從圖 2可以看出,花生殼和改性花生殼對廢水pH的影響較小,而玉米芯和花生殼混合粉煤灰對廢水pH有一定影響,當花生殼與粉煤灰按質量比2∶1投加后,廢水pH升高到6.63,說明粉煤灰能一定程度地提高廢水pH。這可能是因為粉煤灰中還含有CaO和其他少量堿金屬氧化物及堿土金屬氧化物,會使溶液呈堿性,從而提高廢水pH。高偉等認為pH對吸附劑吸附重金屬有較強影響,當pH較低時大量的H+會占據金屬離子的吸附位置,導致吸附劑對重金屬離子的吸附能力較低,pH過高時金屬離子又易生成氫氧化物沉淀,也不利于吸附的進行。

圖 2 吸附劑對廢水pH的影響
2.4 吸附劑對重金屬的去除效果
采用不同吸附劑對20 g/L石灰處理后的水樣進行吸附,處理完成后廢水中重金屬含量和去除率如表 5所示。從表 5可以看出,4種吸附劑對重金屬都有一定的去除效果,其中對Pb和Zn的去除效果最好,投加一定量的吸附劑能使Pb、Zn的含量低于地表水Ⅲ類標準要求值。當吸附劑投加量為20 g/L時,不同吸附劑對As、Cd的去除效果為花生殼+粉煤灰>改性花生殼>花生殼>玉米芯;對Pb的去除效果為花生殼+粉煤灰>玉米芯>改性花生殼>花生殼;對Zn的去除效果為花生殼+粉煤灰>花生殼>改性花生殼>玉米芯。由此可見,花生殼+粉煤灰對重金屬的去除效果最好,改性花生殼對As、Cd、Pb的去除效果比花生殼好。這可能是因為花生殼中含有兒茶酚、焦性沒食子酸和間苯三酚等多元酚以及大量的纖維素類物質,對重金屬具有較強的吸附能力。相關研究也證實花生殼等對重金屬有較好的吸附能力。在本試驗條件下,投加一定量的吸附劑對As、Pb、Zn的去除率可達到60%以上。

農林廢棄物如花生殼、玉米芯、秸稈等表面粗糙、內部多孔,含有羥基、酚羥基、羧基、氨基等基團,有利于對重金屬的吸附;廢棄物中的H+、Ca2+、Mg2+等有利于與污染物離子發生離子交換,且農林廢棄物中含有高活性的化學基團,對其進行改性和化學修飾可提高官能團的數量或增加新的官能團。章明奎等研究發現非活體生物質對重金屬都有較高吸附能力,5種生物質吸附重金屬的能力依次為:花生殼>松樹樹皮>玉米芯>水稻谷殼>茶葉。用堿、檸檬酸和磷酸對生物質進行改性可顯著增強其對重金屬的去除能力,通過化學改性不僅可在農林廢棄物中引入羧基,還可將巰基、磷酸根、硫酸根、胺基等其他吸附金屬能力強的活性基團引入農林廢棄物中,從而提高其對重金屬的吸附能力,筆者的研究結果也證實了這一點。
花生殼混合粉煤灰能顯著提高對重金屬的去除率,可能是因為粉煤灰表面積大,同時含有大量Al、Si等氧化物及少量Fe、Ca等氧化物,具有活性基團,因而具有很好的吸附性能。花生殼和粉煤灰各自都有一定吸附能力,混合投加后吸附性能得到一定程度的改善,因此可增強其對重金屬的去除效果。試驗結果表明,廢水經石灰中和處理后,再用花生殼+粉煤灰吸附,對As、Cd、Pb、Zn的去除率分別達到96.5%、44.9%、85.4%、97.2%,當投加量適宜時,能使廢水中的Pb、Zn等達到地表水Ⅲ類標準限值,且材料來源比較廣泛,價格低廉,以廢治廢,具有良好的環境效益。具體參見http://www.bnynw.com更多相關技術文檔。
3 結論
(1)該礦區廢水呈強酸性,重金屬As、Cd、Pb、Zn均不同程度地超過地表水Ⅲ類標準(GB 3838— 2002)要求,As最高超標倍數達到50.2倍。(2)采用石灰中和處理后,廢水pH顯著升高,同時石灰對As、Cd、Pb、Zn都有一定的去除效果。(3)當投加量為20 g/L時,不同吸附劑對As、Cd、Zn的去除效果為花生殼+粉煤灰>改性花生殼>花生殼>玉米芯;對Pb的去除效果為花生殼+粉煤灰>玉米芯>改性花生殼>花生殼。可見花生殼+粉煤灰對重金屬的去除效果最好,花生殼經改性能一定程度地提高對重金屬的吸附。(4)礦區廢水經石灰中和處理后,再用花生殼+粉煤灰吸附,廢水pH升高至6.63,重金屬As、Cd、Pb、Zn的去除率達到96.5%、44.9%、85.4%、97.2%。粉煤灰、花生殼為工農業廢棄物,來源較廣泛,價格低廉,具有良好的經濟效益和環境效益。


