公布日:2024.02.06
申請日:2023.12.11
分類號:C02F9/00(2023.01)I;C02F1/24(2023.01)N;C02F1/32(2023.01)N;C02F1/38(2023.01)N;C02F1/52(2023.01)N
摘要
本發明公開了一種多級污水處理裝置,屬于污水處理技術領域,該多級污水處理裝置方案采用創新的工作原理,具備多項顯著優勢。通過斜管和除雜室的旋流設計,有效去除大顆粒雜質,結合混流管和添加管引入絮凝劑,實現對細小顆粒的凝聚和分離,達到多層次凈化。系統能耗低效率高,曝氣管引入氣泡漂浮物協同絮凝劑浮選,降低處理過程的能耗。注重操作維護便捷性,清理口和清潔管的設計簡化設備維護。結合紫外光消毒,確保最終排放水體的衛生安全。這一方案在處理效果、能耗、操作維護等方面綜合表現卓越,是一種高效且環保可持續的污水處理解決方案。

權利要求書
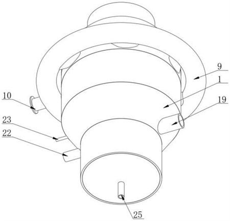
1.一種多級污水處理裝置,其特征在于,包括:殼體(1);所述殼體(1)的內壁設置有除雜室(2)、細分室(3)、沉降室(4)和中轉倉(5);若干個轉接器(8);所述轉接器(8)用于連通中轉倉(5)與細分室(3),并引導細分室(3)內水流向一側流動;若干個旋流管(12);所述旋流管(12)貫穿連通除雜室(2)和中轉倉(5),用于除雜室(2)的干凈水體抽出;環管(9);進水口(10);若干個斜管(11);所述斜管(11)呈傾斜狀態貫穿連通除雜室(2)與環管(9),進水口(10)位于環管(9)的一側設置,用于進水傳輸;集污室(16);所述集污室(16)位于細分室(3)內壁的下表面貫穿固定,且上表面與除雜室(2)的底部相連通,用于除雜室(2)和細分室(3)內的雜質匯聚;凈化套件(7);所述凈化套件(7)軸向貫穿于殼體(1)內壁,用于水體傳輸過程投放空氣和添加劑;消毒燈(23);所述消毒燈(23)位于沉降室(4)的內壁固定連接,用于凈化后的水體消毒處理。
2.根據權利要求1所述的一種多級污水處理裝置,其特征在于,所述蛋分倉(6)的內壁貫穿固定有蛋分管(13),所述蛋分倉(6)的上表面貼合設置有頂部封板(24),所述凈化套件(7)貫穿固定在頂部封板(24)的表面,所述頂部套件軸向貫穿于蛋分管(13)的內壁。
3.根據權利要求1所述的一種多級污水處理裝置,其特征在于,所述凈化套件(7)包括貫穿固定在除雜室(2)內壁且與細分室(3)連通的若干個混流管(76),若干個混流管(76)的一端共同連通有合流管(77),所述合流管(77)的底端位于沉降室(4)內,若干個混流管(76)的表面共同連通有添加管(75),所述凈化套件(7)還包括位于添加管(75)表面的曝氣管(71),所述曝氣管(71)的底端固定連接有密封罩(73),所述密封罩(73)的上表面貫穿固定有氣泡石(74),所述曝氣管(71)的底端開設有與密封罩(73)連通的通孔(72)。
4.根據權利要求1所述的一種多級污水處理裝置,其特征在于,所述轉接器(8)包括貫穿固定在除雜室(2)內壁的導向噴管(81),所述導向噴管(81)的頂端滑動設置有套管(82),所述套管(82)的頂端固定連接有密封殼(84),所述密封殼(84)的內壁設置有配重塊(83),所述密封殼(84)位于旋流管(12)的上方貼合設置。
5.根據權利要求1所述的一種多級污水處理裝置,其特征在于,所述集污室(16)的上表面開設有若干個與細分室(3)連通的第一排污口(17),所述集污室(16)的弧形側壁開設有若干個第二排污口(18),所述集污室(16)的弧形側壁固定連接有若干個緩流板(15)。
6.根據權利要求3所述的一種多級污水處理裝置,其特征在于,所述沉降室(4)的一側設置有出水口,所述沉降室(4)的內壁自下而上依次設置偶第一擋板(20)和第二擋板(21),所述第一擋板(20)固定連接在沉降室(4)的內壁,所述第二擋板(21)固定連接在合流管(77)的表面。
7.根據權利要求5所述的一種多級污水處理裝置,其特征在于,所述集污室(16)、除雜室(2)和沉降室(4)內壁的底部均為斗狀,所述沉降室(4)的內壁設置有清理口(25)。
8.根據權利要求6所述的一種多級污水處理裝置,其特征在于,所述集污室(16)內壁的下表面貫穿連通有排污管(19),所述排污管(19)貫穿固定在殼體(1)的表面,所述合流管(77)貫穿固定在排污管(19)的表面。
9.根據權利要求1所述的一種多級污水處理裝置,其特征在于,所述頂部封板(24)的表面貫穿固定有清潔管(14),所述清潔管(14)的底端位于蛋分倉(6)的底部。
發明內容
為解決上述技術問題,本發明采用技術方案的基本構思是:
一種多級污水處理裝置,包括:
殼體;
所述殼體的內壁設置有除雜室、細分室、沉降室和中轉倉;
若干個轉接器;
所述轉接器用于連通中轉倉與細分室,并引導細分室內水流向一側流動;
若干個旋流管;
所述旋流管貫穿連通除雜室和中轉倉,用于除雜室的干凈水體抽出;
環管;
進水口;
若干個斜管;
所述斜管呈傾斜狀態貫穿連通除雜室與環管,進水口位于環管的一側設置,用于進水傳輸;
集污室;
所述集污室位于細分室內壁的下表面貫穿固定,且上表面與除雜室的底部相連通,用于除雜室和細分室內的雜質匯聚;
凈化套件;
所述凈化套件軸向貫穿于殼體內壁,用于水體傳輸過程投放空氣和添加劑;
消毒燈;
所述消毒燈位于沉降室的內壁固定連接,用于凈化后的水體消毒處理。
作為本發明的進一步方案:所述蛋分倉的內壁貫穿固定有蛋分管,所述蛋分倉的上表面貼合設置有頂部封板,所述凈化套件貫穿固定在頂部封板的表面,所述頂部套件軸向貫穿于蛋分管的內壁。
作為本發明的進一步方案:所述凈化套件包括貫穿固定在除雜室內壁且與細分室連通的若干個混流管,若干個混流管的一端共同連通有合流管,所述合流管的底端位于沉降室內,若干個混流管的表面共同連通有添加管,所述凈化套件還包括位于添加管表面的曝氣管,所述曝氣管的底端固定連接有密封罩,所述密封罩的上表面貫穿固定有氣泡石,所述曝氣管的底端開設有與密封罩連通的通孔。
作為本發明的進一步方案:所述轉接器包括貫穿固定在除雜室內壁的導向噴管,所述導向噴管的頂端滑動設置有套管,所述套管的頂端固定連接有密封殼,所述密封殼的內壁設置有配重塊,所述密封殼位于旋流管的上方貼合設置。
作為本發明的進一步方案:所述集污室的上表面開設有若干個與細分室連通的第一排污口,所述集污室的弧形側壁開設有若干個第二排污口,所述集污室的弧形側壁固定連接有若干個緩流板。
作為本發明的進一步方案:所述沉降室的一側設置有出水口,所述沉降室的內壁自下而上依次設置偶第一擋板和第二擋板,所述第一擋板固定連接在沉降室的內壁,所述第二擋板固定連接在合流管的表面。
作為本發明的進一步方案:所述集污室、除雜室和沉降室內壁的底部均為斗狀,所述沉降室的內壁設置有清理口。
作為本發明的進一步方案:所述集污室內壁的下表面貫穿連通有排污管,所述排污管貫穿固定在殼體的表面,所述合流管貫穿固定在排污管的表面。
作為本發明的進一步方案:所述頂部封板的表面貫穿固定有清潔管,所述清潔管的底端位于蛋分倉的底部。
有益效果:
本多級污水處理方案融合了創新的工作原理,具備多項顯著優勢。首先,通過斜管和除雜室的旋流設計,能夠高效去除污水中的大顆粒雜質,同時利用混流管和添加管引入絮凝劑,實現了對細小顆粒的凝聚和分離,使得多層次凈化效果顯著。其次,系統運行時能耗較低,通過曝氣管引入氣泡漂浮物,與絮凝劑協同作用,有效浮選污物,降低了處理過程的能耗。此外,設備設計注重操作維護便捷性,清理口和清潔管的設計使得設備的維護更加方便。最終,結合了紫外光消毒,確保最終排放水體的衛生安全。這一方案在處理效果、能耗、操作維護等方面綜合表現卓越,是一種高效且環保可持續的污水處理解決方案。
(發明人:項勇)






