公布日:2023.10.03
申請日:2023.06.15
分類號:C02F9/00(2023.01)I;C02F1/00(2023.01)I;C02F1/469(2023.01)I;C02F1/42(2023.01)I;C02F101/34(2006.01)N;C02F103/38(2006.01)N
摘要
本申請涉及一種丙烯酸丁酯廢水的處理工藝,其特征在于,包括以下步驟:S1:過濾丙烯酸丁酯廢水,得到濾后水;S2:對濾后水脫鹽濃縮處理,得到濃鹽水;S3:將濃鹽水輸送至電驅動陽離子膜裝置,分離后得到丙烯酸粗液和氫氧化鈉溶液;S4:將丙烯酸粗液通過離子交換樹脂處理后得到丙烯酸回收液;其中,所述電驅動陽離子膜裝置中的陽離子膜為復合陽離子膜;所述復合陽離子膜包括陽離子交換膜以及貼合于陽離子交換膜兩側的低電阻無紡布;所述低電阻無紡布的電導率為0.01~10S/cm。本申請具有提高丙烯酸丁酯廢水處理中離子交換過程的效果。

權利要求書
1.一種丙烯酸丁酯廢水的處理工藝,其特征在于,包括以下步驟:S1:過濾丙烯酸丁酯廢水,得到濾后水;S2:對濾后水脫鹽濃縮處理,得到濃鹽水;S3:將濃鹽水輸送至電驅動陽離子膜裝置,分離后得到丙烯酸粗液和氫氧化鈉溶液;S4:將丙烯酸粗液通過離子交換樹脂處理后得到丙烯酸回收液;其中,所述電驅動陽離子膜裝置中的陽離子膜為復合陽離子膜;所述復合陽離子膜包括陽離子交換膜以及貼合于陽離子交換膜兩側的低電阻無紡布;所述低電阻無紡布的電導率為0.01~10S/cm;所述陽離子膜和低電阻無紡布之間設置有粘結劑,所述粘結劑包括以下重量分數的組分制備得到:鹽酸多巴胺30~40份;緩沖液500~1000份;過硫酸銨30~40份;所述復合陽離子膜的制備方法包括以下步驟:步驟1:準備陽離子交換膜和低電阻無紡布;步驟2:將粘結劑配制成粘結劑溶液,并涂覆在陽離子交換膜的一側和其中一張低電阻無紡布的一側,并貼合在一起;步驟3:將陽離子交換膜與低電阻無紡布已經貼合的一面浸沒在粘結劑溶液中,浸泡4~6h,取出沖洗干凈,得到一側粘接低電阻無紡布的陽離子交換膜;步驟4:將陽離子交換膜未粘接低電阻無紡布的一側與另一張低電阻無紡布的一側涂覆粘結劑溶液,并貼合在一起;步驟5:將陽離子交換膜與低電阻無紡布貼合的一面浸沒在粘結劑溶液中,浸泡4~6h,取出沖洗干凈,烘干。
2.根據權利要求1所述的一種丙烯酸丁酯廢水的處理工藝,其特征在于,所述粘結劑中還添加有5~20重量份的羧基化多壁碳納米管。
3.根據權利要求1所述的一種丙烯酸丁酯廢水的處理工藝,其特征在于,所述復合陽離子膜還經過后處理,所述后處理為將復合陽離子膜的兩側分別單獨進入聚乙烯酰胺溶液中,每側浸泡1h,取出沖洗烘干。
4.根據權利要求1所述的一種丙烯酸丁酯廢水的處理工藝,其特征在于,所述低電阻無紡布經過預處理,所述預處理為將低電阻無紡布浸漬在0.1~0.5wt%的海藻酸鈉水溶液后,烘干。
5.根據權利要求1所述的一種丙烯酸丁酯廢水的處理工藝,其特征在于,所述低電阻無紡布的厚度控制為200~500um。
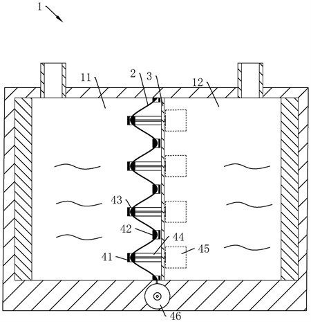
6.根據權利要求1所述的一種丙烯酸丁酯廢水的處理工藝,其特征在于,所述電驅動陽離子膜裝置包括滲析槽、陽極酸水循環罐、陰極堿水循環罐、陽離子膜、支撐膜和調節機構,所述陽離子膜設置于滲析槽內將滲析槽分為陽極槽和陰極槽,所述陽極酸水循環罐和陽極槽相連通,所述陰極堿水循環罐與陰極槽相連通;所述支撐膜設置于所述陽離子膜朝向陰極槽的一側;所述陽離子膜通過調節機構與滲析槽滑動相連,所述陽離子膜可與支撐膜通過調節機構調節形成兩種狀態,分別為打開狀態和合并狀態;所述打開狀態為:所述陽離子膜呈波浪型,所述陽離子膜的波谷與支撐膜貼合,所述陽離子膜的波峰向遠離支撐膜凸起;所述合并狀態為:所述陽離子膜與支撐膜相貼合。
7.根據權利要求6所述的一種丙烯酸丁酯廢水的處理工藝,其特征在于,所述調節機構包括與滲析槽相連的固定導向桿和滑移導向桿,所述滲析槽的槽底開設由滑動槽,所述滑移導向桿與滑動槽滑動配合,所述滑動槽內設置有用于將滑移導向桿復位在滑動槽遠離支撐膜的一端的彈性件,所述固定導向桿固定連接在滲析槽上,且固定導向桿與支撐膜貼合;所述固定導向桿和滑移導向桿上開設有用于陽離子膜滑動穿設的導向孔;所述滲析槽上設置有驅動裝置,所述陽離子膜一端與滲析槽固定相連,所述陽離子膜的另一端與驅動裝置相連。
8.根據權利要求6所述的一種丙烯酸丁酯廢水的處理工藝,其特征在于,所述陽離子膜靠近所述支撐膜的一側和遠離所述支撐膜的一側均設置有一層篩網,兩層所述篩網與陽離子膜緊密貼合。
發明內容
為了更好地有效利用和處理丙烯酸丁酯廢水,本申請提供一種丙烯酸丁酯廢水的處理工藝。
一種丙烯酸丁酯廢水的處理工藝,包括以下步驟:
S1:過濾丙烯酸丁酯廢水,得到濾后水;
S2:對濾后水脫鹽濃縮處理,得到濃鹽水;
S3:將濃鹽水輸送至電驅動陽離子膜裝置,分離后得到丙烯酸粗液和氫氧化鈉溶液;
S4:將丙烯酸粗液通過離子交換樹脂處理后得到丙烯酸回收液;
其中,所述電驅動陽離子膜裝置中的陽離子膜為復合陽離子膜;
所述復合陽離子膜包括陽離子交換膜以及貼合于陽離子交換膜兩側的低電阻無紡布;
所述低電阻無紡布的電導率為0.01~10S/cm。
丙烯酸丁酯制備工藝產生的廢水中主要的污染物為對甲苯磺酸鈉和丙烯酸鈉。本發明的廢水處理工藝首先通過步驟S1過濾去除懸浮物、顆粒和其他雜質,得到濾后水,有助于提高后續處理步驟的效果,并減少對設備的損害。其次,通過步驟S2濃縮處理,使廢水中的鹽類濃度增加,為后續的分離步驟提供更好的條件。隨后,步驟S3中濃鹽水被輸送至電驅動陽離子膜裝置,采用復合陽離子膜進行分離。復合陽離子膜是一種包含陽離子交換膜和低電阻無紡布的膜結構,可以更加有效快速且持久地進行離子分離,得到丙烯酸粗液和氫氧化鈉溶液。最后通過步驟S4離子交換樹脂處理后,從丙烯酸粗液中得到丙烯酸回收液,去除雜質,提高丙烯酸的純度,從而實現對丙烯酸的有效回收和再利用。
本發明中低電阻無紡布復合在陽離子交換膜的兩側,一方面可以大大提高陽離子交換膜的韌性和強度,提高陽離子膜的耐久性;另一方面,低電阻無紡布的復合大大降低了陽離子膜的電阻率,提高了導電能力,從而提高陽離子膜的陽離子交換能力。
低電阻無紡布的電導率控制在上述0.01~10S/cm的范圍內,不宜過高,也不宜過低。
進一步的,所述陽離子膜和低電阻無紡布之間設置有粘結劑,所述粘結劑包括以下重量分數的組分制備得到:
鹽酸多巴胺30~40份;
緩沖液500~1000份;
過硫酸銨30~40份。
鹽酸多巴胺中含有DOPA(多巴)基團,DOPA基團對于多種表面都具有粘附性能。DOPA是一種很容易被氧化的基團,DOPA氧化后會生成鄰位二醌,這種結構非常不穩定會和羥基、氨基或巰基上的活潑氫反應,也可以與相同結構的鄰位二醌基團或者DOPA基團進行化學反應形成復雜的化學鍵合。因此,鹽酸多巴胺可以較好地附著于陽離子交換膜和低電阻無紡布表面,而且多巴胺在氧化自聚合后會形成聚多巴胺,從而將低電阻無紡布和陽離子交換膜緊密結合在一起。并且聚多巴胺由于含有較多的羥基和氨基親水性基團,因此粘結劑不會使得陽離子交換膜發生通透性不好的問題,反而可以在一定程度上提高陽離子膜的流通效率。
進一步的,所述粘結劑中還添加有5~20重量份的羧基化多壁碳納米管。
粘結劑中的羧基化多壁碳納米管與多巴胺之間也具有較好的粘附性能,因此羧基化多臂碳納米管可以均勻地分散在粘結劑中。而羧基化多臂碳納米管可以提高粘結劑的導電性,降低陽離子膜的電阻,使得陽離子膜能夠更好的傳遞鈉離子。
進一步的,所述復合陽離子膜的制備方法包括以下步驟:
步驟1:準備陽離子交換膜和低電阻無紡布;
步驟2:將粘結劑配制成粘結劑溶液,并涂覆在陽離子交換膜的一側和其中一張低電阻無紡布的一側,并貼合在一起;
步驟3:將陽離子交換膜與低電阻無紡布已經貼合的一面浸沒在粘結劑溶液中,浸泡4~6h,取出沖洗干凈,得到一側粘接低電阻無紡布的陽離子交換膜;
步驟4:將陽離子交換膜未粘接低電阻無紡布的一側與另一張低電阻無紡布的一側涂覆粘結劑溶液,并貼合在一起;
步驟5:將陽離子交換膜與低電阻無紡布貼合的一面浸沒在粘結劑溶液中,浸泡4~6h,取出沖洗干凈,烘干。
進一步的,所述復合陽離子膜還經過后處理,所述后處理為將復合陽離子膜的兩側分別單獨進入聚乙烯酰胺溶液中,每側浸泡1h,取出沖洗烘干。
聚丙烯酰胺可以加速聚多巴胺的沉積過程,使得陽離子交換膜和低電阻無紡布之間的粘結過程更加快速。其次,聚乙烯酰胺與聚多巴胺之間會發生邁克爾加成反應,形成聚多巴胺和聚乙烯酰胺交聯體系,提高粘結的強度和穩定性。而且,聚丙烯酰胺可以降低聚多巴胺自身的聚合過程,使得粘結區域更加緊密,使得陽離子交換膜和低電阻無紡布之間的結合更加牢固。
進一步的,所述低電阻無紡布經過預處理,所述預處理為將低電阻無紡布浸漬在0.1~0.5wt%的海藻酸鈉水溶液后,烘干。
海藻酸鈉浸漬后的低電阻無紡布在烘干后,無紡布的表面的致密度更高,機械強度更高。而且表面更加平整光滑。
進一步的,所述低電阻無紡布的厚度控制為100~200um。
進一步的,所述電驅動陽離子膜裝置包括滲析槽、陽極酸水循環罐、陰極堿水循環罐、陽離子膜、支撐膜和調節機構,所述陽離子膜設置于滲析槽內將滲析槽分為陽極槽和陰極槽,所述陽極酸水循環罐和陽極槽相連通,所述陰極堿水循環罐與陰極槽相連通;所述支撐膜設置于所述陽離子膜朝向陰極槽的一側;
所述陽離子膜通過調節機構與滲析槽滑動相連,所述陽離子膜可與支撐膜通過調節機構調節形成兩種狀態,分別為打開狀態和合并狀態;
所述打開狀態為:所述陽離子膜呈波浪型,所述陽離子膜的波谷與支撐膜貼合,所述陽離子膜的波峰向遠離支撐膜凸起;
所述合并狀態為:所述陽離子膜與支撐膜相貼合。
本發明中的陽離子膜裝置中的陽極膜通過控制其周期性進行打開狀態和合并狀態的變換,使得鈉離子的過膜效率得到大幅度提高。陽離子膜在打開狀態下維持一段時間后,鈉離子在電驅動力和濃差驅動力的作用下,從陽極槽一側向陰極槽一側移動,陽離子膜靠近陰極槽一側的鈉離子濃度逐步增高。隨后,通過調節機構控制陽離子膜進入閉合狀態,陽離子膜從波浪狀恢復到平整狀,并且波浪狀內原本的陰極槽區域由于陽離子膜調節而變為陽極槽區域,由于陽極槽內鈉離子濃度更高,使得處于波浪狀一側原本屬于陰極槽區域的位置上的鈉離子更快向支撐膜靠近陰極槽一側擴散,從而提高了鈉離子的擴散效率。
陽離子膜通過周期性的打開狀態和合并狀態的變換,使得鈉離子的過膜效率得到較大程度的提高,從而提高了廢水的處理效率。
并且當陽離子膜上發生部分雜質附著時,通過陽離子膜的運動可以使得雜質從陽離子膜去除,大大增強了陽離子膜的耐久性。
進一步的,所述調節機構包括與滲析槽相連的固定導向桿和滑移導向桿,所述滲析槽的槽底開設由滑動槽,所述滑移導向桿與滑動槽滑動配合,所述滑動槽內設置有用于將滑移導向桿復位在滑動槽遠離支撐膜的一端的彈性件,所述固定導向桿固定連接在滲析槽上,且固定導向桿與支撐膜貼合;所述固定導向桿和滑移導向桿上開設有用于陽離子膜滑動穿設的導向孔;
所述滲析槽上設置有驅動裝置,所述陽離子膜一端與滲析槽固定相連,所述陽離子膜的另一端與驅動裝置相連。
調節機構通過驅動裝置卷對陽離子膜進行卷繞或者放松,當驅動裝置進行卷繞時,陽離子膜沿導向孔滑動,滑移導向桿在陽離子膜的帶動下移動,從而使得陽離子膜的波浪狀越來越平整,直到從打開狀態轉變為合并狀態。而當驅動裝置放松時,滑移導向桿在彈性件的回復作用下,滑移導向桿將陽離子膜從平整的狀態又轉變為波浪狀。
進一步的,所述陽離子膜靠近所述支撐膜的一側和遠離所述支撐膜的一側均設置有一層篩網,兩層所述篩網與陽離子膜緊密貼合。
在陽離子膜的兩側分別設置一層篩網有助于提高陽離子膜的強度,避免其在被拉力作用時而容易發生變形。其次,篩網具有一定的導向作用,可以在陽離子膜切換狀態的時候,使溶液對陽離子膜的作用更好地分散在膜表面,不易對膜局部發生較大的影響。
綜上所述,本發明具有以下效果:
1、通過低電阻無紡布改進電驅動陽離子膜裝置的陽離子交換膜,提高陽離子交換膜的韌性、強度和導電性,使得鈉離子更加容易通過陽離子膜,提高了離子交換效率;其次,陽離子膜的耐候性也得到提高,可以過濾分離更多的廢水,降低成本。
2、通過利用多巴胺為主的粘結劑將陽離子交換膜和低電阻無紡布復合,得到的陽離子復合膜強度和穩定性更好,并且由于聚多巴胺粘結劑的特性不易影響復合后的陽離子復合膜的膜通量以及導電性,甚至可以提高陽離子復合膜的鈉離子通過效率,提高電驅動陽離子膜裝置的效率。
3、通過在電驅動陽離子膜裝置中設置調節機構和支撐膜等結構,使得陽離子膜可以通過這些結構進行運動,對鈉離子通過陽離子膜具有一定的輔助作用,尤其是當陽離子膜上發生部分雜質附著時,通過陽離子膜的運動可以使得雜質從陽離子膜去除,大大增強了陽離子膜的耐久性,降低了成本,提高了性能。
(發明人:陳其利)






