公布日:2023.09.05
申請日:2023.06.28
分類號:C02F11/122(2019.01)I;C02F11/13(2019.01)I
摘要
本申請提出一種壓濾設備及壓濾方法,壓濾設備包括加熱壓榨組件和第一換熱器,加熱壓榨組件形成物料腔和壓榨腔,加熱壓榨組件包括彈性可變形的隔膜,物料腔和壓榨腔之間通過隔膜分隔,物料腔用于容納污泥,第一換熱器和壓榨腔連通,第一換熱器和壓榨腔之間形成第一回路,第一回路用于容納第一介質,第一介質能夠在第一回路循環流動,第一換熱器能夠加熱第一介質,以通過隔膜加熱位于物料腔的污泥,第一介質用于使壓榨腔膨脹,以通過隔膜擠壓位于物料腔的污泥。第一介質在對隔膜施壓的同時也能夠加熱隔膜,進而通過隔膜對濾餅進行壓榨和加熱,壓濾設備能夠實現壓榨和加熱的并行進行,一方面提高處理效率,另一方面簡化壓濾設備的結構。

權利要求書
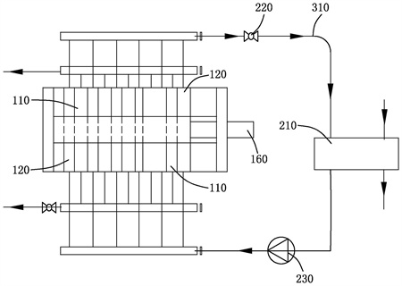
1.一種壓濾設備,其特征在于,包括:加熱壓榨組件,所述加熱壓榨組件形成物料腔和壓榨腔,所述加熱壓榨組件包括彈性可變形的隔膜,所述物料腔和所述壓榨腔之間通過所述隔膜分隔,所述物料腔用于容納污泥;第一換熱器,所述第一換熱器和所述壓榨腔連通,所述第一換熱器和所述壓榨腔之間形成第一回路,所述第一回路用于容納第一介質,所述第一介質能夠在所述第一回路循環流動,所述第一換熱器能夠加熱所述第一介質,以通過所述隔膜加熱位于所述物料腔的所述污泥,所述第一介質用于使所述壓榨腔膨脹,以通過所述隔膜擠壓位于所述物料腔的所述污泥。
2.根據權利要求1所述的壓濾設備,其特征在于,所述壓濾設備包括減壓閥和壓縮機,所述減壓閥和所述壓縮機布置在所述第一回路中,所述減壓閥位于所述第一換熱器的上游,所述壓縮機位于所述第一換熱器的下游,所述第一介質為制冷劑。
3.根據權利要求1所述的壓濾設備,其特征在于,所述壓濾設備包括第二換熱器,所述第二換熱器和所述第一換熱器之間形成第二回路,所述第二回路用于容納第二介質,所述第二介質能夠在所述第二回路循環流動,所述第二介質用于加熱所述第一介質。
4.根據權利要求3所述的壓濾設備,其特征在于,所述壓濾設備包括減壓閥和壓縮機,所述減壓閥和所述壓縮機布置在所述第二回路中,所述減壓閥位于所述第二換熱器的上游,所述壓縮機位于所述第二換熱器的下游,所述第二介質為制冷劑。
5.根據權利要求4所述的壓濾設備,其特征在于,所述壓濾設備包括壓濾泵,所述壓濾泵布置在所述第一回路,所述壓濾泵位于所述第一換熱器的下游,所述壓濾泵用于向所述壓榨腔泵送所述第一介質,所述第一介質為水。
6.根據權利要求1所述的壓濾設備,其特征在于,所述加熱壓榨組件包括以下方式中的一種:所述加熱壓榨組件包括隔膜壓濾板和多孔壓濾板,所述多孔壓濾板和所述隔膜壓濾板交替布置,所述隔膜壓濾板形成所述壓榨腔,所述多孔壓濾板和所述隔膜壓濾板之間形成所述物料腔,所述隔膜壓濾板包括所述隔膜,所述多孔壓濾板包括用于過濾濾液的多孔板;所述加熱壓榨組件包括隔膜壓濾板和覆蓋有濾布的板框,所述板框和所述隔膜壓濾板交替布置,所述隔膜壓濾板形成所述壓榨腔,所述濾布與所述隔膜壓濾板之間形成所述物料腔,所述隔膜壓濾板包括所述隔膜。
7.一種壓濾方法,其特征在于,壓濾方法使用權利要求1至6任一項所述的壓濾設備,壓濾方法包括以下步驟:向物料腔送入污泥;向壓榨腔送入經過第一換熱器加熱的第一介質,所述第一介質加熱所述壓榨腔并使所述壓榨腔膨脹,以加熱壓榨所述污泥,同時排出濾液;所述第一介質在所述壓榨腔換熱后經第一回路返回所述第一換熱器再次加熱。
8.根據權利要求7所述的壓濾方法,其特征在于,在加熱壓榨的同時或者在加熱壓榨之后,對所述物料腔抽真空,抽取所述物料腔中的水汽,所述水汽通過冷卻水冷凝后排放。
9.根據權利要求8所述的壓濾方法,其特征在于,使用冷凝換熱之后的所述冷卻水直接或間接加熱所述第一介質。
10.根據權利要求7所述的壓濾方法,其特征在于,所述第一介質在所述第一回路發生卡諾循環,第三介質通過所述第一換熱器加熱所述第一介質,第三介質為氣態或液態物質,所述第一介質對所述壓榨腔加熱加壓;或者,第二介質在第二回路發生卡諾循環,第三介質通過第二換熱器加熱第二介質,第三介質為氣態或液態物質,第二介質加熱所述第一介質,位于所述第一回路的高壓水泵對所述第一介質加壓,從而對所述壓榨腔加熱加壓。
發明內容
本申請旨在至少解決現有技術中存在的技術問題之一。為此,本申請提出一種壓濾設備及壓濾方法,壓濾設備能夠實現壓榨和加熱的并行進行,一方面提高處理效率,另一方面簡化壓濾設備的結構。
根據本申請提供的壓濾設備,包括加熱壓榨組件和第一換熱器,所述加熱壓榨組件形成物料腔和壓榨腔,所述加熱壓榨組件包括彈性可變形的隔膜,所述物料腔和所述壓榨腔之間通過所述隔膜分隔,所述物料腔用于容納污泥,所述第一換熱器和所述壓榨腔連通,所述第一換熱器和所述壓榨腔之間形成第一回路,所述第一回路用于容納第一介質,所述第一介質能夠在所述第一回路循環流動,所述第一換熱器能夠加熱所述第一介質,以通過隔膜加熱位于所述物料腔的所述污泥,所述第一介質用于使所述壓榨腔膨脹,以通過隔膜擠壓位于所述物料腔的所述污泥。
根據本申請提供的壓濾設備,至少具有如下技術效果:通過設置帶有第一換熱器的第一回路,第一換熱器加熱第一介質,使得壓榨腔內的第一介質在對隔膜施壓的同時也能夠加熱隔膜,進而通過隔膜對物料腔內的濾餅進行壓榨和加熱,壓濾設備能夠實現壓榨和加熱的并行進行,一方面提高處理效率,另一方面簡化壓濾設備的結構。
根據本申請的一些實施例,所述壓濾設備包括減壓閥和壓縮機,所述減壓閥和所述壓縮機布置在所述第一回路中,所述減壓閥位于所述第一換熱器的上游,所述壓縮機位于所述第一換熱器的下游,所述第一介質為制冷劑。
根據本申請的一些實施例,所述壓濾設備包括第二換熱器,所述第二換熱器和所述第一換熱器之間形成第二回路,所述第二回路用于容納第二介質,所述第二介質能夠在所述第二回路循環流動,所述第二介質用于加熱所述第一介質,所述第一介質為水。
根據本申請的一些實施例,所述壓濾設備包括減壓閥和壓縮機,所述減壓閥和所述壓縮機布置在所述第二回路中,所述減壓閥位于所述第二換熱器的上游,所述壓縮機位于所述第二換熱器的下游,所述第二介質為制冷劑。
根據本申請的一些實施例,所述壓濾設備包括壓濾泵,所述壓濾泵布置在所述第一回路,所述壓濾泵位于所述第一換熱器的下游,所述壓濾泵用于向所述壓榨腔泵送所述第一介質。
根據本申請的一些實施例,所述加熱壓榨組件包括以下方式中的一種:所述加熱壓榨組件包括隔膜壓濾板和多孔壓濾板,所述多孔壓濾板和所述隔膜壓濾板交替布置,所述隔膜壓濾板形成所述壓榨腔,所述多孔壓濾板和所述隔膜壓濾板之間形成所述物料腔,所述隔膜壓濾板包括所述隔膜,所述多孔壓濾板包括用于過濾濾液的多孔板;所述加熱壓榨組件包括隔膜壓濾板和覆蓋有濾布的板框,所述板框和所述隔膜壓濾板交替布置,所述隔膜壓濾板形成所述壓榨腔,所述濾布與所述隔膜壓濾板之間形成所述物料腔,所述隔膜壓濾板包括所述隔膜。
根據本申請提供的壓濾方法,使用本申請提供的壓濾設備,壓濾方法包括以下步驟:
向物料腔送入污泥;
向壓榨腔送入經過第一換熱器加熱的第一介質,所述第一介質加熱所述壓榨腔并使所述壓榨腔膨脹,以加熱壓榨所述污泥,同時排出濾液;
所述第一介質在所述壓榨腔換熱后經第一回路返回所述第一換熱器再次加熱。
根據本申請提供的壓濾方法,使用本申請提供的壓濾設備,因此相應具有前述壓濾設備所提供的有益效果,在此不再贅述。
根據本申請的一些實施例,在加熱壓榨的同時或者在加熱壓榨之后,對所述物料腔抽真空,抽取所述物料腔中的水汽,所述水汽通過冷卻水冷凝后排放。
根據本申請的一些實施例,使用冷凝換熱之后的所述冷卻水直接或間接加熱所述第一介質。
根據本申請的一些實施例,所述第一介質在所述第一回路發生卡諾循環,第三介質通過所述第一換熱器加熱所述第一介質,所述第三介質為氣態或液態物質,所述第一介質對所述壓榨腔加熱加壓;或者,第二介質在第二回路發生卡諾循環,第三介質通過第二換熱器加熱所述第二介質,所述第三介質為氣態或液態物質,所述第二介質加熱所述第一介質,位于所述第一回路的高壓水泵對所述第一介質加壓,從而對所述壓榨腔加熱加壓。
(發明人:隋軍;劉成林;李捷;曹輝)






