公布日:2024.04.02
申請日:2024.01.12
分類號:C02F9/00(2023.01)I;B01J20/10(2006.01)I;B01J20/28(2006.01)I;B01J20/30(2006.01)I;C02F1/28(2023.01)I;C02F3/32(2023.01)N;C02F1/32(2023.01)N;C02F1/
00(2023.01)N;C02F3/30(2023.01)N
摘要
本發明涉及污水處理技術領域,公開了一種農村污水處理系統,包括過濾池、生物濾池、生態濾池、凈化池和消毒池,過濾池內設有格柵裝置;生物濾池內設有填料區和曝氣管,處理腔的污水通過提升泵輸送至生物濾池;生態濾池包括兩棲植物區、水生植物區和微藻區,兩棲植物區包括第一池體和種植的兩棲植物;水生植物區包括第二池體和種植的水生植物;微藻區包括第三池體和種植的微藻,凈化池的上部設有出水口,凈化池內均勻布置有多個改性陶粒柱,消毒池內的內池壁設有多個紫外燈。本發明對進水污染負荷變化適應性強,提高污水處理穩定性,提升出水水質,以達到回用灌溉標準。

權利要求書
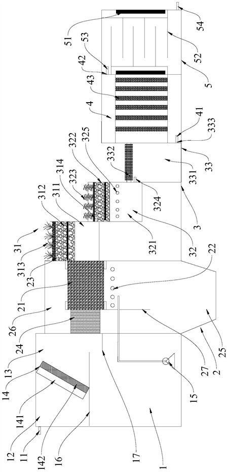
1.一種農村污水處理系統,其特征在于,包括依次連接的過濾池、生物濾池、生態濾池、凈化池和消毒池,所述過濾池的上方設有污水進水口,所述過濾池內設有將池腔分隔成污水腔與處理腔的格柵裝置;所述生物濾池內設有填料區,所述填料區的下方設有曝氣管,所述處理腔的底部的污水通過提升泵輸送至所述曝氣管的下方;所述生態濾池包括呈臺階狀向下依次設置的兩棲植物區、水生植物區和微藻區,所述兩棲植物區包括第一池體和設置在所述第一池體的上方的第一種植層,所述第一種植層種植有兩棲植物,所述第一種植層的頂面略低于所述第一池體的頂面,所述生物濾池的上部的出水口與所述第一種植層的上部連接;所述水生植物區包括第二池體和設置在所述第二池體的上方的第二種植層,所述第二種植層種植有水生植物,所述第二種植層的頂面低于所述第二池體的頂面,所述第一種植層的頂面與所述第一池體的頂面之間的間距小于所述第二種植層的頂面與所述第二池體的頂面之間的間距,所述第一池體的下部的出水口與所述第二種植層的上部連接;所述微藻區包括第三池體,所述第三池體內種植有微藻,所述第二池體的下部的出水口與所述第三池體的上部的進水口連接,所述第三池體的下部的出水口與所述凈化池的底部的進水口連接,所述凈化池內均勻布置有多個改性陶粒柱,所述凈化池的上部的出水口與所述消毒池的上部的進水口連接,所述消毒池內的內池壁均勻設有多個豎向設置的紫外燈,所述消毒池的下部設有出水口。
2.如權利要求1所述的農村污水處理系統,其特征在于,所述生物濾池內設有回流區、沉淀區和過流區,所述填料區與所述回流區并排設置,且所述回流區靠近所述過濾池的一側,所述過流區位于所述填料區與所述回流區的上方,所述沉淀區位于所述填料區與所述回流區的下方,所述填料區與所述回流區之間設有豎直設置的隔板,所述隔板向下延伸設置所述沉淀區的頂部,所述回流區填充有緩釋碳源生物填料。
3.如權利要求2所述的農村污水處理系統,其特征在于,所述填料區內填充有沸石填料,所述沸石填料的粒徑為10mm~30mm,所述填料區的高度0.8m~1.2m;所述緩釋碳源生物填料包括玉米芯、椰殼與牡蠣殼中的至少一種,所述回流區的高度為0.5m~0.7m。
4.如權利要求1所述的農村污水處理系統,其特征在于,所述兩棲植物為銅錢草、鳶尾中的至少一種,所述水生植物為金魚藻、美人蕉中的至少一種,所述微藻為小球藻;所述第一種植層和所述第二種植層均包括上層的第一碎石層和下層的第二碎石層,所述第二種植層的下方設有供氣管,所述第一碎石層上的粒徑為10cm~15cm,所述第二碎石層上的粒徑為30cm~40cm。
5.如權利要求1所述的農村污水處理系統,其特征在于,所述過濾池的中部水平設置有定位擋板,所述格柵裝置自下而上朝向遠離所述污水進水口的一側傾斜放置所述定位擋板上,所述格柵裝置的頂部與所述過濾池的頂壁連接,所述定位擋板的末端與所述過濾池的側壁之間形成過水口,所述過濾池內設有與所述定位擋板水平交錯的擋水板,所述擋水板位于所述過水口的下方,所述擋水板的面積大于所述過水口的面積;所述格柵裝置的上側設有機械格柵,所述格柵裝置的下側設有膜格柵;所述消毒池內自上而下設有多個水平交錯排列的折流板。
6.如權利要求1所述的農村污水處理系統,其特征在于,所述改性陶粒柱內的改性陶粒的制備方法包括以下步驟:步驟1、將陶粒清洗干凈后放入烘箱烘干;步驟2、將所述步驟1處理后的的陶粒加入改性溶液,并在進行超聲波處理使陶粒與改性溶液充分接觸,然后浸泡處理;其中,所述改性溶液為FeCl3和AlCl3的混合溶液,所述改性溶液的濃度為0.4mol/L~0.8mol/L,所述改性溶液按照摩爾比Fe3+:Al3+=(1~3):(1~2);步驟3,將所述步驟2處理后的陶粒瀝干放入烘箱烘干;步驟4,將所述步驟3處理后的陶粒進行高溫焙燒,冷卻后取出即得到改性陶粒。
7.如權利要求6所述的農村污水處理系統,其特征在于,所述步驟1中,采用去離子水將陶粒沖洗干凈后,在110℃的烘箱烘干。
8.如權利要求6所述的農村污水處理系統,其特征在于,所述步驟2中,通過超聲波對陶粒與改性溶液處理30min,然后浸泡24h;所述改性溶液的濃度為0.6mol/L;所述改性溶液按照摩爾比Fe3+:Al3+=1:2。
9.如權利要求6所述的農村污水處理系統,其特征在于,所述步驟3中,烘干溫度為115℃。
10.如權利要求6所述的農村污水處理系統,其特征在于,所述步驟4中,焙燒溫度為350℃~600℃,焙燒時間為3h。
發明內容
本發明的目的是提供一種農村污水處理系統,對進水污染負荷變化適應性強,提高污水處理穩定性,提升出水水質,以達到回用灌溉標準。
為了實現上述目的,本發明提供了一種農村污水處理系統,包括依次連接的過濾池、生物濾池、生態濾池、凈化池和消毒池,所述過濾池的上方設有污水進水口,所述過濾池內設有將池腔分隔成污水腔與處理腔的格柵裝置;所述生物濾池內設有填料區,所述填料區的下方設有曝氣管,所述處理腔的底部的污水通過提升泵輸送至所述曝氣管的下方;所述生態濾池包括呈臺階狀向下依次設置的兩棲植物區、水生植物區和微藻區,所述兩棲植物區包括第一池體和設置在所述第一池體的上方的第一種植層,所述第一種植層種植有兩棲植物,所述第一種植層的頂面略低于所述第一池體的頂面,所述生物濾池的上部的出水口與所述第一種植層的上部連接;所述水生植物區包括第二池體和設置在所述第二池體的上方的第二種植層,所述第二種植層種植有水生植物,所述第二種植層的頂面低于所述第二池體的頂面,所述第一種植層的頂面與所述第一池體的頂面之間的間距小于所述第二種植層的頂面與所述第二池體的頂面之間的間距,所述第一池體的下部的出水口與所述第二種植層的上部連接;所述微藻區包括第三池體,所述第三池體內種植有微藻,所述第二池體的下部的出水口與所述第三池體的上部的進水口連接,所述第三池體的下部的出水口與所述凈化池的底部的進水口連接,所述凈化池內均勻布置有多個改性陶粒柱,所述凈化池的上部的出水口與所述消毒池的上部的進水口連接,所述消毒池內的內池壁均勻設有多個豎向設置的紫外燈,所述消毒池的下部設有出水口。
作為本發明優選的方案,所述生物濾池內設有回流區、沉淀區和過流區,所述填料區與所述回流區并排設置,且所述回流區靠近所述過濾池的一側,所述過流區位于所述填料區與所述回流區的上方,所述沉淀區位于所述填料區與所述回流區的下方,所述填料區與所述回流區之間設有豎直設置的隔板,所述隔板向下延伸設置所述沉淀區的頂部,所述回流區填充有緩釋碳源生物填料。
作為本發明優選的方案,所述填料區內填充有沸石填料,所述沸石填料的粒徑為10mm~30mm,所述填料區的高度0.8m~1.2m;所述緩釋碳源生物填料包括玉米芯、椰殼與牡蠣殼中的至少一種,所述回流區的高度為0.5m~0.7m。
作為本發明優選的方案,所述兩棲植物為銅錢草、鳶尾中的至少一種,所述水生植物為金魚藻、美人蕉中的至少一種,所述微藻為小球藻;所述第一種植層和所述第二種植層均包括上層的第一碎石層和下層的第二碎石層,所述第二種植層的下方設有供氣管,所述第一碎石層上的粒徑為10cm~15cm,所述第二碎石層上的粒徑為30cm~40cm。
作為本發明優選的方案,所述過濾池的中部水平設置有定位擋板,所述格柵裝置自下而上朝向遠離所述污水進水口的一側傾斜放置所述定位擋板上,所述格柵裝置的頂部與所述過濾池的頂壁連接,所述定位擋板的末端與所述過濾池的側壁之間形成過水口,所述過濾池內設有與所述定位擋板水平交錯的擋水板,所述擋水板位于所述過水口的下方,所述擋水板的面積大于所述過水口的面積;所述格柵裝置的上側設有機械格柵,所述格柵裝置的下側設有膜格柵;所述消毒池內自上而下設有多個水平交錯排列的折流板。
作為本發明優選的方案,所述改性陶粒柱內的改性陶粒的制備方法包括以下步驟:
步驟1、將陶粒清洗干凈后放入烘箱烘干;
步驟2、將所述步驟1處理后的的陶粒加入改性溶液,并在進行超聲波處理使陶粒與改性溶液充分接觸,然后浸泡處理;其中,所述改性溶液為FeCl3和AlCl3的混合溶液,所述改性溶液的濃度為0.4mol/L~0.8mol/L,所述改性溶液按照摩爾比Fe3+:Al3+=(1~3):(1~2);
步驟3,將所述步驟2處理后的陶粒瀝干放入烘箱烘干;
步驟4,將所述步驟3處理后的陶粒進行高溫焙燒,冷卻后取出即得到改性陶粒。
作為本發明優選的方案,所述步驟1中,采用去離子水將陶粒沖洗干凈后,在110℃的烘箱烘干。
作為本發明優選的方案,所述步驟2中,通過超聲波對陶粒與改性溶液處理30min,然后浸泡24h;所述改性溶液的濃度為0.6mol/L;所述改性溶液按照摩爾比Fe3+:Al3+=1:2。
作為本發明優選的方案,所述步驟3中,烘干溫度為115℃。
作為本發明優選的方案,所述步驟4中,焙燒溫度為350℃~600℃,焙燒時間為3h。
本發明實施例一種農村污水處理系統與現有技術相比,其有益效果在于:
本發明通過過濾池能攔截污水中的固體垃圾,有效降低懸浮污染物濃度,有助于保護后續處理工序設備正常運轉以及減輕處理負荷;通過提升泵將過濾池底部的污水送入生物濾池的填料區的下方,污水自下而上流經填料區,同時曝氣管能為微生物好氧生化反應提供氧氣,在生物濾池實現反硝化脫氮,保證對污水中的有機污染物及氮磷的去除效果;生態濾池采用兩棲植物、水生植物、微藻形成的多級生態系統組合,通過兩棲植物和水生植物及兩者的根系微生物的生化降解作用實現農村污水的脫氮除磷,微藻不僅能吸收氮磷實現污水凈化,還能吸收污水中的營養物質實現生長,而且對進水污染負荷變化適應性強,提高污水處理穩定性,并且配合凈化池通過改性陶粒柱能夠強化除磷效果,再通過消毒池內的紫外燈能夠有效消毒殺菌,去除病原微生物,保證出水水質穩定,以達到回用灌溉標準。
(發明人:陳壁裕;干仕偉;周文棟;黃睦凱;譚志堅;雒懷慶;謝永新;陳益成;徐波)






