公布日:2023.10.20
申請日:2023.08.18
分類號:C02F1/40(2023.01)I;C02F1/00(2023.01)I;C02F103/16(2006.01)N
摘要
本發明公開了一種含油廢水處理裝置,涉及廢水處理技術領域。該含油廢水處理裝置包括分離箱、油泵、伸縮管、浮塊和儲油罐。油泵安裝于分離箱上,且與儲油罐連接,伸縮管的一端與油泵連接,另一端與浮塊連接,浮塊設置于分離箱內,浮塊的密度大于油的密度,且小于水的密度,分離箱用于供含油廢水通入,浮塊用于在含油廢水的浮力作用下帶動伸縮管伸長或者縮短,油泵用于通過伸縮管將含油廢水中的浮油抽離至儲油罐。與現有技術相比,本發明提供的含油廢水處理裝置由于采用了與儲油罐連接的油泵以及同時與油泵和浮塊連接的伸縮管,所以能夠方便快捷地實現油水分離,分離效率高,分離效果好,便于進行后續處理。

權利要求書
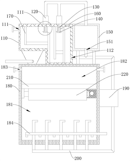
1.一種含油廢水處理裝置,其特征在于,包括分離箱、油泵、伸縮管、浮塊和儲油罐,所述油泵安裝于所述分離箱上,且與所述儲油罐連接,所述伸縮管的一端與所述油泵連接,另一端與所述浮塊連接,所述浮塊設置于所述分離箱內,所述浮塊的密度大于油的密度,且小于水的密度,所述分離箱用于供含油廢水通入,所述浮塊用于在所述含油廢水的浮力作用下帶動所述伸縮管伸長或者縮短,所述油泵用于通過所述伸縮管將所述含油廢水中的浮油抽離至所述儲油罐。
2.根據權利要求1所述的含油廢水處理裝置,其特征在于,所述伸縮管包括相互連接的波紋伸縮管段和連接管段,所述波紋伸縮管段與所述連接管段垂直,所述波紋伸縮管段與所述油泵連接,所述連接管段連接于所述浮塊的頂面,且平行于所述浮塊設置。
3.根據權利要求2所述的含油廢水處理裝置,其特征在于,所述含油廢水處理裝置還包括伸縮桿,所述伸縮桿平行于所述波紋伸縮管段設置,所述伸縮桿的一端與所述浮塊連接,另一端與所述分離箱連接,所述伸縮桿用于在所述浮塊的帶動下伸長或者縮短。
4.根據權利要求1所述的含油廢水處理裝置,其特征在于,所述含油廢水處理裝置還包括過濾組件,所述過濾組件安裝于所述分離箱內,所述過濾組件設置有過濾空腔,所述浮塊設置于所述過濾空腔內,所述過濾組件用于對所述含油廢水進行過濾,并使過濾后的所述含油廢水流入所述過濾空腔。
5.根據權利要求4所述的含油廢水處理裝置,其特征在于,所述過濾組件包括第一擋板、過濾件和第二擋板,所述第一擋板和所述第二擋板平行間隔設置,且均連接于所述分離箱內,所述過濾件連接于所述第一擋板和所述第二擋板之間,所述第一擋板、所述過濾件和所述第二擋板共同圍成所述過濾空腔,所述過濾件用于過濾所述含油廢水。
6.根據權利要求5所述的含油廢水處理裝置,其特征在于,所述過濾件包括框體、卡塊、過濾板和彈性件,所述框體開設有過濾通道和卡槽,所述過濾通道與所述過濾空腔連通,所述過濾板與所述卡槽卡接,且設置于所述過濾通道內,所述卡塊可滑動地安裝于所述框體內,所述卡塊的一端與所述彈性件連接,另一端與所述過濾板抵持,所述卡塊用于在所述彈性件的彈力作用下將所述過濾板壓持于所述卡槽內。
7.根據權利要求1所述的含油廢水處理裝置,其特征在于,所述含油廢水處理裝置還包括處理箱、水泵、出水管和處理板,所述處理板安裝于所述處理箱內,且將所述處理箱分隔形成第一空腔和第二空腔,所述水泵的一端與所述分離箱連通,另一端通過所述出水管與所述第一空腔連通,所述水泵用于將所述分離箱內所述含油廢水在除油后剩余的污水抽取至所述第一空腔,所述處理板用于對所述污水進行過濾,并使過濾后的所述污水流入所述第二空腔。
8.根據權利要求7所述的含油廢水處理裝置,其特征在于,所述出水管包括主管道、多個支管道和多個分管道,所述主管道與所述水泵連接,多個所述支管道平行間隔設置,且均與所述主管道連接,多個所述分管道平行間隔設置,且均與所述支管道連接,所述分管道伸入所述第一空腔設置。
9.根據權利要求7所述的含油廢水處理裝置,其特征在于,所述含油廢水處理裝置還包括清掃機構,所述清掃機構安裝于所述第一空腔內,所述清掃機構用于對所述處理板靠近所述第一空腔的一側進行清掃。
10.根據權利要求9所述的含油廢水處理裝置,其特征在于,所述清掃機構包括第一驅動電機、絲桿、螺母座、第二驅動電機、毛刷輥、限位座和滑軌,所述第一驅動電機安裝于所述處理箱,且與所述絲桿連接,所述螺母座套設于所述絲桿外,且與所述絲桿螺紋配合,所述第二驅動電機安裝于所述螺母座上,所述毛刷輥的一端與所述第二驅動電機連接,另一端與所述限位座轉動連接,所述限位座與所述滑軌滑動連接,所述滑軌與所述絲桿平行間隔設置,且垂直于所述毛刷輥設置,所述毛刷輥用于對所述處理板進行清掃。
發明內容
本發明的目的在于提供一種含油廢水處理裝置,能夠方便快捷地實現油水分離,分離效率高,分離效果好,便于進行后續處理。
本發明是采用以下的技術方案來實現的。
一種含油廢水處理裝置,包括分離箱、油泵、伸縮管、浮塊和儲油罐,油泵安裝于分離箱上,且與儲油罐連接,伸縮管的一端與油泵連接,另一端與浮塊連接,浮塊設置于分離箱內,浮塊的密度大于油的密度,且小于水的密度,分離箱用于供含油廢水通入,浮塊用于在含油廢水的浮力作用下帶動伸縮管伸長或者縮短,油泵用于通過伸縮管將含油廢水中的浮油抽離至儲油罐。
可選地,伸縮管包括相互連接的波紋伸縮管段和連接管段,波紋伸縮管段與連接管段垂直,波紋伸縮管段與油泵連接,連接管段連接于浮塊的頂面,且平行于浮塊設置。
可選地,含油廢水處理裝置還包括伸縮桿,伸縮桿平行于波紋伸縮管段設置,伸縮桿的一端與浮塊連接,另一端與分離箱連接,伸縮桿用于在浮塊的帶動下伸長或者縮短。
可選地,含油廢水處理裝置還包括過濾組件,過濾組件安裝于分離箱內,過濾組件設置有過濾空腔,浮塊設置于過濾空腔內,過濾組件用于對含油廢水進行過濾,并使過濾后的含油廢水流入過濾空腔。
可選地,過濾組件包括第一擋板、過濾件和第二擋板,第一擋板和第二擋板平行間隔設置,且均連接于分離箱內,過濾件連接于第一擋板和第二擋板之間,第一擋板、過濾件和第二擋板共同圍成過濾空腔,過濾件用于過濾含油廢水。
可選地,過濾件包括框體、卡塊、過濾板和彈性件,框體開設有過濾通道和卡槽,過濾通道與過濾空腔連通,過濾板與卡槽卡接,且設置于過濾通道內,卡塊可滑動地安裝于框體內,卡塊的一端與彈性件連接,另一端與過濾板抵持,卡塊用于在彈性件的彈力作用下將過濾板壓持于卡槽內。
可選地,含油廢水處理裝置還包括處理箱、水泵、出水管和處理板,處理板安裝于處理箱內,且將處理箱分隔形成第一空腔和第二空腔,水泵的一端與分離箱連通,另一端通過出水管與第一空腔連通,水泵用于將分離箱內含油廢水在除油后剩余的污水抽取至第一空腔,處理板用于對污水進行過濾,并使過濾后的污水流入第二空腔。
可選地,出水管包括主管道、多個支管道和多個分管道,主管道與水泵連接,多個支管道平行間隔設置,且均與主管道連接,多個分管道平行間隔設置,且均與支管道連接,分管道伸入第一空腔設置。
可選地,含油廢水處理裝置還包括清掃機構,清掃機構安裝于第一空腔內,清掃機構用于對處理板靠近第一空腔的一側進行清掃。
可選地,清掃機構包括第一驅動電機、絲桿、螺母座、第二驅動電機、毛刷輥、限位座和滑軌,第一驅動電機安裝于處理箱,且與絲桿連接,螺母座套設于絲桿外,且與絲桿螺紋配合,第二驅動電機安裝于螺母座上,毛刷輥的一端與第二驅動電機連接,另一端與限位座轉動連接,限位座與滑軌滑動連接,滑軌與絲桿平行間隔設置,且垂直于毛刷輥設置,毛刷輥用于對處理板進行清掃。
本發明提供的含油廢水處理裝置具有以下有益效果:
本發明提供的含油廢水處理裝置,油泵安裝于分離箱上,且與儲油罐連接,伸縮管的一端與油泵連接,另一端與浮塊連接,浮塊設置于分離箱內,浮塊的密度大于油的密度,且小于水的密度,分離箱用于供含油廢水通入,浮塊用于在含油廢水的浮力作用下帶動伸縮管伸長或者縮短,油泵用于通過伸縮管將含油廢水中的浮油抽離至儲油罐。與現有技術相比,本發明提供的含油廢水處理裝置由于采用了與儲油罐連接的油泵以及同時與油泵和浮塊連接的伸縮管,所以能夠方便快捷地實現油水分離,分離效率高,分離效果好,便于進行后續處理。
(發明人:喻珊;王思拓;傅凱文;王濤;周李恒)






