公布日:2024.04.12
申請日:2024.01.15
分類號:C02F1/40(2023.01)I;C02F1/38(2023.01)I;B01D17/12(2006.01)I;B01D17/038(2006.01)I;B01F27/90(2022.01)I;B01F35/12(2022.01)I
摘要
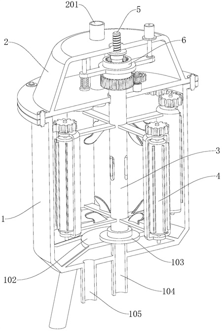
本發明涉及污水處理設備技術領域,尤其涉及一種與污水調節罐配套的旋流除油處理裝置,包括罐體,罐體頂端可拆卸連接有頂蓋,罐體底部通過支撐腳支撐固定,罐體內的底部固定設置有支撐臺,支撐臺上端固定設置有轉動座,轉動座內轉動安裝有呈中空設置的旋流中心桿,旋流中心桿外側等間隔設置有若干刮油組件,旋流中心桿內部同軸設置有排油中心桿,排油中心桿內部沿軸線方向設置有排油腔道,頂蓋內設置有控制組件,控制組件用于驅動旋流中心桿轉動以實現旋流或驅動排油中心桿升降以實現排油。本發明通過控制排油中心桿的位移距離可以調整內槽口與外槽口重疊部分的面積,從而可以根據油污層的實際厚度來調節排油速度的快慢。

權利要求書
1.一種與污水調節罐配套的旋流除油處理裝置,包括罐體(1),所述罐體(1)頂端可拆卸連接有頂蓋(2),所述罐體(1)底部通過支撐腳(101)支撐固定,其特征在于,所述罐體(1)內的底部固定設置有支撐臺(102),所述支撐臺(102)上端固定設置有轉動座(103),所述轉動座(103)內轉動安裝有呈中空設置的旋流中心桿(3),所述旋流中心桿(3)外側等間隔設置有若干刮油組件(4),所述旋流中心桿(3)內部同軸設置有排油中心桿(5),所述排油中心桿(5)內部沿軸線方向設置有排油腔道(504),所述頂蓋(2)內設置有控制組件(6),所述控制組件(6)用于驅動旋流中心桿(3)轉動以實現旋流或驅動排油中心桿(5)升降以實現排油;所述旋流中心桿(3)頂端套接設置有旋流齒輪(301),所述旋流中心桿(3)內側壁上設置有定位槽(302),所述旋流中心桿(3)外壁上貫穿設置有外槽口(303),所述排油中心桿(5)外側設置有與定位槽(302)相對應的定位塊(502),所述定位塊(502)適配滑動安裝于定位槽(302)內,所述排油中心桿(5)上貫穿設置有與外槽口(303)相對應的內槽口(503),所述內槽口(503)與外槽口(303)相交錯以形成與排油腔道(504)相連通的排油口(104),所述排油中心桿(5)頂端固定連接有升降螺桿(501);所述頂蓋(2)上貫穿設置有進污口(201),所述進污口(201)底部與罐體(1)相連通,所述支撐臺(102)底部設置有排油口(104),所述排油口(104)頂端伸入到旋流中心桿(3)內腔中,所述排油口(104)底端貫穿罐體(1)并向外伸出,所述罐體(1)底部貫通設置有排水口(105);所述控制組件(6)包括柱筒(601)、升降臺板(602)以及升降氣缸(603),所述柱筒(601)與升降臺板(602)轉動配合,所述升降臺板(602)一端固定連接有驅動軸(604),所述升降氣缸(603)固定設置在頂蓋(2)上端,所述升降氣缸(603)輸出端與驅動軸(604)相連接,所述升降臺板(602)另一端滑動貫穿設置有限位桿(6021),所述限位桿(6021)上端與頂蓋(2)固定連接,所述限位桿(6021)底端設置有擋板(6022),所述擋板(6022)與升降臺板(602)之間設置有回位彈簧(6023);所述升降臺板(602)內壁上周向設置有限位環槽(6024),所述柱筒(601)外壁上周向設置有限位環凸(6013),所述限位環凸(6013)適配滑動安裝于限位環槽(6024)內;所述柱筒(601)外壁上周向設置有外齒柱(6012),所述頂蓋(2)內固定設置有驅動電機(605),所述驅動電機(605)的輸出軸上套接設置有驅動齒輪(606),所述驅動齒輪(606)與外齒柱(6012)相嚙合,所述外齒柱(6012)的高度大于驅動齒輪(606)的厚度;所述旋流中心桿(3)穿過頂蓋(2)伸入到柱筒(601)內,所述升降螺桿(501)從旋流中心桿(3)頂端伸出,所述柱筒(601)上下兩端的內壁上均設置有內齒槽(6011),所述柱筒(601)內部設置有內螺套(608),所述升降螺桿(501)與內螺套(608)螺紋配合,所述內螺套(608)頂部轉動安裝于旋轉座(607)內,所述旋轉座(607)與頂蓋(2)固定連接,所述內螺套(608)底部套接設置有升降齒輪(6081),所述內齒槽(6011)與升降齒輪(6081)或旋流齒輪(301)相嚙合;所述刮油組件(4)包括半圓套筒(401),所述半圓套筒(401)內轉動安裝有自轉軸(402),所述自轉軸(402)頂端套接設置有自轉齒輪(403),所述罐體(1)內壁上固定設置有齒環(106),所述自轉齒輪(403)與齒環(106)相嚙合,所述自轉軸(402)外壁上設置有刮油輥(404),所述刮油輥(404)外壁上均勻設置有多個刮油刀(405),所述刮油刀(405)貼靠罐體(1)內壁設置,所述半圓套筒(401)背向罐體(1)內壁的一端通過連接桿(406)與旋流中心桿(3)固定連接。
2.根據權利要求1所述的一種與污水調節罐配套的旋流除油處理裝置,其特征在于,所述柱筒(601)上下兩端內齒槽(6011)之間的間距大于升降齒輪(6081)與旋流齒輪(301)之間的間距。
3.根據權利要求1所述的一種與污水調節罐配套的旋流除油處理裝置,其特征在于,所述半圓套筒(401)朝向罐體(1)內壁的一端呈開口設置,所述連接桿(406)上固定連接有旋流扇片(407)。
發明內容
本發明的目的在于提供一種與污水調節罐配套的旋流除油處理裝置,旨在解決上述技術問題。
本發明的目的可以通過以下技術方案實現:
一種與污水調節罐配套的旋流除油處理裝置,包括罐體,所述罐體頂端可拆卸連接有頂蓋,所述罐體底部通過支撐腳支撐固定,所述罐體內的底部固定設置有支撐臺,所述支撐臺上端固定設置有轉動座,所述轉動座內轉動安裝有呈中空設置的旋流中心桿,所述旋流中心桿外側等間隔設置有若干刮油組件,所述旋流中心桿內部同軸設置有排油中心桿,所述排油中心桿內部沿軸線方向設置有排油腔道,所述頂蓋內設置有控制組件,所述控制組件用于驅動旋流中心桿轉動以實現旋流或驅動排油中心桿升降以實現排油。
所述旋流中心桿頂端套接設置有旋流齒輪,所述旋流中心桿內側壁上設置有定位槽,所述旋流中心桿外壁上貫穿設置有外槽口,所述排油中心桿外側設置有與定位槽相對應的定位塊,所述定位塊適配滑動安裝于定位槽內,所述排油中心桿上貫穿設置有與外槽口相對應的內槽口,所述內槽口與外槽口相交錯以形成與排油腔道相連通的排油口,所述排油中心桿頂端固定連接有升降螺桿。
所述頂蓋上貫穿設置有進污口,所述進污口底部與罐體相連通,所述支撐臺底部設置有排油口,所述排油口頂端伸入到旋流中心桿內腔中,所述排油口底端貫穿罐體并向外伸出,所述罐體底部貫通設置有排水口。
作為本發明進一步的方案:所述控制組件包括柱筒、升降臺板以及升降氣缸,所述柱筒與升降臺板轉動配合,所述升降臺板一端固定連接有驅動軸,所述升降氣缸固定設置在頂蓋上端,所述升降氣缸輸出端與驅動軸相連接,所述升降臺板另一端滑動貫穿設置有限位桿,所述限位桿上端與頂蓋固定連接,所述限位桿底端設置有擋板,所述擋板與升降臺板之間設置有回位彈簧。
作為本發明進一步的方案:所述升降臺板內壁上周向設置有限位環槽,所述柱筒外壁上周向設置有限位環凸,所述限位環凸適配滑動安裝于限位環槽內。
作為本發明進一步的方案:所述柱筒外壁上周向設置有外齒柱,所述頂蓋內固定設置有驅動電機,所述驅動電機的輸出軸上套接設置有驅動齒輪,所述驅動齒輪與外齒柱相嚙合,所述外齒柱的高度大于驅動齒輪的厚度。
作為本發明進一步的方案:所述旋流中心桿穿過頂蓋伸入到柱筒內,所述升降螺桿從旋流中心桿頂端伸出,所述柱筒上下兩端的內壁上均設置有內齒槽,所述柱筒內部設置有內螺套,所述升降螺桿與內螺套螺紋配合,所述內螺套頂部轉動安裝于旋轉座內,所述旋轉座與頂蓋固定連接,所述內螺套底部套接設置有升降齒輪,所述內齒槽與升降齒輪或旋流齒輪相嚙合。
作為本發明進一步的方案:所述柱筒上下兩端內齒槽之間的間距大于升降齒輪與旋流齒輪之間的間距。
作為本發明進一步的方案:所述刮油組件包括半圓套筒,所述半圓套筒內轉動安裝有自轉軸,所述自轉軸頂端套接設置有自轉齒輪,所述罐體內壁上固定設置有齒環,所述自轉齒輪與齒環相嚙合,所述自轉軸外壁上設置有刮油輥,所述刮油輥外壁上均勻設置有多個刮油刀,所述刮油刀貼靠罐體內壁設置。
作為本發明進一步的方案:所述半圓套筒朝向罐體內壁的一端呈開口設置,所述半圓套筒背向罐體內壁的一端通過連接桿與旋流中心桿固定連接,所述連接桿上固定連接有旋流扇片。
本發明的有益效果:
(1)本發明利用旋流中心桿轉動以進行攪拌旋流過程,根據油水密度差的特性,利用旋流產生的離心力使得污水在旋轉過程中逐漸形成油水分層,當油水旋流分層后,控制組件能夠控制排油中心桿進行直線升降,直到將排油腔道打開,此時上層的油污層將集中從排油腔道排出,實現高效油水分離,同時可以通過控制排油中心桿的位移距離可以調整內槽口與外槽口重疊部分的面積,從而可以根據油污層的實際厚度來調節排油速度的快慢,避免因為排油速度太慢而導致排油效率低或因為排油速度太快而導致油水分層紊流影響分離效果。
(2)本發明通過設置控制組件,利用柱筒的上下位移實現旋流過程與排油過程的靈活切換,當下端的內齒槽與旋流齒輪相嚙合時,柱筒將帶動旋流中心桿轉動,以實現攪拌旋流,當柱筒向上位移直到上端的內齒槽與升降齒輪相嚙合時,此時柱筒將帶動內螺套轉動,內螺套在轉動過程中將促使升降螺桿相對于旋流中心桿發生位移,從而使得排油中心桿在旋流中心桿內滑動,直到內槽口與外槽口相互交錯以形成連接通口,此時油污層將會流通到排油腔道中排出,以實現排油過程。
(3)本發明過設置刮油組件,在旋流攪拌過程中,旋流中心桿通過連接桿帶動半圓套筒進行周向轉動,連接桿上的旋流扇片能夠有利于形成旋流,半圓套筒在圍繞旋流中心桿進行公轉的同時,還將帶動刮油輥圍繞自轉軸實現自轉,刮油輥在轉動過程中,刮油刀能夠對附著在罐體內壁上的油污進行刮除清理,避免油污殘留,提高了油水分離效果。
(發明人:馬忠偉)






