公布日:2023.09.29
申請日:2023.07.28
分類號:B30B9/22(2006.01)I;B30B9/24(2006.01)I;B30B9/26(2006.01)I;B30B15/00(2006.01)I;C02F11/123(2019.01)I
摘要
本發明涉及壓泥機技術領域,尤其涉及塑料行業專用壓泥機。其技術方案包括:壓泥機本體、連接罩、轉軸、支撐架和濾布,所述壓泥機本體一側外壁安裝有連接罩,所述連接罩兩側外壁均開設有走料口,所述連接罩內壁下端一側轉動安裝有轉軸,所述連接罩內壁下端一側插接安裝有等距平行分布的進液管,所述連接罩內壁上下兩側均安裝有支撐架,所述支撐架內部對稱開設有活動孔,所述活動孔內部活動安裝有連接桿,所述連接桿一端外壁安裝有卡套,通過設置擠壓輥、噴頭和攪拌桿,達到了對濾布進行清潔的效果,使濾布外壁的殘存污泥脫落,且攪使濾布內部的水分排出,保證濾布的干燥性,保證濾布的清潔性。

權利要求書
1.塑料行業專用壓泥機,包括壓泥機本體(1)、連接罩(2)、轉軸(3)、支撐架(4)和濾布(12),其特征在于:所述壓泥機本體(1)一側外壁安裝有連接罩(2),所述連接罩(2)兩側外壁均開設有走料口(21),所述連接罩(2)內壁下端一側轉動安裝有轉軸(3),所述連接罩(2)內壁下端一側插接安裝有等距平行分布的進液管(25),所述連接罩(2)內壁上下兩側均安裝有支撐架(4),所述支撐架(4)內部對稱開設有活動孔(41),所述活動孔(41)內部活動安裝有連接桿(42),所述連接桿(42)一端外壁安裝有卡套(43)。
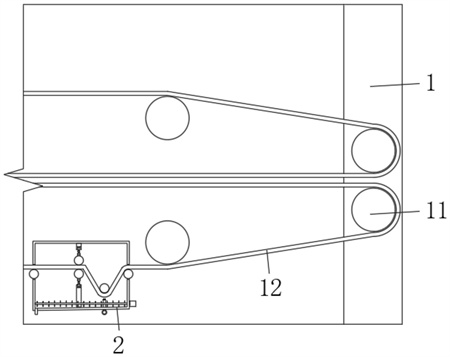
2.根據權利要求1所述的塑料行業專用壓泥機,其特征在于:所述壓泥機本體(1)外壁安裝有等距平行分布的傳動輥(11),所述傳動輥(11)外壁設置有濾布(12),所述傳動輥(11)能夠驅動濾布(12)發生移動,從而通過濾布(12)能夠通過擠壓對泥漿進行擠壓過濾,使泥漿內部的水分通過濾布(12)排出。
3.根據權利要求1所述的塑料行業專用壓泥機,其特征在于:所述走料口(21)內壁一側轉動安裝有第一導向輥(22),所述第一導向輥(22)與濾布(12)外壁相接觸,所述第一導向輥(22)保證濾布(12)在走料口(21)內部的移動流暢性。
4.根據權利要求1所述的塑料行業專用壓泥機,其特征在于:所述連接罩(2)內壁一側轉動安裝有第二導向輥(23),所述濾布(12)位于第二導向輥(23)外壁,且第二導向輥(23)能夠對濾布(12)的移動軌跡進行限制。
5.根據權利要求1所述的塑料行業專用壓泥機,其特征在于:所述連接罩(2)內壁下端一側插接安裝有排污管(27),所述連接罩(2)內部的污水通過排污管(27)排出,所述連接罩(2)內壁下端采用傾斜形狀設計,能夠保證連接罩(2)內部液體的排出流暢性。
6.根據權利要求1所述的塑料行業專用壓泥機,其特征在于:所述轉軸(3)貫穿連接罩(2)一端外壁設置有電機本體(32),所述電機本體(32)能夠帶動轉軸(3)發生圓周轉動;所述轉軸(3)外壁安裝有等距平行分布的攪拌桿(31),所述轉軸(3)和攪拌桿(31)能夠對連接罩(2)內部的污水進行攪拌,對污水中的泥塊進行破碎,避免污泥排出時堵塞。
7.根據權利要求1所述的塑料行業專用壓泥機,其特征在于:所述所述進液管(25)下端外壁一側插接安裝有連通管(24),所述連通管(24)與外置的水泵相連接,能夠使清洗液體加壓輸送至進液管(25)內部。
8.根據權利要求1所述的塑料行業專用壓泥機,其特征在于:所述進液管(25)上端外壁一側插接安裝有噴頭(26),所述進液管(25)顳部的清洗液體能夠通過噴頭(26)噴出,從而對濾布(12)進行沖洗。
9.根據權利要求1所述的塑料行業專用壓泥機,其特征在于:所述連接桿(42)一側外壁設置有彈簧(44),所述卡套(43)通過彈簧(44)與支撐架(4)之間彈性連接。
10.根據權利要求1所述的塑料行業專用壓泥機,其特征在于:所述卡套(43)內部轉動安裝有擠壓輥(45),所述濾布(12)位于擠壓輥(45)之間,且擠壓輥(45)能夠對濾布(12)進行擠壓,使濾布(12)內部的液體擠出。
發明內容
本發明的目的在于提供塑料行業專用壓泥機,以解決上述背景技術中提出的問題。
為實現上述目的,本發明提供如下技術方案:塑料行業專用壓泥機,包括壓泥機本體、連接罩、轉軸、支撐架和濾布,所述壓泥機本體一側外壁安裝有連接罩,所述連接罩兩側外壁均開設有走料口,所述連接罩內壁下端一側轉動安裝有轉軸,所述連接罩內壁下端一側插接安裝有等距平行分布的進液管,所述連接罩內壁上下兩側均安裝有支撐架,所述支撐架內部對稱開設有活動孔,所述活動孔內部活動安裝有連接桿,所述連接桿一端外壁安裝有卡套。
使用本技術方案中塑料行業專用壓泥機時,泥漿在濾布之間,且通過傳動輥對濾布上的泥漿進行壓濾,使污泥脫水,沖洗液體通過噴頭對濾布外壁進行沖洗,使濾布外壁的殘存污泥脫落,且攪拌桿對污水中的泥塊進行打碎,污水通過排污管排出,擠壓輥通過彈簧對濾布進行擠壓,使濾布內部的水分排出。
優選的,所述壓泥機本體外壁安裝有等距平行分布的傳動輥,所述傳動輥外壁設置有濾布,所述傳動輥能夠驅動濾布發生移動,從而通過濾布能夠通過擠壓對泥漿進行擠壓過濾,使泥漿內部的水分通過濾布排出。
優選的,所述走料口內壁一側轉動安裝有第一導向輥,所述第一導向輥與濾布外壁相接觸,所述第一導向輥保證濾布在走料口內部的移動流暢性。
優選的,所述連接罩內壁一側轉動安裝有第二導向輥,所述濾布位于第二導向輥外壁,且第二導向輥能夠對濾布的移動軌跡進行限制。
優選的,所述連接罩內壁下端一側插接安裝有排污管,所述連接罩內部的污水通過排污管排出,所述連接罩內壁下端采用傾斜形狀設計,能夠保證連接罩內部液體的排出流暢性。
優選的,所述轉軸貫穿連接罩一端外壁設置有電機本體,所述電機本體能夠帶動轉軸發生圓周轉動;
所述轉軸外壁安裝有等距平行分布的攪拌桿,所述轉軸和攪拌桿能夠對連接罩內部的污水進行攪拌,對污水中的泥塊進行破碎,避免污泥排出時堵塞。
優選的,所述所述進液管下端外壁一側插接安裝有連通管,所述連通管與外置的水泵相連接,能夠使清洗液體加壓輸送至進液管內部。
優選的,所述進液管上端外壁一側插接安裝有噴頭,所述進液管顳部的清洗液體能夠通過噴頭噴出,從而對濾布進行沖洗。
優選的,所述連接桿一側外壁設置有彈簧,所述卡套通過彈簧與支撐架之間彈性連接。
優選的,所述卡套內部轉動安裝有擠壓輥,所述濾布位于擠壓輥之間,且擠壓輥能夠對濾布進行擠壓,使濾布內部的液體擠出。
與現有技術相比,本發明的有益效果是:本發明通過設置擠壓輥、噴頭和攪拌桿,達到了對濾布進行清潔的效果,泥漿在濾布之間,且通過傳動輥對濾布上的泥漿進行壓濾,使污泥脫水,沖洗液體通過噴頭對濾布外壁進行沖洗,使濾布外壁的殘存污泥脫落,且攪拌桿對污水中的泥塊進行打碎,污水通過排污管排出,擠壓輥通過彈簧對濾布進行擠壓,使濾布內部的水分排出,保證濾布的干燥性,保證濾布的清潔性。
(發明人:張盼松)






