公布日:2023.10.27
申請日:2023.07.06
分類號:C02F1/52(2023.01)I;C02F1/00(2023.01)I;C02F1/56(2023.01)I;C02F103/18(2006.01)N
摘要
本發明公開了一種脫硫廢水預處理系統及方法,包括過濾箱以及置于過濾箱內的過濾裝置,過濾箱上分別設置有廢水進口、濾液出口及泥漿出口,其中,廢水進口位于過濾裝置的下方;泥漿出口位于廢水進口的下方;濾液出口位于過濾裝置的上方;過濾箱的頂部設置有加藥區,廢水進口與進水管相連通,泥漿出口連接有泥漿排放管,過濾裝置包括自上到下依次分布的若干過濾板,且自上到下各過濾板的孔徑逐漸增大,該系統及方法具有體積小、雜質過濾徹底以及過濾除雜效率高的特點。

權利要求書
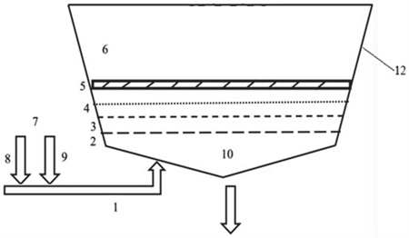
1.一種脫硫廢水預處理系統,其特征在于,包括過濾箱(12)以及置于過濾箱(12)內的過濾裝置,過濾箱(12)上分別設置有廢水進口、濾液出口及泥漿出口,其中,廢水進口位于過濾裝置的下方;泥漿出口位于廢水進口的下方;濾液出口位于過濾裝置的上方;過濾箱(12)的頂部設置有加藥區(7),廢水進口與進水管(1)相連通,泥漿出口連接有泥漿排放管(11),過濾裝置包括自上到下依次分布的若干過濾板,且自上到下各過濾板的孔徑逐漸增大。
2.根據權利要求1所述的脫硫廢水預處理系統,其特征在于,過濾裝置與過濾箱(12)的軸線相垂直,過濾裝置與過濾箱(12)的內壁接觸。
3.根據權利要求1所述的脫硫廢水預處理系統,其特征在于,過濾箱(12)內部通過過濾裝置分隔為上部的上清液區(6)以及下部的泥漿區(10),廢水進口位于泥漿區(10)的側面,濾液出口位于上清液區(6)的頂部。
4.根據權利要求1所述的脫硫廢水預處理系統,其特征在于,所述過濾裝置包括從下自上依次分布的第一過濾板(2)、第二過濾板(3)及第三過濾板(4)。
5.根據權利要求4所述的脫硫廢水預處理系統,其特征在于,所述第一過濾板(2)的過濾孔徑、第二過濾板(3)的過濾孔徑及第三過濾板(4)的過濾孔徑分別為1~2mm、0.5~0.8mm和0.2~0.3mm。
6.根據權利要求1所述的脫硫廢水預處理系統,其特征在于,還包括設置于過濾箱(12)內的斜管裝置(5);斜管裝置(5)位于過濾裝置的上方。
7.根據權利要求6所述的脫硫廢水預處理系統,其特征在于,斜管裝置(5)與過濾箱(12)的軸線相垂直,斜管裝置(5)的端部與過濾箱(12)的內壁接觸。
8.根據權利要求1所述的脫硫廢水預處理系統,其特征在于,所述加藥區(7)包括加藥槽,加藥槽的側面開設有格柵孔。
9.根據權利要求8所述的脫硫廢水預處理系統,其特征在于,還包括聚鐵加藥管(8)及聚乙烯酰胺加藥管(9);聚鐵加藥管(8)及聚乙烯酰胺加藥管(9)與加藥槽的加藥口相連通。
10.一種脫硫廢水預處理方法,其特征在于,基于權利要求1所述的脫硫廢水預處理系統,包括以下步驟:經廢水進口向過濾箱(12)內通入脫硫廢水,同時向加藥區(7)內加入藥劑,加藥區(7)中的藥劑溶解后向下流動,脫硫廢水向上流動,脫硫廢水中的雜質與藥劑發生凝聚,并沉淀富集于過濾箱(12)的底部,然后最終經泥漿出口排出,濾去雜質及污泥后的脫硫廢水經過濾裝置后作為上清液富集于過濾箱(12)的頂部,再最終經濾液出口排出。
發明內容
本發明的目的在于克服上述現有技術的缺點,提供了一種脫硫廢水預處理系統及方法,該系統及方法具有體積小、雜質過濾徹底以及過濾除雜效率高的特點。
為達到上述目的,本發明公開了一種脫硫廢水預處理系統包括過濾箱以及置于過濾箱內的過濾裝置,過濾箱上分別設置有廢水進口、濾液出口及泥漿出口,其中,廢水進口位于過濾裝置的下方;泥漿出口位于廢水進口的下方;濾液出口位于過濾裝置的上方;
過濾箱的頂部設置有加藥區,廢水進口與進水管相連通,泥漿出口連接有泥漿排放管,過濾裝置包括自上到下依次分布的若干過濾板,且自上到下各過濾板的孔徑逐漸增大。
過濾裝置與過濾箱的軸線相垂直,過濾裝置與過濾箱的內壁接觸。
過濾箱內部通過過濾裝置分隔為上部的上清液區以及下部的泥漿區,廢水進口位于泥漿區的側面,濾液出口位于上清液區的頂部。
所述過濾裝置包括從下自上依次分布的第一過濾板、第二過濾板及第三過濾板。
所述第一過濾板的過濾孔徑、第二過濾板的過濾孔徑及第三過濾板的過濾孔徑分別為1~2mm、0.5~0.8mm和0.2~0.3mm。
還包括設置于過濾箱內的斜管裝置;斜管裝置位于過濾裝置的上方。
斜管裝置與過濾箱的軸線相垂直,斜管裝置的端部與過濾箱的內壁接觸。
所述加藥區包括加藥槽,加藥槽的側面開設有格柵孔。
還包括聚鐵加藥管及聚乙烯酰胺加藥管;聚鐵加藥管及聚乙烯酰胺加藥管與加藥槽的加藥口相連通。
本發明所述的脫硫廢水預處理方法包括以下步驟:
經廢水進口向過濾箱內通入脫硫廢水,同時向加藥區內加入藥劑,加藥區中的藥劑溶解后向下流動,脫硫廢水向上流動,脫硫廢水中的雜質與藥劑發生凝聚,并沉淀富集于過濾箱的底部,然后最終經泥漿出口排出,濾去雜質及污泥后的脫硫廢水經過濾裝置后作為上清液富集于過濾箱的頂部,再最終經濾液出口排出。
本發明具有以下有益效果:
本發明所述的脫硫廢水預處理系統及方法在具體操作時,過濾箱內設置有過濾裝置,過濾裝置包括自上到下依次分布的若干過濾板,且自上到下各過濾板的孔徑逐漸增大,采用多層不同濾孔直徑的過濾板分層依次處理,避免一次性處理脫硫廢水時,濾孔發生的頻繁堵塞而導致的運行異常問題,保證過濾裝置運行順利,提高過濾除雜效率,過濾較為徹底。另外,本發明設置有加藥區,通過藥劑增加泥漿密度,促進泥漿向下沉積,縮小泥漿體積,從而減小過濾裝置的體積,節約原材料。
進一步,本發明設有斜管裝置,能夠避免分離的污泥上浮,進一步提高脫硫廢水中濾液與污泥的分離效率,減小脫硫廢水中雜質顆粒對后續水質監測準確性的影響。
(發明人:曹紅梅;王垚;吳建國;付寧;馬東森;于信波;王子闖;孫甜;戴鑫)






